TOP
|
特許
|
意匠
|
商標
特許ウォッチ
Twitter
他の特許を見る
10個以上の画像は省略されています。
公開番号
2025149016
公報種別
公開特許公報(A)
公開日
2025-10-08
出願番号
2024049440
出願日
2024-03-26
発明の名称
マウント装置及び撮像装置
出願人
富士フイルム株式会社
代理人
弁理士法人小林国際特許事務所
主分類
G03B
17/14 20210101AFI20251001BHJP(写真;映画;光波以外の波を使用する類似技術;電子写真;ホログラフイ)
要約
【課題】本発明は、質量が大きく、また、全長が長いなど、大型化したアクセサリー装置を撮像装置にマウントする場合においても、アクセサリー装置が撮像装置から引きはがされようとする力を抑制して、撮像装置へのアクセサリー装置の係合を強化することができるマウント装置及び撮像装置を提供する。
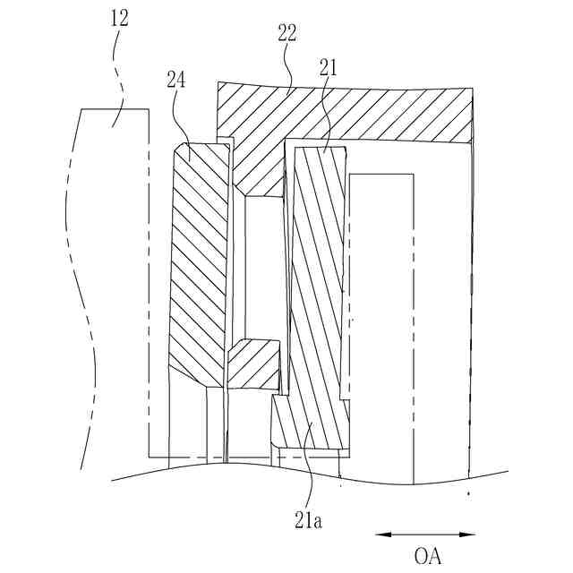
【解決手段】係止部材22は、回転可能に支持され、第1方向R1に回すと、レンズ鏡筒12と係合する第1リング部材21を、レンズ鏡筒12の光軸方向OAに押圧してレンズ鏡筒12を係止し、第2方向R2に回すと、押圧を解除する。
【選択図】図2
特許請求の範囲
【請求項1】
固定部材と、
アクセサリー装置を装着する場合に、前記アクセサリー装置と係合する第1リング部材と、
回転可能に支持され、第1方向に回すと、前記アクセサリー装置と係合する前記第1リング部材を、前記アクセサリー装置の光軸方向に押圧して前記アクセサリー装置を係止し、第2方向に回すと、前記押圧を解除する係止部材とを備えるマウント装置。
続きを表示(約 1,100 文字)
【請求項2】
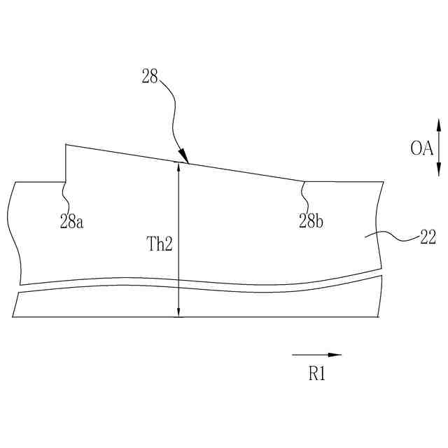
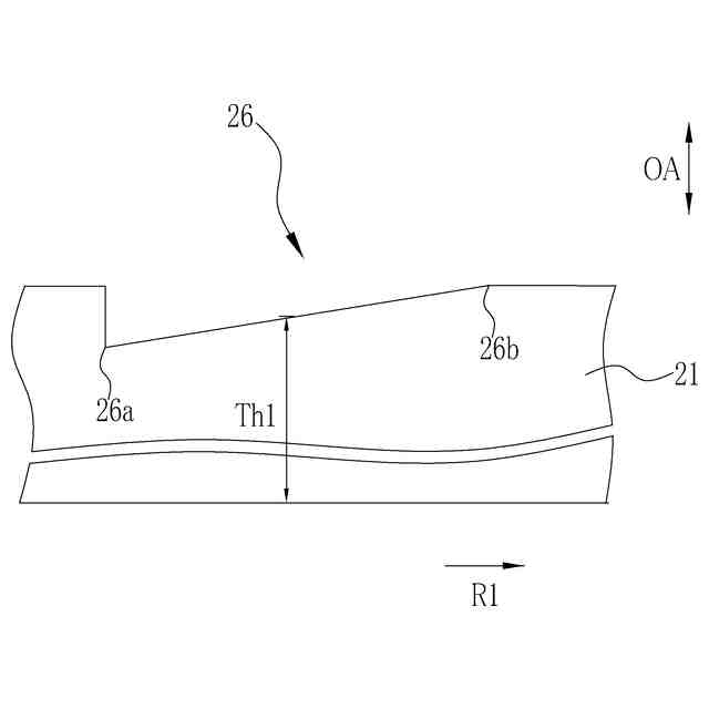
前記第1リング部材は、前記光軸方向の厚みが変化する第1斜面部を複数有し、
前記係止部材は、前記光軸方向の厚みが変化する第2斜面部を複数有し、
前記係止部材を前記第1方向に回すと、前記係止部材の径方向に沿って、前記第2斜面部が前記第1斜面部と重なることによって、前記係止部材が前記光軸方向に押圧される請求項1記載のマウント装置。
【請求項3】
前記第1斜面部及び前記第2斜面部はそれぞれ3カ所である請求項2記載のマウント装置。
【請求項4】
前記係止部材を前記第1方向に回した場合には、前記第2斜面部の始点部が、前記第1方向になるほど前記厚みが大きくなる前記第1斜面部を押圧しながら回転する請求項2記載のマウント装置。
【請求項5】
前記第1リング部材は、前記アクセサリー装置と係合する係合部を複数有し、
前記係止部材による前記第1リング部材への押圧によって、前記係合部が前記アクセサリー装置を押圧する請求項1記載のマウント装置。
【請求項6】
前記第1リング部材に係合された前記アクセサリー装置を付勢する付勢部を有し、
前記第1リング部材に設けられ、前記光軸方向の厚みが変化する複数の第1斜面部間に、前記付勢部が設けられている請求項1記載のマウント装置。
【請求項7】
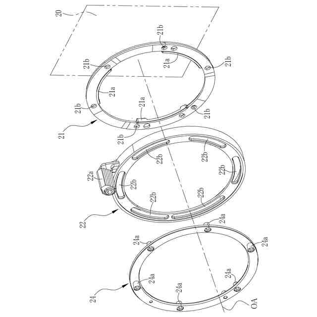
前記第1リング部材を前記光軸方向に移動可能、及び、前記係止部材を回転可能な状態で結合するための結合部を有する第2リング部材を備え、
前記第2リング部材は、締結部材で前記固定部材に締結されており、
前記第1リング部材は、前記光軸方向の厚みが、始点部から終点部にかけて変化する第1斜面部を複数有し、
前記結合部と、前記第1斜面部の終点部とのなす角度は15°以内である請求項1記載のマウント装置。
【請求項8】
前記第1リング部材を前記光軸方向に移動可能、及び、前記係止部材を回転可能な状態で結合するための結合部を有する第2リング部材を備え、
前記係止部材には、前記係止部材の径方向に沿って、前記結合部が挿通される挿通孔が形成されている請求項1ないし7のいずれか1項に記載のマウント装置。
【請求項9】
前記挿通孔は、前記係止部材の径方向のストロークが40°以内となるように、形成されている請求項8記載のマウント装置。
【請求項10】
前記光軸方向への移動が可能であり、前記アクセサリー装置に係合されるピン部材を備える請求項1ないし7のいずれか1項に記載のマウント装置。
(【請求項11】以降は省略されています)
発明の詳細な説明
【技術分野】
【0001】
本発明は、マウント装置及び撮像装置に関する。
続きを表示(約 1,300 文字)
【背景技術】
【0002】
特許文献1には、交換レンズが結合されたマウントアダプタをカメラボディに結合させる場合において、カメラボディに設けられたレンズマウントの抓み部を回動させることにより、レンズマウントのマウント爪部と、レンズマウントに取り付けられたマウントアダプタの可動筒のうち一方の端部に設けられた第1のマウント爪部とが係合することが記載されている。
【0003】
特許文献2には、レンズマウントに交換レンズを取り付ける場合において、レバーを回転させることにより、レンズマウント側のバヨネット爪部とレンズバヨネット爪部とが当接して、交換レンズがレンズマウントに対して取り付けられることが記載されている。
【0004】
特許文献3には、レンズ装置などの光学装置をカメラ4に取り付ける場合において、レンズマウントをカメラマウントに挿入し、光学装置側の押圧手段を光軸方向に移動させることにより、光学装置をカメラの被写体側面に圧接することが記載されている。
【先行技術文献】
【特許文献】
【0005】
特開2019-78902号公報
特開2015-60076号公報
特開2020-118774号公報
【発明の概要】
【発明が解決しようとする課題】
【0006】
本発明は、質量が大きく、また、全長が長いなど、大型化したアクセサリー装置を撮像装置にマウントする場合においても、アクセサリー装置が撮像装置から引きはがされようとする力を抑制して、撮像装置へのアクセサリー装置の係合を強化することができるマウント装置及び撮像装置を提供することを目的とする。
【課題を解決するための手段】
【0007】
本発明のマウント装置は、固定部材と、アクセサリー装置を装着する場合に、アクセサリー装置と係合する第1リング部材と、回転可能に支持され、第1方向に回すと、アクセサリー装置と係合する第1リング部材を、アクセサリー装置の光軸方向に押圧してアクセサリー装置を係止し、第2方向に回すと、押圧を解除する係止部材とを備える。
【0008】
第1リング部材は、光軸方向の厚みが変化する第1斜面部を複数有し、係止部材は、光軸方向の厚みが変化する第2斜面部を複数有し、係止部材を第1方向に回すと、係止部材の径方向に沿って、第2斜面部が第1斜面部と重なることによって、係止部材が光軸方向に押圧されることが好ましい。
【0009】
第1斜面部及び第2斜面部はそれぞれ3カ所であることが好ましい。係止部材を第1方向に回した場合には、第2斜面部の始点部が、第1方向になるほど厚みが大きくなる第1斜面部を押圧しながら回転することが好ましい。
【0010】
第1リング部材は、アクセサリー装置と係合する係合部を複数有し、係止部材による第1リング部材への押圧によって、係合部がアクセサリー装置を押圧することが好ましい。
(【0011】以降は省略されています)
この特許をJ-PlatPat(特許庁公式サイト)で参照する
関連特許
株式会社シグマ
絞りユニット
22日前
キヤノン株式会社
撮像装置
1か月前
キヤノン株式会社
撮像装置
21日前
キヤノン株式会社
撮像装置
15日前
平和精機工業株式会社
雲台
1か月前
日本精機株式会社
車両用投射装置
1日前
株式会社リコー
画像形成装置
3か月前
株式会社リコー
画像形成装置
29日前
株式会社リコー
画像形成装置
2か月前
株式会社リコー
画像形成装置
11日前
株式会社リコー
画像形成装置
3か月前
株式会社リコー
画像形成装置
1か月前
株式会社リコー
画像形成装置
1か月前
株式会社リコー
画像形成装置
1か月前
ブラザー工業株式会社
再生方法
1か月前
キヤノン株式会社
画像形成装置
2か月前
キヤノン株式会社
画像形成装置
2か月前
トヨタ自動車株式会社
撮像方法
3か月前
キヤノン株式会社
画像形成装置
2か月前
株式会社オプトル
プロジェクタ
14日前
キヤノン株式会社
トナー
2日前
キヤノン株式会社
トナー
1か月前
キヤノン株式会社
画像形成装置
1か月前
キヤノン株式会社
画像形成装置
1か月前
シャープ株式会社
画像形成装置
1か月前
キヤノン株式会社
画像形成装置
2か月前
キヤノン株式会社
画像形成装置
1か月前
株式会社オプトル
プロジェクタ
1か月前
キヤノン株式会社
トナー
3か月前
キヤノン株式会社
トナー
7日前
キヤノン株式会社
画像形成装置
2か月前
キヤノン株式会社
トナー
3か月前
アイホン株式会社
機器の設置構造
1か月前
スタンレー電気株式会社
照明装置
3日前
アイホン株式会社
機器の設置構造
1か月前
株式会社シグマ
絞り機構及びレンズ鏡筒
1か月前
続きを見る
他の特許を見る