TOP
|
特許
|
意匠
|
商標
特許ウォッチ
Twitter
他の特許を見る
10個以上の画像は省略されています。
公開番号
2025145611
公報種別
公開特許公報(A)
公開日
2025-10-03
出願番号
2024045888
出願日
2024-03-22
発明の名称
超音波診断装置
出願人
富士フイルム株式会社
代理人
弁理士法人YKI国際特許事務所
主分類
A61B
8/00 20060101AFI20250926BHJP(医学または獣医学;衛生学)
要約
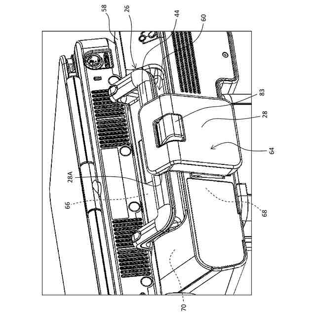
【課題】本体がカートに設置されている状況において、本体に設けられたハンドルが自由運動しないようにする。
【解決手段】カート上に本体ユニットが設置される。本体ユニットは本体と表示器とからなる。本体にはハンドル26が連結されている。カートの後部には、ハンドル固定機構64、本体固定機構66、リンク機構68及び安全機構70が設けられている。ハンドル固定機構64におけるフック部材28がグリップ44に引っ掛けられる。これによりハンドルが固定される。フック部材28の運動により本体固定機構66が作動する。
【選択図】図13
特許請求の範囲
【請求項1】
超音波画像を生成する生成器を有する本体と、
前記本体に連結され、前記本体に対して運動するハンドルと、
前記本体を支持するテーブルを有するカートと、
を含み、
前記カートは、前記テーブルに前記本体が設置された設置状態において、前記カートに対して前記ハンドルを固定するハンドル固定機構を有する、
ことを特徴とする超音波診断装置。
続きを表示(約 1,100 文字)
【請求項2】
請求項1記載の超音波診断装置において、
前記カートは、前記設置状態において前記カートに対して前記本体を固定する本体固定機構を有する、
ことを特徴とする超音波診断装置。
【請求項3】
請求項2記載の超音波診断装置において、
前記ハンドル固定機構と前記本体固定機構を連携させるリンク機構を含む、
ことを特徴とする超音波診断装置。
【請求項4】
請求項3記載の超音波診断装置において、
前記ハンドル固定機構は、前記ハンドルの固定時にユーザーによって操作される第1可動部材を有し、
前記本体固定機構は、前記本体の固定時に作用する第2可動部材を有し、
前記リンク機構は、前記第1可動部材の運動から前記第2可動部材の運動を生じさせる、
ことを特徴とする超音波診断装置。
【請求項5】
請求項4記載の超音波診断装置において、
前記第1可動部材は、前記ハンドルが有するグリップに引っ掛かって前記ハンドルを固定するフック部材を含む、
ことを特徴とする超音波診断装置。
【請求項6】
請求項5記載の超音波診断装置において、
前記ハンドルは、前記本体の後部に取り付けられており、
前記フック部材は、前記カートの後部に設けられている、
ことを特徴とする超音波診断装置。
【請求項7】
請求項4記載の超音波診断装置において、
前記本体は、第1係合部を有し、
前記第2可動部材は、前記第1係合部に係合して前記本体を固定する第2係合部を有する、
ことを特徴とする超音波診断装置。
【請求項8】
請求項7記載の超音波診断装置において、
前記第1係合部は、1又は複数の開口を含み、
前記第2係合部は、前記1又は複数の開口に挿入される1又は複数の突起を含む、
ことを特徴とする超音波診断装置。
【請求項9】
請求項1記載の超音波診断装置において、
前記本体と前記ハンドルの間に設けられ、前記ハンドルをロックするハンドルロック機構と、
前記ハンドルのロックを解除する際に操作されるノブと、
を含み、
前記カートは、前記テーブルへ前記本体を設置する際の前記本体の下降運動時に前記ノブに接触して前記ノブを操作する接触部分を有する、
ことを特徴とする超音波診断装置。
【請求項10】
請求項9記載の超音波診断装置において、
前記接触部分は、前記ノブに接触して前記ノブを押し込む斜面を有する、
を含むことを特徴とする超音波診断装置。
(【請求項11】以降は省略されています)
発明の詳細な説明
【技術分野】
【0001】
本開示は超音波診断装置に関し、特に、超音波診断器及びそれが設置されるカートからなる超音波診断装置に関する。
続きを表示(約 2,000 文字)
【背景技術】
【0002】
多くの医療機関において、手で持ち運ぶことが可能な超音波診断器(Ultrasonic diagnostic device)が活用されている。そのような可搬型の超音波診断器は、本体ユニット及び超音波プローブにより構成される。本体ユニットは、例えば、ノート型PC(Personal computer)のような形態を有している。その場合、本体ユニットは、超音波画像を生成する本体と超音波画像を表示する表示器とにより構成される。可搬型の超音波診断器は、一般に、専用カート上又は汎用テーブル上に設置された状態で使用される。可搬型の超音波診断器及びそれが設置されるカートにより、超音波診断装置(Ultrasonic diagnostic apparatus)が構成される。なお、可搬型の超音波診断器それ自体が超音波診断装置と呼ばれることもある。
【0003】
特許文献1には、超音波診断器及びカートにより構成される超音波診断装置が開示されている。本体はハンドルを有している。カートは、ハンドルの回転を利用してカートに対して本体を固定する機構を有している。特許文献1には、カートに対してハンドルを固定する機構は開示されていない。
【先行技術文献】
【特許文献】
【0004】
特開2008-23007号公報
【発明の概要】
【発明が解決しようとする課題】
【0005】
超音波診断装置において、本体はそれを搬送する際に用いられるハンドルを有する。本体がカートに設置された状況では、ハンドルの操作は不要である。そのような状況において、ハンドルの自由な運動が許容されるならば、ハンドルが他の部材(例えば表示器、超音波プローブ)に接触又は衝突するおそれや、不用意なハンドルの持ち上げによって本体をカートに固定している機構に大きな負荷がかかるおそれが生じる。
【0006】
本開示の目的は、本体がカートに設置されている状況において、本体に設けられたハンドルの自由運動を制限することにある。あるいは、本開示の目的は、カートへの本体の固定をより確実なものにすることにある。
【課題を解決するための手段】
【0007】
本開示に係る超音波診断装置は、超音波画像を生成する生成器を有する本体と、前記本体に連結され、前記本体に対して運動するハンドルと、前記本体を支持するテーブルを有するカートと、を含み、前記カートは、前記テーブルに前記本体が設置された設置状態において、前記カートに対して前記ハンドルを固定するハンドル固定機構を有する、ことを特徴とする。
【発明の効果】
【0008】
本開示によれば、本体がカートに設置されている状況において、本体に設けられたハンドルの自由運動が制限される。よって、ハンドルの自由運動に起因する問題が生じなくなる。あるいは、本開示によれば、カートへの本体の固定をより確実なものにすることができる。
【図面の簡単な説明】
【0009】
実施形態に係る超音波診断装置を示す第1の斜視図である。
実施形態に係る超音波診断装置を示す第2の斜視図である。
実施形態に係る本体ユニットを示す第1の斜視図である。
実施形態に係る本体ユニットを示す第2の斜視図である。
実施形態に係るカートを示す斜視図である。
実施形態に係るカートを示す平面図である。
本体設置過程における初期状態を示す図である。
本体設置過程における途中状態を示す図である。
ノブ及び斜面を示す斜視図である。
ノブ及び斜面を示す正面図である。
押し込まれたノブを示す図である。
ボタンを示す斜視図である。
本体設置過程における完了状態を示す図である。
カートに設けられた複数の機構を示す模式図である。
ハンドル固定状態及び本体固定状態を示す模式図である。
作動制限状態にある組立体を示す斜視図である。
作動制限解除状態にある組立体を示す斜視図である。
本体設置過程を示すフローチャートである。
本体取り外し過程を示すフローチャートである。
後方空間と待機場所を示す図である。
本体ユニットの使用状態を示す斜視図である。
本体ユニットの使用状態を示す側面図である。
ハンドルがとり得る複数の姿勢(回転角度)を示す図である。
本体ユニットの吊り下げ状態を示す図である。
ヒンジ機構の具体例を示す図である。
【発明を実施するための形態】
【0010】
以下、実施形態を図面に基づいて説明する。
(【0011】以降は省略されています)
この特許をJ-PlatPat(特許庁公式サイト)で参照する
関連特許
富士フイルム株式会社
内視鏡
1日前
富士フイルム株式会社
レンズ装置
4日前
富士フイルム株式会社
超音波診断器
今日
富士フイルム株式会社
超音波探触子
2日前
富士フイルム株式会社
超音波探触子
2日前
富士フイルム株式会社
超音波診断装置
今日
富士フイルム株式会社
超音波診断装置
今日
富士フイルム株式会社
超音波診断装置
今日
富士フイルム株式会社
超音波診断装置
今日
富士フイルム株式会社
超音波診断装置
4日前
富士フイルム株式会社
医療機器用カート
1日前
富士フイルム株式会社
ゼリーボトルハンガ
2日前
富士フイルム株式会社
配線基板の製造方法
4日前
富士フイルム株式会社
医療用X線測定装置
4日前
富士フイルム株式会社
洗浄消毒装置及び蓋部
7日前
富士フイルム株式会社
内視鏡の操作部及び内視鏡
7日前
富士フイルム株式会社
X線管およびX線検査装置
1日前
富士フイルム株式会社
ズームレンズおよび撮像装置
4日前
富士フイルム株式会社
内視鏡の操作部、及び内視鏡
7日前
富士フイルム株式会社
組成物、硬化物および光学部材
今日
富士フイルム株式会社
超音波診断装置の手押しハンドル
2日前
富士フイルム株式会社
磁気共鳴撮像装置及び画像処理方法
2日前
富士フイルム株式会社
撮影制御装置、方法およびプログラム
7日前
富士フイルム株式会社
情報処理装置、方法およびプログラム
4日前
富士フイルム株式会社
画像処理装置、方法およびプログラム
今日
富士フイルム株式会社
医用画像取得装置及び画像生成システム
8日前
富士フイルム株式会社
情報処理装置、及び情報処理プログラム
2日前
富士フイルム株式会社
情報処理装置、及び情報処理プログラム
2日前
富士フイルム株式会社
情報処理装置、及び情報処理プログラム
1日前
富士フイルム株式会社
情報処理装置、及び情報処理プログラム
2日前
富士フイルム株式会社
支援装置、支援方法、及び支援プログラム
今日
富士フイルム株式会社
放射線画像処理装置、方法およびプログラム
7日前
富士フイルム株式会社
放射線画像処理装置、方法およびプログラム
7日前
富士フイルム株式会社
磁気共鳴撮像装置及び中心周波数の補正方法
今日
富士フイルム株式会社
超音波診断装置用カートおよび超音波診断ユニット
今日
富士フイルム株式会社
超音波診断装置用カートおよび超音波診断ユニット
1日前
続きを見る
他の特許を見る