TOP
|
特許
|
意匠
|
商標
特許ウォッチ
Twitter
他の特許を見る
10個以上の画像は省略されています。
公開番号
2025145610
公報種別
公開特許公報(A)
公開日
2025-10-03
出願番号
2024045887
出願日
2024-03-22
発明の名称
超音波診断装置用カートおよび超音波診断ユニット
出願人
富士フイルム株式会社
代理人
弁理士法人YKI国際特許事務所
主分類
A61B
8/00 20060101AFI20250926BHJP(医学または獣医学;衛生学)
要約
【課題】台座の高さを容易に調整可能な超音波診断装置用カートを提供する。
【解決手段】超音波診断装置用カート12は、携帯型超音波診断装置が載せられる台座20と、台座20に接続されたハンドル32と、台座20を昇降可能に支持する支柱22と、台座20の昇降を操作するための昇降用操作部50と、支柱22を支持する複数の脚部と、脚部に配置されたキャスタとを備える。ハンドル32は、台座20の前方に配置された前ハンドル32Fと、台座20の後方に配置された後ハンドル32Rを含む。昇降用操作部50は、前ハンドル32Fの下方に配置された前方操作部50Fと、後ハンドル32Rの下方に配置された後方操作部50Rを含む。
【選択図】図5
特許請求の範囲
【請求項1】
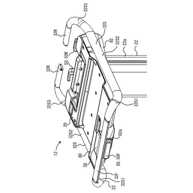
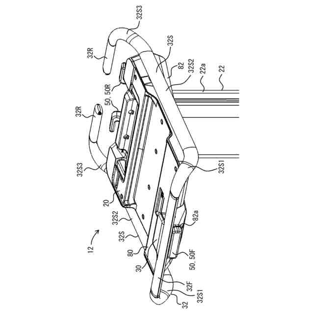
携帯型超音波診断装置が載せられる台座と、
前記台座に接続されたハンドルと、
前記台座を昇降可能に支持する支柱と、
前記台座の昇降を操作するための昇降用操作部と、
前記支柱を支持する複数の脚部と、
前記脚部に配置されたキャスタと、を備え、
前記ハンドルは、前記台座の前方に配置された前ハンドルと、前記台座の後方に配置された後ハンドルを含み、
前記昇降用操作部は、前記前ハンドルの下方に配置された前方操作部と、前記後ハンドルの下方に配置された後方操作部を含む、
ことを特徴とする超音波診断装置用カート。
続きを表示(約 1,700 文字)
【請求項2】
請求項1に記載の超音波診断装置用カートであって、
前記前方操作部は、前記前ハンドルの左右方向中央の下方に配置された押しボタンであり、
前記押しボタンの押下により、前記台座の昇降ロックが解除される、
ことを特徴とする超音波診断装置用カート。
【請求項3】
請求項2に記載の超音波診断装置用カートであって、
前記後方操作部は、前記後ハンドルの下方に配置されたレバーであり、
前記レバーの引き上げにより、前記台座の昇降ロックが解除される、
ことを特徴とする超音波診断装置用カート。
【請求項4】
請求項3に記載の超音波診断装置用カートであって、
前記レバーは、2つのレバー要素を含み、
2つの前記レバー要素は、左右方向に間隔をあけて配置されており、
2つの前記レバー要素の少なくとも1つを引き上げることで、前記台座の昇降ロックが解除される、
ことを特徴とする超音波診断装置用カート。
【請求項5】
請求項1から4のいずれか1つに記載の超音波診断装置用カートであって、
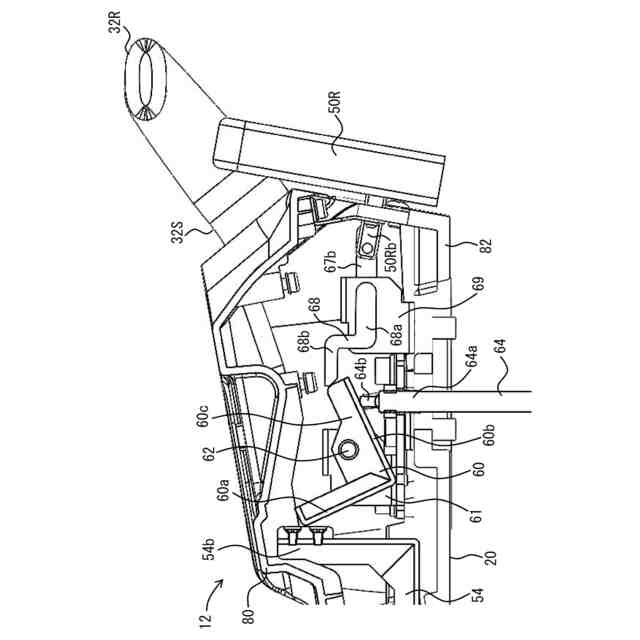
前記支柱は、前記台座が接続された上部支柱と、前記上部支柱の下方に配置された下部支柱と、それらの内部に配置されたガススプリングを含み、
前記支柱は、前記上部支柱と前記下部支柱の一方が他方の内部に挿入されることにより伸縮する構造であり、
前記ガススプリングの一端は、前記台座に固定されており、その他端は、前記下部支柱またはその下方にある支持体に固定されており、
前記ガススプリングは、ロック解除ピンを含み、
前記ガススプリングは、前記ロック解除ピンの非作動状態で、前記台座を前記下部支柱に対して固定し、
前記ガススプリングは、前記ロック解除ピンの作動状態で、前記台座の前記下部支柱に対する固定を解除して、前記台座を前記下部支柱に対して上方に付勢し、
前記前方操作部または前記後方操作部は、それが操作されることで、前記ロック解除ピンを非作動状態から作動状態に変化させる、
ことを特徴とする超音波診断装置用カート。
【請求項6】
請求項1から4のいずれか1つに記載の超音波診断装置用カートであって、
前記ハンドルは、前記台座の左方および右方に配置された側部ハンドルをさらに備え、 前記ハンドルは、前記台座の周りを囲い込むように連なっている、
ことを特徴とする超音波診断装置用カート。
【請求項7】
請求項1から4のいずれか1つに記載の超音波診断装置用カートと、
前記カートの前記台座に載せられた携帯型超音波診断装置と、を備える、
ことを特徴とする超音波診断ユニット。
【請求項8】
携帯型超音波診断装置が載せられる台座と、
前記台座に接続されたハンドルと、
前記台座を昇降可能に支持する支柱と、
前記台座の昇降を操作するための押しボタンと、
前記支柱を支持する複数の脚部と、
前記脚部に配置されたキャスタと、を備え、
前記ハンドルは、前記台座の前方に配置された前ハンドルを含み、
前記押しボタンは、前記前ハンドルの左右方向中央の下方に配置されており、
前記押しボタンの押下により、前記台座の昇降ロックが解除される、
ことを特徴とする超音波診断装置用カート。
【請求項9】
請求項8に記載の超音波診断装置用カートであって、
前記ハンドルは、前記台座の左方および右方に配置された側部ハンドルと、前記台座の後方に配置された後ハンドルをさらに備え、
前記ハンドルは、前記台座の周りを囲い込むように連なっている、
ことを特徴とする超音波診断装置用カート。
【請求項10】
請求項8または9に記載の超音波診断装置用カートと、
前記カートの前記台座に載せられた携帯型超音波診断装置と、を備える、
ことを特徴とする超音波診断ユニット。
発明の詳細な説明
【技術分野】
【0001】
本開示は、超音波診断装置用カートおよび超音波診断ユニットに関し、特に、カートの台座の高さを調整するための技術に関する。
続きを表示(約 1,300 文字)
【背景技術】
【0002】
生体の超音波検査では超音波診断装置が用いられる。超音波診断装置は、超音波の送受波により得られた受信信号に基づいて超音波画像を生成及び表示する医用装置である。代表的な超音波画像として断層画像が知られている。
【0003】
携帯型の超音波診断装置が用いられている。このような超音波診断装置は、例えばノートパソコン型を有しており、ユーザが手で持ち運ぶことができる。また、携帯型超音波診断装置は、カートに載せられて使用されることも多い。カートにノートパソコン型の携帯型超音波診断装置を載せて移動し、被検体のすぐ傍まで近づけて、超音波診断装置をカートに載せたままの状態で、超音波診断装置を開いて操作し、かつ、プローブを被検体まで延ばして被検体に超音波を送受信する。
【0004】
特許文献1~4には、超音波診断装置を着脱可能であるカート(あるいは台車とも称される)が開示されている。特許文献5には、超音波診断システムに関し、台車の支柱に中間座を設けて、そこに補助入力装置としてのタブレットコンピュータを置くことができる構成が開示されている。
【先行技術文献】
【特許文献】
【0005】
国際公開第2013/046907号
特開2012-65697号公報
特開2013-172777号公報
特開2017-192502号公報
特開2017-421号公報
【発明の概要】
【発明が解決しようとする課題】
【0006】
超音波診断装置用カートでは、台座の上に超音波診断装置が置かれる。術者は、カートにある超音波診断装置を操作する際に、台座の高さを調整したいことがある。また、カートを離れた場所に搬送する際に、台座の高さを調整したいことがある。台座の高さを容易に調整可能なカートが望まれている。
【0007】
本開示の目的は、台座の高さを容易に調整可能な超音波診断装置用カート、あるいは、超音波診断ユニットを提供することにある。
【課題を解決するための手段】
【0008】
本開示に係る超音波診断装置用カートは、携帯型超音波診断装置が載せられる台座と、前記台座に接続されたハンドルと、前記台座を昇降可能に支持する支柱と、前記台座の昇降を操作するための昇降用操作部と、前記支柱を支持する複数の脚部と、前記脚部に配置されたキャスタと、を備え、前記ハンドルは、前記台座の前方に配置された前ハンドルと、前記台座の後方に配置された後ハンドルを含み、前記昇降用操作部は、前記前ハンドルの下方に配置された前方操作部と、前記後ハンドルの下方に配置された後方操作部を含む、ことを特徴とする。
【0009】
本開示に係る超音波診断ユニットは、上記の超音波診断装置用カートと、そのカートの台座に載せられた携帯型超音波診断装置と、を備える、ことを特徴とする。
【発明の効果】
【0010】
本開示によれば、超音波診断装置用カートあるいは超音波診断ユニットにおいて、台座の高さを容易に調整することができる。
【図面の簡単な説明】
(【0011】以降は省略されています)
この特許をJ-PlatPat(特許庁公式サイト)で参照する
関連特許
富士フイルム株式会社
内視鏡
1日前
富士フイルム株式会社
超音波診断器
今日
富士フイルム株式会社
超音波診断装置
今日
富士フイルム株式会社
超音波診断装置
今日
富士フイルム株式会社
超音波診断装置
今日
富士フイルム株式会社
超音波診断装置
今日
富士フイルム株式会社
医療機器用カート
1日前
富士フイルム株式会社
X線管およびX線検査装置
1日前
富士フイルム株式会社
組成物、硬化物および光学部材
今日
富士フイルム株式会社
画像処理装置、方法およびプログラム
今日
富士フイルム株式会社
情報処理装置、及び情報処理プログラム
1日前
富士フイルム株式会社
支援装置、支援方法、及び支援プログラム
今日
富士フイルム株式会社
磁気共鳴撮像装置及び中心周波数の補正方法
今日
富士フイルム株式会社
超音波診断装置用カートおよび超音波診断ユニット
今日
富士フイルム株式会社
超音波診断装置用カートおよび超音波診断ユニット
今日
富士フイルム株式会社
画像処理装置、画像処理方法、及び画像処理プログラム
今日
富士フイルム株式会社
画像処理装置、画像処理方法、及び画像処理プログラム
今日
富士フイルム株式会社
インクジェット記録方法、メラミン化粧板の製造方法、及びメラミン化粧板
今日
富士フイルム株式会社
画像処理装置、方法およびプログラム、並びに学習装置、方法およびプログラム
今日
富士フイルム株式会社
転写フィルム、転写フィルムの製造方法、硬化層の製造方法、及び、半導体パッケージの製造方法
今日
富士フイルム株式会社
果菜植物の栽培方法、果菜植物の栽培装置及びトマト植物
今日
個人
短下肢装具
2か月前
個人
嚥下鍛錬装置
2か月前
個人
洗井間専家。
6か月前
個人
前腕誘導装置
2か月前
個人
白内障治療法
6か月前
個人
ホバーアイロン
5か月前
個人
汚れ防止シート
4日前
個人
歯の修復用材料
3か月前
個人
胸骨圧迫補助具
28日前
個人
矯正椅子
4か月前
個人
バッグ式オムツ
3か月前
個人
アイマスク装置
1か月前
個人
陣痛緩和具
2か月前
個人
哺乳瓶冷まし容器
2か月前
個人
シャンプー
5か月前
続きを見る
他の特許を見る