TOP
|
特許
|
意匠
|
商標
特許ウォッチ
Twitter
他の特許を見る
10個以上の画像は省略されています。
公開番号
2025145447
公報種別
公開特許公報(A)
公開日
2025-10-03
出願番号
2024045627
出願日
2024-03-21
発明の名称
画像処理装置、方法およびプログラム
出願人
富士フイルム株式会社
代理人
弁理士法人太陽国際特許事務所
主分類
A61B
6/03 20060101AFI20250926BHJP(医学または獣医学;衛生学)
要約
【課題】画像処理装置、方法およびプログラムにおいて、断層画像の位置を考慮して構造物の位置を精度よく導出できるようにする。
【解決手段】少なくとも1つのプロセッサを備え、プロセッサは、構造物を含み、空間的なつながりがある複数の2次元画像のそれぞれについて、導出モデルを使用して、2次元画像と交わる方向における構造物の空間的な存在範囲を規定する存在範囲情報を導出し、複数の2次元画像のそれぞれについて導出した存在範囲情報を、複数の2次元画像の空間的な位置に基づいて統合モデルを使用して統合する。
【選択図】図3
特許請求の範囲
【請求項1】
少なくとも1つのプロセッサを備え、
前記プロセッサは、
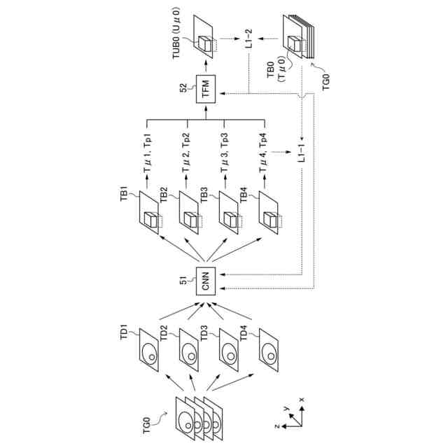
構造物を含み、空間的なつながりがある複数の2次元画像のそれぞれについて、導出モデルを使用して、前記2次元画像と交わる方向における前記構造物の空間的な存在範囲を規定する存在範囲情報を導出し、
前記複数の2次元画像のそれぞれについて導出した前記存在範囲情報を、前記複数の2次元画像の空間的な位置に基づいて統合モデルを使用して統合する画像処理装置。
続きを表示(約 950 文字)
【請求項2】
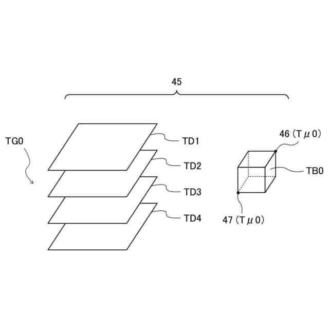
前記空間的なつながりがある複数の2次元画像は、撮影方向が同一の複数の断層画像である請求項1に記載の画像処理装置。
【請求項3】
前記空間的なつながりがある複数の2次元画像は、撮影方向が異なり、3次元的な絶対座標値を共有する複数の断層面についての断層画像である請求項1に記載の画像処理装置。
【請求項4】
前記プロセッサは、前記導出モデルを使用して、前記構造物の存在範囲を規定する3次元座標、または前記3次元座標を特定するための特徴量を前記存在範囲情報として導出し、
前記複数の2次元画像のそれぞれについて導出した前記3次元座標または前記特徴量を前記統合モデルを使用して統合する請求項1から3のいずれか1項に記載の画像処理装置。
【請求項5】
前記存在範囲情報は、前記構造物を囲む直方体を規定する複数の頂点のうちの、最も離れた位置にある2つの頂点の3次元座標である請求項1に記載の画像処理装置。
【請求項6】
前記プロセッサは、前記構造物の前記2次元画像への含まれ方に応じて、前記存在範囲情報に対して重みづけを行い、
前記重みづけされた前記存在範囲情報を前記統合モデルを使用して統合する請求項1に記載の画像処理装置。
【請求項7】
前記プロセッサは、前記2次元画像に含まれる前記構造物の存在範囲が大きいほど、前記重みづけを大きくする請求項6に記載の画像処理装置。
【請求項8】
前記プロセッサは、前記複数の2次元画像において、解剖的なつながりが大きい前記存在範囲ほど、前記重みづけを大きくする請求項6に記載の画像処理装置。
【請求項9】
前記プロセッサは、前記複数の2次元画像のそれぞれについて導出した前記存在範囲情報に基づく代表値を、前記複数の2次元画像の位置についての基準点として導出する請求項1に記載の画像処理装置。
【請求項10】
前記基準点は、前記存在範囲情報に基づいて導出される前記構造物の存在範囲の中心位置の、前記複数の2次元画像についての代表値である請求項9に記載の画像処理装置。
(【請求項11】以降は省略されています)
発明の詳細な説明
【技術分野】
【0001】
本開示は、画像処理装置、方法およびプログラムに関する。
続きを表示(約 1,500 文字)
【背景技術】
【0002】
近年、CT(Computed Tomography)装置およびMRI(Magnetic Resonance Imaging)装置等の医療機器の進歩により、より質の高い高解像度の3次元画像が画像診断に用いられるようになってきている。
【0003】
CT装置およびMRI装置等の撮影装置において被検体の撮影を行う場合、撮影範囲を決定するために、3次元画像を取得するための本撮影に先立ってスカウト撮影が行われ、2次元の位置決め用画像(スカウト画像)が取得される。技師等の撮影装置の操作者は、スカウト画像を見ながら本撮影時の撮影範囲を設定する。
【0004】
一方、スカウト画像を見ながらの撮影範囲の設定は、操作者が手動で行う必要があるため時間を要する。また、操作者の能力および経験に依存するために設定の精度にばらつきが生じる。このため、スカウト画像を構成する断層画像に含まれる臓器の3次元的な位置を推定する手法が提案されている(例えば特許文献1参照)。
【先行技術文献】
【特許文献】
【0005】
国際公開第2021/205990号
【発明の概要】
【発明が解決しようとする課題】
【0006】
特許文献1に記載された手法を用いることにより。断層画像に含まれる臓器の3次元的な位置を定めるバウンディングボックスを断層画像毎に導出し、断層画像毎に導出したバウンディングボックスの位置座標の統計値を求めることにより位置座標を統合して、最も確からしい臓器の3次元位置を特定するバウンディングボックスを得ることができる。しかしながら、特許文献1に記載された手法は、断層画像の位置を考慮していないため、統合されたバウンディングボックスの座標位置が正確でなくなる可能性がある。
【0007】
本開示は上記事情に鑑みなされたものであり、断層画像の位置を考慮して臓器等の構造物の位置を精度よく導出できるようにすることを目的とする。
【課題を解決するための手段】
【0008】
本開示による画像処理装置は、少なくとも1つのプロセッサを備え、
プロセッサは、構造物を含み、空間的なつながりがある複数の2次元画像のそれぞれについて、導出モデルを使用して、2次元画像と交わる方向における構造物の空間的な存在範囲を規定する存在範囲情報を導出し、
複数の2次元画像のそれぞれについて導出した存在範囲情報を、複数の2次元画像の空間的な位置に基づいて統合モデルを使用して統合する。
【0009】
本開示による画像処理方法は、コンピュータが、構造物を含み、空間的なつながりがある複数の2次元画像のそれぞれについて、導出モデルを使用して、2次元画像と交わる方向における構造物の空間的な存在範囲を規定する存在範囲情報を導出し、
複数の2次元画像のそれぞれについて導出した存在範囲情報を、複数の2次元画像の空間的な位置に基づいて統合モデルを使用して統合する。
【0010】
本開示による画像処理プログラムは、構造物を含み、空間的なつながりがある複数の2次元画像のそれぞれについて、導出モデルを使用して、2次元画像と交わる方向における構造物の空間的な存在範囲を規定する存在範囲情報を導出する手順と、
複数の2次元画像のそれぞれについて導出した存在範囲情報を、複数の2次元画像の空間的な位置に基づいて統合モデルを使用して統合する手順とをコンピュータに実行させる。
【発明の効果】
(【0011】以降は省略されています)
この特許をJ-PlatPat(特許庁公式サイト)で参照する
関連特許
富士フイルム株式会社
内視鏡
1日前
富士フイルム株式会社
超音波探触子
2日前
富士フイルム株式会社
超音波診断器
今日
富士フイルム株式会社
超音波診断装置
今日
富士フイルム株式会社
超音波診断装置
今日
富士フイルム株式会社
超音波診断装置
今日
富士フイルム株式会社
超音波診断装置
今日
富士フイルム株式会社
医療機器用カート
1日前
富士フイルム株式会社
ゼリーボトルハンガ
2日前
富士フイルム株式会社
X線管およびX線検査装置
1日前
富士フイルム株式会社
組成物、硬化物および光学部材
今日
富士フイルム株式会社
磁気共鳴撮像装置及び画像処理方法
2日前
富士フイルム株式会社
画像処理装置、方法およびプログラム
今日
富士フイルム株式会社
情報処理装置、及び情報処理プログラム
2日前
富士フイルム株式会社
情報処理装置、及び情報処理プログラム
2日前
富士フイルム株式会社
情報処理装置、及び情報処理プログラム
1日前
富士フイルム株式会社
情報処理装置、及び情報処理プログラム
2日前
富士フイルム株式会社
支援装置、支援方法、及び支援プログラム
今日
富士フイルム株式会社
磁気共鳴撮像装置及び中心周波数の補正方法
今日
富士フイルム株式会社
超音波診断装置用カートおよび超音波診断ユニット
1日前
富士フイルム株式会社
超音波診断装置用カートおよび超音波診断ユニット
今日
富士フイルム株式会社
超音波診断装置用カートおよび超音波診断ユニット
今日
富士フイルム株式会社
画像処理装置、画像処理方法、及び画像処理プログラム
今日
富士フイルム株式会社
画像処理装置、画像処理方法、及び画像処理プログラム
今日
富士フイルム株式会社
インクジェット記録方法、メラミン化粧板の製造方法、及びメラミン化粧板
今日
富士フイルム株式会社
画像処理装置、方法およびプログラム、並びに学習装置、方法およびプログラム
今日
富士フイルム株式会社
焦点制御装置、焦点制御装置の作動方法、焦点制御装置の作動プログラム、並びに撮像装置
2日前
富士フイルム株式会社
転写フィルム、転写フィルムの製造方法、硬化層の製造方法、及び、半導体パッケージの製造方法
今日
富士フイルム株式会社
果菜植物の栽培方法、果菜植物の栽培装置及びトマト植物
今日
個人
健康器具
7か月前
個人
鼾防止用具
7か月前
個人
歯茎みが品
8か月前
個人
短下肢装具
2か月前
個人
導電香
8か月前
個人
脈波測定方法
7か月前
個人
マッサージ機
7か月前
続きを見る
他の特許を見る