TOP
|
特許
|
意匠
|
商標
特許ウォッチ
Twitter
他の特許を見る
公開番号
2025132118
公報種別
公開特許公報(A)
公開日
2025-09-10
出願番号
2024029475
出願日
2024-02-29
発明の名称
ピストン挙動解析装置、及び、ピストン挙動解析方法
出願人
株式会社SUBARU
代理人
個人
主分類
G01M
15/06 20060101AFI20250903BHJP(測定;試験)
要約
【課題】より広い範囲(例えば下死点~上死点の間)で、より高精度にピストン挙動を解析することが可能なピストン挙動解析装置を提供する。
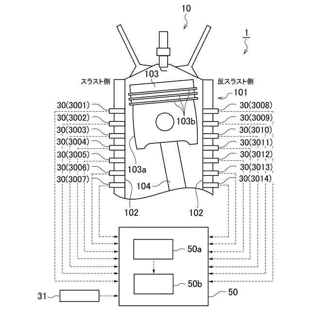
【解決手段】ピストン挙動解析装置1は、エンジン10のシリンダ102の内側面に、軸方向に沿って互いに離間して配設され、ピストン103との距離を検出する複数のギャップセンサ30と、ピストン103との距離、及び、複数のギャップセンサ30毎に予め取得されて記憶されているピストンスカート103aのプロファイルに基づいて、ピストン103の傾き(ピストン挙動)を求める解析ユニット50とを備える。解析ユニット50は、クランクアングルに応じて、用いるギャップセンサ30及びピストンスカート103aのプロファイルを切り替えるとともに、当該ピストンスカート103aのプロファイルを用いてピストン103との距離を補正し、補正後のピストン103との距離に基づいてピストン103の傾きを求める。
【選択図】 図1
特許請求の範囲
【請求項1】
エンジンのシリンダの内側面に、軸方向に沿って、所定の間隔を空けて、並べて配設され、ピストンとの距離を検出する複数のギャップセンサと、
前記複数のギャップセンサそれぞれにより検出されたピストンとの距離、及び、前記複数のギャップセンサ毎に予め取得されて記憶されているピストンスカートのプロファイルに基づいて、ピストンの傾きを含むピストン挙動を求める解析ユニットと、を備え、
前記解析ユニットは、クランクアングルに応じて、用いるギャップセンサ及びピストンスカートのプロファイルを切り替えるとともに、当該ピストンスカートのプロファイルを用いて当該ギャップセンサにより検出されたピストンとの距離を補正し、補正後のピストンとの距離に基づいて、ピストンの傾きを含むピストン挙動を求めることを特徴とするピストン挙動解析装置。
続きを表示(約 1,000 文字)
【請求項2】
前記複数のギャップセンサ毎に、ピストンが下死点から上死点に動くときに取得されたピストンスカートのプロファイル、及び、ピストンが上死点から下死点に動くときに取得されたピストンスカートのプロファイルが予め記憶されており、
前記解析ユニットは、ピストンが下死点から上死点に移動するときと、ピストンが上死点から下死点に移動するときとで、補正に用いるピストンスカートのプロファイルを持ち替えることを特徴とする請求項1に記載のピストン挙動解析装置。
【請求項3】
前記複数のギャップセンサは、スラスト側、及び、反スラスト側それぞれに、かつ、互いに対向して配設されることを特徴とする請求項2に記載のピストン挙動解析装置。
【請求項4】
前記解析ユニットは、
軸方向に隣り合う一対のギャップセンサそれぞれにより検出されたピストンとの距離、並びに、該軸方向に隣り合う一対のギャップセンサと対向して配設された軸方向に隣り合う一対のギャップセンサそれぞれにより検出されたピストンとの距離、及び、当該2対のギャップセンサにより予め取得されて記憶されているピストンスカートのプロファイルに基づいて、ピストンの傾きを含むピストン挙動を求めるとともに、
クランクアングルに応じて、用いる2対のギャップセンサを順次切り替えるとともに、クランクアングル及びピストンの移動方向に応じて、ピストンスカートのプロファイルを順次切り替える
ことを特徴とする請求項3に記載のピストン挙動解析装置。
【請求項5】
エンジンのシリンダの内側面に、軸方向に沿って、所定の間隔を空けて、並べて配設される複数のギャップセンサによりピストンとの距離を検出する検出ステップと、
前記検出ステップにおいて検出されたピストンとの距離、及び、前記複数のギャップセンサ毎に予め取得されて記憶されているピストンスカートのプロファイルに基づいて、ピストンの傾きを含むピストン挙動を求める解析ステップと、を備え、
前記解析ステップでは、クランクアングルに応じて、用いるギャップセンサ及びピストンスカートのプロファイルを切り替えるとともに、当該ピストンスカートのプロファイルを用いて当該ギャップセンサにより検出されたピストンとの距離を補正し、補正後のピストンとの距離に基づいて、ピストンの傾きを含むピストン挙動を求めることを特徴とするピストン挙動解析方法。
発明の詳細な説明
【技術分野】
【0001】
本発明は、ピストンの挙動を解析するピストン挙動解析装置、及び、ピストン挙動解析方法に関する。
続きを表示(約 2,000 文字)
【背景技術】
【0002】
エンジンでは、ピストンの往復直線運動がコネクティングロッド(以下「コンロッド」という)とクランクシャフトとにより回転運動に変換される。このようなエンジンでは、ピストンに対して、コンロッドの傾きに起因して(揺動に応じて)、ピストン側面をシリンダ内壁に押し付ける力(サイドスラスト(側圧))が作用する。
【0003】
コンロッドの傾きが圧縮上死点を境にして反転し、サイドスラスト(側圧)の作用する向きが反転することにより、ピストンの首振り現象が生じる。そして、ピストン側面がシリンダ内壁に衝突する(ピストンスラップが生じる)ことにより、ピストン打音(スラップ音)が発生する。
【0004】
ところで、ピストン打音の対策を策定する際や、その対策の効果を確認する際などに、ピストンの挙動を解析することが行われる。例えば、特許文献1には、ピストンとシリンダライナとの間のギャップをピストンの上死点側で測定するギャップセンサをシリンダブロックに取り付けて、エンジン作動時におけるピストンの挙動を解析する技術が開示されている。
【0005】
より詳細には、特許文献1に記載の技術では、ギャップセンサに対する熱の影響を小さくするため、ピストンを挟んで左右にかつ各上下一対のギャップセンサを配設し、それらセンサを、シリンダライナを外囲するように設けられたウォータジャケットを横切るように設けている。
【先行技術文献】
【特許文献】
【0006】
特開2000-329546号公報
【発明の概要】
【発明が解決しようとする課題】
【0007】
上述したように、特許文献1に記載の技術によれば、上死点付近におけるピストンの挙動を解析する際に、ギャップセンサに対する熱の影響を小さくすることができる。一方、下死点から上死点までの間で広く、かつ高精度にピストン挙動を解析しようとした場合、ギャップセンサの数を増やすことが必要となるが、それぞれのギャップセンサのばらつき(例えば特性のばらつきや取り付け位置のばらつき等)により、誤差が増大する(精度が低下する)おそれがある。また、例えば、ピストンスカートのプロファイル(形状)は必ずしも直線ではないため、誤差を増大する(精度を低下させる)要因となるおそれがある。
【0008】
本発明は、上記問題点を解消する為になされたものであり、より広い範囲(例えば下死点~上死点の間)で、より高精度にピストン挙動を解析することが可能なピストン挙動解析装置、及び、ピストン挙動解析方法を提供することを目的とする。
【課題を解決するための手段】
【0009】
本発明の一態様に係るピストン挙動解析装置は、エンジンのシリンダの内側面に、軸方向に沿って、所定の間隔を空けて、並べて配設され、ピストンとの距離を検出する複数のギャップセンサと、複数のギャップセンサそれぞれにより検出されたピストンとの距離、及び、複数のギャップセンサ毎に予め取得されて記憶されているピストンスカートのプロファイルに基づいて、ピストンの傾きを含むピストン挙動を求める解析ユニットと、を備え、解析ユニットが、クランクアングルに応じて、用いるギャップセンサ及びピストンスカートのプロファイルを切り替えるとともに、当該ピストンスカートのプロファイルを用いて当該ギャップセンサにより検出されたピストンとの距離を補正し、補正後のピストンとの距離に基づいて、ピストンの傾きを含むピストン挙動を求めることを特徴とする。
【0010】
本発明の一態様に係るピストン挙動解析装置によれば、エンジンのシリンダの内側面に、軸方向に沿って、所定の間隔を空けて、ピストンとの距離を検出する複数のギャップセンサが並べて配設されている。そのため、より広い範囲(例えば下死点~上死点の間)でピストンとの距離を検出することができる。すなわち、より広い範囲でピストン挙動を解析することができる。また、複数のギャップセンサ毎にピストンスカートのプロファイルが予め取得されて記憶されており、クランクアングル(ピストンの移動位置)に応じて、用いるギャップセンサ及びピストンスカートのプロファイルが切り替えられる。そして、当該ピストンスカートのプロファイルを用いて当該ギャップセンサにより検出されたピストンとの距離が補正され、補正後のピストンとの距離に基づいて、ピストンの傾きを含むピストン挙動が求められる。そのため、ギャップセンサの切り替え時における値飛びを改善(段差を低減)でき、ピストン挙動を高精度に解析することができる。
【発明の効果】
(【0011】以降は省略されています)
この特許をJ-PlatPat(特許庁公式サイト)で参照する
関連特許
株式会社SUBARU
車両
5日前
株式会社SUBARU
車載制御装置
3日前
株式会社SUBARU
運転支援装置
3日前
株式会社SUBARU
硫黄除去方法
5日前
株式会社SUBARU
車両用制御装置
1日前
株式会社SUBARU
車両用空調制御装置
1日前
株式会社SUBARU
ゴム組成物および防振ゴム
5日前
株式会社SUBARU
水素供給システム及び当該水素供給システムの制御装置
1日前
株式会社SUBARU
水素供給システム及び当該水素供給システムの制御装置
1日前
個人
計量スプーン
25日前
個人
微小振動検出装置
1か月前
株式会社イシダ
X線検査装置
1か月前
日本精機株式会社
位置検出装置
3日前
日本精機株式会社
位置検出装置
3日前
日本精機株式会社
位置検出装置
3日前
大和製衡株式会社
組合せ秤
8日前
大和製衡株式会社
組合せ秤
8日前
アズビル株式会社
圧力センサ
2日前
トヨタ自動車株式会社
検査装置
5日前
株式会社東芝
センサ
8日前
トヨタ自動車株式会社
表示装置
17日前
エイブリック株式会社
磁気センサ回路
2日前
株式会社東芝
センサ
1か月前
アンリツ株式会社
分光器
1か月前
株式会社東芝
センサ
8日前
アンリツ株式会社
分光器
1か月前
ダイハツ工業株式会社
測定用具
29日前
株式会社ユーシン
操作検出装置
5日前
TDK株式会社
磁気センサ
1か月前
株式会社ナリス化粧品
角層細胞採取用具
15日前
TDK株式会社
ガスセンサ
2日前
株式会社ヨコオ
コンタクタ
29日前
TDK株式会社
磁気センサ
25日前
株式会社東芝
重量測定装置
1日前
東レエンジニアリング株式会社
計量装置
5日前
個人
粘塑性を用いた有限要素法の定式化
17日前
続きを見る
他の特許を見る