TOP
|
特許
|
意匠
|
商標
特許ウォッチ
Twitter
他の特許を見る
公開番号
2025132331
公報種別
公開特許公報(A)
公開日
2025-09-10
出願番号
2024029806
出願日
2024-02-29
発明の名称
ディスクブレーキのキャリパボディ
出願人
Astemo株式会社
代理人
個人
,
個人
主分類
F16D
65/02 20060101AFI20250903BHJP(機械要素または単位;機械または装置の効果的機能を生じ維持するための一般的手段)
要約
【課題】作動液を供給する液通路の構造により、摩擦パッドの偏摩耗の抑制を図る。
【解決手段】一対の作用部3a,3bに、ディスク回出側シリンダ孔3dとディスク回入側シリンダ孔3eをそれぞれ形成し、ディスク周方向に隣り合うディスク回出側シリンダ孔3dとディスク回入側シリンダ孔3eとを液通路21,22でそれぞれ連通する。さらに、一方の作用部3aのディスク回入側シリンダ孔と3eと、他方の作用部3bのディスク回出側シリンダ孔3dとを連通する作用部間液通路23を設ける。
【選択図】図1
特許請求の範囲
【請求項1】
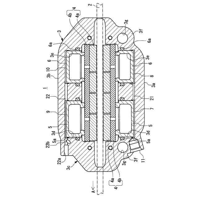
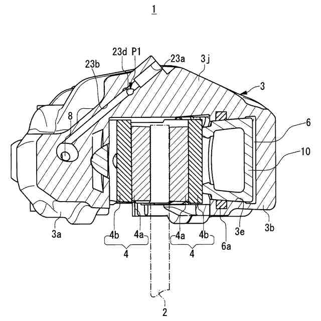
ディスクロータを挟んで配置される一対の作用部をディスクロータの外周を跨ぐブリッジ部で連結し、一対の前記作用部に複数のシリンダ孔を対向させて設け、ディスク周方向に隣り合うシリンダ孔を液通路で連通したディスクブレーキのキャリパボディにおいて、
一方の前記作用部の、車両前進時における最もディスク回入側に配置されたディスク回入側シリンダ孔と、他方の前記作用部の、車両前進時における最もディスク回出側に配置されるディスク回出側シリンダ孔とを連通させる作用部間液通路を設け、
作動液を供給するユニオン孔を、一方の前記作用部の、車両前進時における最もディスク回出側に配置されたディスク回出側シリンダ孔に連通させたことを特徴とするディスクブレーキのキャリパボディ。
続きを表示(約 430 文字)
【請求項2】
一方の前記作用部には、取付けボルトを挿通する取付孔が形成され、該取付孔に挿通した前記取付けボルトにより前記キャリパボディを車体に連結することを特徴とする請求項1記載のディスクブレーキのキャリパボディ。
【請求項3】
前記シリンダ孔は、前記ディスク回出側シリンダ孔から前記ディスク回入側シリンダ孔に向けて漸次小径に形成されることを特徴とする請求項1記載のディスクブレーキのキャリパボディ。
【請求項4】
前記ディスク回出側シリンダ孔は、前記ディスク回入側シリンダ孔よりも大径に形成されることを特徴とする請求項1記載のディスクブレーキのキャリパボディ。
【請求項5】
前記キャリパボディは、一対の前記作用部と前記ブリッジ部とを一体に形成したモノコック構造であって、前記作用部間液通路は、前記ブリッジ部に形成されることを特徴とする請求項1乃至4のいずれか1項記載のディスクブレーキのキャリパボディ。
発明の詳細な説明
【技術分野】
【0001】
本発明は、ディスクブレーキのキャリパボディに関し、詳しくは、ディスクロータを挟んで配置される一対の作用部の、車両前進時におけるディスク回出側とディスク回入側とにシリンダ孔をそれぞれ備えたディスクブレーキのキャリパボディに関する。
続きを表示(約 1,700 文字)
【背景技術】
【0002】
従来、ディスクロータを挟んで配置される一対の作用部をディスクロータの外周を跨ぐブリッジ部で連結し、各作用部のディスク回出側にディスク回出側シリンダ孔を、ディスク回入側にディスク回入側シリンダ孔をそれぞれ備えたキャリパボディでは、例えば、ディスク回出側に設けたユニオン孔と、双方の作用部のディスク回出側シリンダ孔とを連通させる液通路と、ディスク周方向に隣り合うシリンダ孔同士を連通させる液通路とを形成し、これら液通路を介して各シリンダ孔に作動液を供給するものがあった(例えば、特許文献1参照。)。
【0003】
また、キャリパボディに、双方の作用部のディスク回出側シリンダ孔を連結させる連結管を設けるとともに、ディスク周方向に隣り合うシリンダ孔同士を連通させる液通路を形成し、一方の作用部の液通路に設けたユニオン孔から、連通管と液通路とを介して各シリンダ孔に作動液を供給するものがあった(例えば、特許文献2参照。)。
【先行技術文献】
【特許文献】
【0004】
実用新案登録第2554958号公報
特許第5084753号公報
【発明の概要】
【発明が解決しようとする課題】
【0005】
上述の各特許文献のものでは、液通路や連通管が、隣接する箇所を連通するという点では合理的にキャリパボディに形成することができるが、このような構造の液通路や連通管を介して作動液を各シリンダ孔に供給して制動作用を行うと、制動時に発生するセルフサーボ効果により、ディスク回入側が摩耗過多となり偏摩耗する虞があった。
【0006】
そこで本発明は、作動液を供給する液通路の構造により、摩擦パッドの偏摩耗の抑制を図ったディスクブレーキのキャリパボディを提供することを目的としている。
【課題を解決するための手段】
【0007】
上記目的を達成するため、本発明のディスクブレーキのキャリパボディは、各作用部のディスク周方向に隣り合うシリンダ孔を液通路で連通させ、一方の作用部のディスク回入側シリンダ孔と、他方の作用部のディスク回出側シリンダ孔とを作用部間液通路で連通させ、ユニオン孔を、一方の作用部のディスク回出側シリンダ孔に連通させたことを特徴としている。
【発明の効果】
【0008】
本発明のディスクブレーキのキャリパボディによれば、制動時に、まず、ユニオン孔を介して一方の作用部のディスク回出側シリンダ孔に作動液が供給され、次いで、液通路を介して、一方の作用部のディスク回入側シリンダ孔に向けて、作動液がシリンダ孔に順に供給される。さらに、作用部間液通路を介して、一方の作用部のディスク回入側シリンダ孔から、他方の作用部のディスク回出側シリンダ孔に向けて作動液が供給され、次いで、液通路を介して、他方の作用部のディスク回入側シリンダ孔に向けて、作動液がシリンダ孔に順に供給される。
【0009】
これにより、各作用部において、ディスク回出側のピストンが、ディスク回入側のピストンに比べて早いタイミングでディスクロータ側に作動し始める。これに伴って、ピストンが摩擦パッドをディスクロータに押圧する押圧力をディスク回出側からディスク回入側へと順に発生させることで、セルフサーボ効果によりディスク回入側が摩耗過多となるのを抑制し、摩擦パッドが偏摩耗することを抑制できる。
【図面の簡単な説明】
【0010】
本発明の一形態例を示すキャリパボディに形成された液通路の概略図である。
同じくキャリパボディの平面図である。
図2のIII-III断面図である。
図2のIV-IV断面図である。
本発明の一形態例を示すキャリパボディの正面図である。
同じくキャリパボディの背面図である。
図5のVII-VII断面図である。
【発明を実施するための形態】
(【0011】以降は省略されています)
この特許をJ-PlatPat(特許庁公式サイト)で参照する
関連特許
個人
鍋虫ねじ
1か月前
個人
回転伝達機構
1か月前
個人
紛体用仕切弁
1か月前
個人
ホース保持具
5か月前
個人
差動歯車用歯形
3か月前
個人
ジョイント
14日前
個人
地震の揺れ回避装置
2か月前
個人
ナット
15日前
株式会社不二工機
電磁弁
3か月前
株式会社不二工機
電磁弁
4か月前
個人
吐出量監視装置
1か月前
柿沼金属精機株式会社
分岐管
1か月前
カヤバ株式会社
緩衝器
2か月前
カヤバ株式会社
ダンパ
3か月前
カヤバ株式会社
ダンパ
3か月前
カヤバ株式会社
緩衝器
2か月前
株式会社ノーリツ
分配弁
4か月前
個人
固着具と固着具の固定方法
5か月前
株式会社奥村組
制振機構
4日前
株式会社ノーリツ
分配弁
4か月前
日東電工株式会社
断熱材
5か月前
株式会社奥村組
制振機構
4日前
株式会社不二工機
電磁弁
1か月前
個人
固着具と固着具の固定方法
4か月前
株式会社タカギ
水栓装置
1か月前
個人
固着具と固着具の固定方法
4か月前
株式会社ノーリツ
分配弁
4か月前
アズビル株式会社
回転弁
8日前
株式会社フジキン
ボールバルブ
3か月前
個人
固着具と固着具の固定方法
4か月前
日東精工株式会社
弾性鍔付きねじ
4か月前
井関農機株式会社
作業車両
3か月前
株式会社有恒商会
伸縮継手
2か月前
個人
ワンウェイベアリング
2か月前
太陽工業株式会社
金属板結合方法
5か月前
株式会社オンダ製作所
識別リング
2か月前
続きを見る
他の特許を見る