TOP
|
特許
|
意匠
|
商標
特許ウォッチ
Twitter
他の特許を見る
公開番号
2025134345
公報種別
公開特許公報(A)
公開日
2025-09-17
出願番号
2024032194
出願日
2024-03-04
発明の名称
冷媒循環システム
出願人
マツダ株式会社
代理人
個人
,
個人
,
個人
,
個人
,
個人
主分類
H02P
31/00 20060101AFI20250909BHJP(電力の発電,変換,配電)
要約
【課題】オイルを含有する冷媒によってモータの滑り軸受を潤滑する冷媒循環システムにおいて、モータの始動時に滑り軸受の負荷能力を確保する。
【解決手段】CO
2
にオイルを含有させた冷媒を循環する冷媒循環システム100は、コンプレッサ3により圧縮された冷媒を用いて潤滑を行い、回転軸13を支持する滑り軸受14を備えるモータ1と、冷媒をモータ1の滑り軸受14へと供給する冷媒通路22と、冷媒通路22から滑り軸受14に供給される冷媒中のオイル含有率を調整するように構成された第1流量調整バルブ(オイル含有率調整バルブ)30と、停止しているモータ1が始動するときに、モータ1が動作中であるときよりも、オイル含有率が大きくなるように第1流量調整バルブ30を制御するように構成された制御装置80と、を有する。
【選択図】図6
特許請求の範囲
【請求項1】
CO
2
にオイルを含有させた冷媒を循環する冷媒循環システムであって、
前記冷媒を圧縮するコンプレッサと、
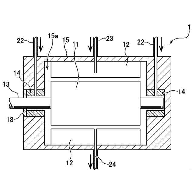
ロータ及びステータと、前記ロータに連結された回転軸と、前記コンプレッサにより圧縮された液状の前記冷媒を用いて潤滑を行い、前記回転軸を支持する滑り軸受と、を備えるモータと、
前記冷媒を前記モータの前記滑り軸受へと供給する冷媒通路と、
前記冷媒通路から前記滑り軸受に供給される前記冷媒中の前記オイルの含有率を調整するように構成されたオイル含有率調整バルブと、
停止している前記モータが始動するときに、前記モータが動作中であるときよりも、前記オイルの含有率が大きくなるように前記オイル含有率調整バルブを制御するように構成された制御装置と、
を有する、ことを特徴とする冷媒循環システム。
続きを表示(約 1,100 文字)
【請求項2】
前記制御装置は、停止している前記モータが始動するときに、前記オイルの含有率が略100%になるように前記オイル含有率調整バルブを制御するように構成されている、請求項1に記載の冷媒循環システム。
【請求項3】
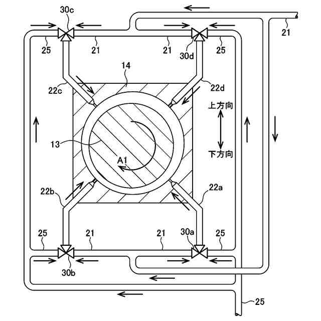
前記冷媒通路は、周方向の複数の位置に前記冷媒を供給するように前記滑り軸受に複数設けられ、前記オイル含有率調整バルブは、複数の前記冷媒通路から供給される前記冷媒中の前記オイルの含有率をそれぞれ調整するように複数設けられており、
前記制御装置は、停止している前記モータが始動するときに、前記モータが動作中であるときよりも、前記複数の冷媒通路の中で前記滑り軸受の下部に前記冷媒を供給するように設けられた1つ以上の冷媒通路からの前記オイルの含有率を大きくするように、複数の前記オイル含有率調整バルブの中で前記1つ以上の冷媒通路に設けられた1つ以上のオイル含有率調整バルブを制御するように構成されている、
請求項1又は2に記載の冷媒循環システム。
【請求項4】
前記制御装置は、停止している前記モータが始動するときに、前記1つ以上の冷媒通路からの前記オイルの含有率が略100%になるように、前記1つ以上の冷媒通路に設けられた前記1つ以上のオイル含有率調整バルブを制御するように構成されている、請求項3に記載の冷媒循環システム。
【請求項5】
前記制御装置は、更に、動作している前記モータが停止するときに、前記モータが動作中であるときよりも、前記オイルの含有率が大きくなるように前記オイル含有率調整バルブを制御するように構成されている、請求項1又は2に記載の冷媒循環システム。
【請求項6】
前記冷媒循環システムは、前記オイルを前記冷媒通路に供給するオイル通路と、前記オイル通路に接続され、前記オイルを貯留するオイルタンクとを更に有し、前記オイルタンクは、前記冷媒に含有される前記オイルを分離して、当該オイルを貯留するように構成されている、請求項1又は2に記載の冷媒循環システム。
【請求項7】
前記冷媒通路を第1冷媒通路とすると、前記冷媒循環システムは、前記第1冷媒通路に連通し、前記コンプレッサからの前記冷媒を当該第1冷媒通路へと流す第2冷媒通路を更に有し、
前記オイル含有率調整バルブは、前記第1冷媒通路、前記第2冷媒通路及び前記オイル通路に連通しており、それにより、当該オイル含有率調整バルブを制御することで、前記第2冷媒通路からの前記冷媒と前記オイル通路からの前記オイルとを混合する割合を変えて、前記第1冷媒通路から前記滑り軸受へと供給される前記冷媒中の前記オイルの含有率を調整可能となっている、
請求項6に記載の冷媒循環システム。
発明の詳細な説明
【技術分野】
【0001】
本発明は、オイルを含有する冷媒を循環する冷媒循環システムに関する。
続きを表示(約 2,000 文字)
【背景技術】
【0002】
従来から、エアコンで利用される冷凍サイクルにおいて、コンプレッサや熱交換器などを介して、冷媒を循環する冷媒循環システムが用いられている。また、近年では、このような冷媒循環システムが、車両内の構成要素の冷却、例えば電気自動車やハイブリッド車のバッテリの冷却にも利用されている。1つの例では、特許文献1には、1つのコンプレッサ(圧縮器)を共有して、そのコンプレッサから流出した冷媒をエアコンやバッテリに供給することで、システムの小型化や低廉化を図るようにした車両が開示されている。
【先行技術文献】
【特許文献】
【0003】
特開2023-037294号公報
【発明の概要】
【発明が解決しようとする課題】
【0004】
ところで、例えば車両の動力源(エンジンやモータ)などの回転軸を支持する軸受として、従来から転がり軸受や滑り軸受が用いられている。ここで、電気自動車などのモータに転がり軸受を適用すると、モータの回転軸が例えば30000rpmを超える高回転数で回転するので、転がり疲労により寿命が問題となる。他方で、オイルを潤滑剤として用いる一般的な滑り軸受をモータに適用すると、モータの回転軸によるオイル攪拌抵抗の損失が大きくなる。
【0005】
したがって、本件発明者は、モータを上記したような冷媒循環システムに適用し、このシステムで循環される冷媒、特にコンプレッサによる圧縮で液状になるCO
2
冷媒などを、潤滑剤として用いる滑り軸受を、モータの回転軸に適用することを考えた。それと共に、本件発明者は、このモータを、冷媒循環システムによる冷凍サイクルの一部の機能を担わせること、具体的には冷凍サイクルにおける膨張弁や蒸発器として機能させることも考えた。
【0006】
ここで、一般的な冷媒循環システムでは、コンプレッサの潤滑やシールのためにオイル(冷凍機油)を含有する冷媒が用いられているが、上記した冷媒によってモータの滑り軸受を潤滑するようにしたシステムでも、滑り軸受の潤滑性を確保するために、オイルを含有する冷媒を用いることが望ましいと言える。この場合、停止しているモータが始動するときには、回転軸と滑り軸受との接触が生じやすいため、オイルを用いて滑り軸受の負荷能力を的確に確保することが望ましいと考えられる。
【0007】
本発明は、上述した従来技術の問題点を解決するためになされたものであり、オイルを含有する冷媒を循環し、この冷媒によってモータの滑り軸受を潤滑する冷媒循環システムにおいて、モータの始動時に滑り軸受の負荷能力を的確に確保することを目的とする。
【課題を解決するための手段】
【0008】
上記の目的を達成するために、本発明は、CO
2
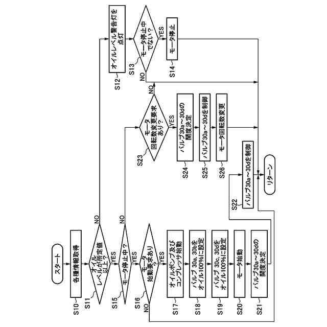
にオイルを含有させた冷媒を循環する冷媒循環システムであって、冷媒を圧縮するコンプレッサと、ロータ及びステータと、ロータに連結された回転軸と、コンプレッサにより圧縮された液状の冷媒を用いて潤滑を行い、回転軸を支持する滑り軸受と、を備えるモータと、冷媒をモータの滑り軸受へと供給する冷媒通路と、冷媒通路から滑り軸受に供給される冷媒中のオイルの含有率を調整するように構成されたオイル含有率調整バルブと、停止しているモータが始動するときに、モータが動作中であるときよりも、オイルの含有率が大きくなるようにオイル含有率調整バルブを制御するように構成された制御装置と、を有する、ことを特徴とする。
【0009】
このように構成された本発明では、制御装置は、オイル含有率調整バルブを制御することにより、モータの始動時に、滑り軸受に供給される冷媒中のオイル含有率を大きくすることができる、換言すると比較的高粘度の冷媒を滑り軸受に供給することができる。そのため、モータの始動時に、滑り軸受の負荷能力を的確に確保することができる。一方で、本発明によれば、モータの動作中には、滑り軸受に供給される冷媒中のオイル含有率を小さくすることができる、換言すると比較的低粘度の冷媒を滑り軸受に供給することができる。そのため、モータの動作中には、滑り軸受でのオイルによる潤滑抵抗(摩擦)を低下させることができる。
【0010】
本発明において、好ましくは、制御装置は、停止しているモータが始動するときに、オイルの含有率が略100%になるようにオイル含有率調整バルブを制御するように構成されている。
このように構成された本発明によれば、モータの始動時に、滑り軸受の負荷能力を効果的に確保することができる。
(【0011】以降は省略されています)
この特許をJ-PlatPat(特許庁公式サイト)で参照する
関連特許
マツダ株式会社
二次電池
12日前
マツダ株式会社
排気浄化装置
28日前
マツダ株式会社
排気浄化装置
28日前
マツダ株式会社
車両用駆動装置
20日前
マツダ株式会社
モータシステム
1か月前
マツダ株式会社
車両用駆動装置
20日前
マツダ株式会社
車両用駆動装置
20日前
マツダ株式会社
モータシステム
1か月前
マツダ株式会社
モータシステム
1か月前
マツダ株式会社
車両用駆動装置
20日前
マツダ株式会社
モータシステム
1か月前
マツダ株式会社
車両用駆動装置
20日前
マツダ株式会社
冷媒循環システム
14日前
マツダ株式会社
冷媒循環システム
14日前
マツダ株式会社
冷媒循環システム
14日前
マツダ株式会社
冷媒循環システム
14日前
マツダ株式会社
冷媒循環システム
14日前
マツダ株式会社
冷媒循環システム
14日前
マツダ株式会社
冷媒循環システム
14日前
マツダ株式会社
冷媒循環システム
14日前
マツダ株式会社
冷媒循環システム
1か月前
マツダ株式会社
冷媒循環システム
1か月前
マツダ株式会社
冷媒循環システム
1か月前
マツダ株式会社
冷媒循環システム
1か月前
マツダ株式会社
水噴射式エンジン
1か月前
マツダ株式会社
水噴射式エンジン
1か月前
マツダ株式会社
エンジンシステム
29日前
マツダ株式会社
エンジンシステム
29日前
マツダ株式会社
燃料改質システム
1か月前
マツダ株式会社
車両用リッド構造
1か月前
マツダ株式会社
冷媒循環システム
1か月前
マツダ株式会社
車両の下部車体構造
2日前
マツダ株式会社
車両の下部車体構造
2日前
マツダ株式会社
モータ軸受システム
2日前
マツダ株式会社
モータ軸受システム
2日前
マツダ株式会社
車両の下部車体構造
2日前
続きを見る
他の特許を見る