TOP
|
特許
|
意匠
|
商標
特許ウォッチ
Twitter
他の特許を見る
公開番号
2025134341
公報種別
公開特許公報(A)
公開日
2025-09-17
出願番号
2024032190
出願日
2024-03-04
発明の名称
冷媒循環システム
出願人
マツダ株式会社
代理人
個人
,
個人
,
個人
,
個人
,
個人
主分類
H02K
5/167 20060101AFI20250909BHJP(電力の発電,変換,配電)
要約
【課題】冷媒によってモータの滑り軸受を潤滑する冷媒循環システムにおいて、シール部材でのオイルのスラッジ及び摺動面の焼き付きを防止する。
【解決手段】CO
2
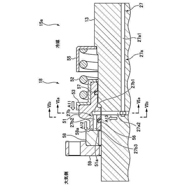
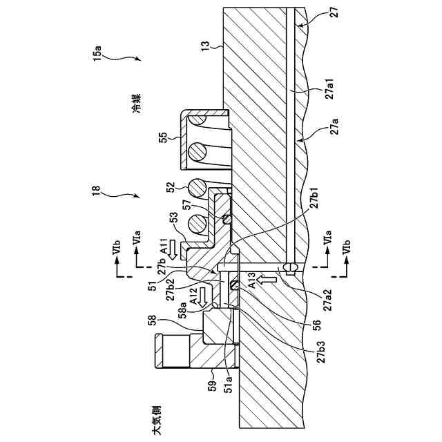
を含む冷媒を循環する冷媒循環システム100は、コンプレッサ3により圧縮された液状の冷媒を用いて潤滑を行い、回転軸13を支持する滑り軸受14を備えるモータ1と、回転軸の外周に取り付けられ、当該回転軸と共に回転する回転環51と、ハウジング15に固定され、回転環と摺動するように当該回転環と軸方向に隣接して設けられた固定環58と、を備え、回転軸とハウジングとの隙間からの冷媒の漏洩を防止するためのシール部材18と、を有し、回転軸には、当該回転軸内に延び、オイルが流れるオイル通路27aが形成され、回転環には、オイル通路27aからのオイルを、回転環と固定環との隙間に供給するオイル通路27bが形成されている。
【選択図】図5
特許請求の範囲
【請求項1】
CO
2
を含む冷媒を循環する冷媒循環システムであって、
前記冷媒を圧縮するコンプレッサと、
ロータ及びステータと、前記ロータに連結された回転軸と、前記ロータ、前記ステータ及び前記回転軸を収容するハウジングと、前記コンプレッサにより圧縮された液状の前記冷媒を用いて潤滑を行い、前記回転軸を支持する滑り軸受と、を備えるモータと、
前記ハウジングから外部へ延びる前記回転軸の部分と前記ハウジングとの隙間からの前記冷媒の漏洩を防止するためのシール部材であって、前記回転軸の外周に取り付けられ、当該回転軸と共に回転する回転環と、前記ハウジングに固定され、前記回転環と摺動するように当該回転環と軸方向に隣接して設けられた固定環と、を備え、前記回転環及び前記固定環によって前記隙間をシールするように構成された前記シール部材と、
を有し、
前記回転軸には、当該回転軸内に延び、オイルが流れる第1通路が形成され、
前記回転環には、前記第1通路に連通しており、当該第1通路からの前記オイルを、前記回転環と前記固定環との隙間に供給するための第2通路が形成されている、
ことを特徴とする冷媒循環システム。
続きを表示(約 970 文字)
【請求項2】
前記第1通路は、前記回転軸の軸心に沿って延びると共に、前記軸心から前記シール部材に向けて径方向に延びるように形成されている、請求項1に記載の冷媒循環システム。
【請求項3】
前記第2通路は、前記オイルを前記回転環と前記固定環との前記隙間に供給するための供給口に連通し、前記供給口は、前記隙間に面する前記回転環の摺動面に形成されている、請求項1又は2に記載の冷媒循環システム。
【請求項4】
前記第1通路は、径方向に延びる部分を含み、この部分が周方向に沿って複数形成されており、
前記第2通路は、軸方向に延びる部分を含み、この部分が周方向に沿って複数形成されている、
ことを特徴とする請求項1又は2に記載の冷媒循環システム。
【請求項5】
前記冷媒循環システムは、CO
2
に前記オイルを含有させた前記冷媒を循環するように構成されると共に、前記冷媒から分離された前記オイルを貯留するオイルタンクを更に有し、
前記第1通路には、前記オイルタンクに貯留された前記オイルが供給される、
請求項1又は2に記載の冷媒循環システム。
【請求項6】
前記オイルタンクは、前記モータから流出した前記冷媒中の前記オイルを分離して、当該オイルを貯留する第1オイルタンクと、前記第1オイルタンクから供給された前記オイルを貯留する第2オイルタンクと、を含み、
前記第2オイルタンクは、前記コンプレッサから供給された前記冷媒の圧力を利用して、貯留する前記オイルを前記第1通路に供給するように構成されている、
請求項5に記載の冷媒循環システム。
【請求項7】
前記冷媒循環システムは、前記第2オイルタンクから前記第1通路へと供給される前記オイルを減圧する減圧弁を更に有する、請求項6に記載の冷媒循環システム。
【請求項8】
前記シール部材は、前記回転環を前記固定環に向けて付勢するスプリングを更に有する、請求項1又は2に記載の冷媒循環システム。
【請求項9】
前記シール部材は、前記固定環を前記回転環に向けて付勢するスプリングを更に有する、請求項1又は2に記載の冷媒循環システム。
発明の詳細な説明
【技術分野】
【0001】
本発明は、冷媒を循環する冷媒循環システムに関する。
続きを表示(約 2,500 文字)
【背景技術】
【0002】
従来から、エアコンで利用される冷凍サイクルにおいて、コンプレッサや熱交換器などを介して、冷媒を循環する冷媒循環システムが用いられている。また、近年では、このような冷媒循環システムが、車両内の構成要素の冷却、例えば電気自動車やハイブリッド車のバッテリの冷却にも利用されている。1つの例では、特許文献1には、1つのコンプレッサ(圧縮器)を共有して、そのコンプレッサから流出した冷媒をエアコンやバッテリに供給することで、システムの小型化や低廉化を図るようにした車両が開示されている。
【先行技術文献】
【特許文献】
【0003】
特開2023-037294号公報
【発明の概要】
【発明が解決しようとする課題】
【0004】
ところで、例えば車両の動力源(エンジンやモータ)などの回転軸を支持する軸受として、従来から転がり軸受や滑り軸受が用いられている。ここで、電気自動車などのモータに転がり軸受を適用すると、モータの回転軸が例えば30000rpmを超える高回転数で回転するので、転がり疲労により寿命が問題となる。他方で、オイルを潤滑剤として用いる一般的な滑り軸受をモータに適用すると、モータの回転軸によるオイル攪拌抵抗の損失が大きくなる。
【0005】
したがって、本件発明者は、モータを上記したような冷媒循環システムに適用し、このシステムで循環される冷媒、特にコンプレッサによる圧縮で液状になるCO
2
冷媒などを、潤滑剤として用いる滑り軸受を、モータの回転軸に適用することを考えた。それと共に、本件発明者は、このモータを、冷媒循環システムによる冷凍サイクルの一部の機能を担わせること、具体的には冷凍サイクルにおける膨張弁や蒸発器として機能させることも考えた。
【0006】
ここで、上記したようにコンプレッサで圧縮された高圧の冷媒(CO
2
冷媒)により滑り軸受を潤滑する場合、この高圧(例えば10MPa程度)の冷媒が、モータにおける回転軸とハウジングとの隙間から漏れ出ることを防止する必要がある。一般的に、モータにおける回転軸とハウジングとの隙間をシールするために、メカニカルシール(シール部材)が用いられている。このシール部材は、回転軸と共に回転する回転環と、ハウジングに固定され、回転環と摺動する固定環とを有し、これら回転環及び固定環によって回転軸とハウジングとの隙間を密封している。典型的には、回転環と固定環との摺動面にオイル(潤滑油)が付与されて、このオイルを介して回転環と固定環とが摺動するようになっている。
【0007】
このようなシール部材によって上記した滑り軸受に適用される冷媒の漏洩を防止しようとした場合、冷媒が高圧であることから、回転環と固定環との摺動面の面圧を高める必要がある。しかしながら、摺動面の面圧を高めると、摺動面が摩擦により高温になることで、オイルのスラッジや、摺動面の焼き付きが生じる可能性がある。特に、電気自動車では、モータが高回転数で動作するため、このようなスラッジや焼き付きが生じる可能性が高くなる。この理由としては、摺動面の面圧が高いため、界面に十分な油膜を形成できないこと、及び、オイルが摺動面から受熱するため、摺動面温度を低く保てないこと、が挙げられる。
【0008】
本発明は、上述した従来技術の問題点を解決するためになされたものであり、モータの滑り軸受を冷媒にて潤滑し、シール部材により冷媒の漏洩を防止するようにした冷媒循環システムにおいて、シール部材でのオイルのスラッジ及び摺動面の焼き付きを防止することを目的とする。
【課題を解決するための手段】
【0009】
上記の目的を達成するために、本発明は、CO
2
を含む冷媒を循環する冷媒循環システムであって、冷媒を圧縮するコンプレッサと、ロータ及びステータと、ロータに連結された回転軸と、ロータ、ステータ及び回転軸を収容するハウジングと、コンプレッサにより圧縮された液状の冷媒を用いて潤滑を行い、回転軸を支持する滑り軸受と、を備えるモータと、ハウジングから外部へ延びる回転軸の部分とハウジングとの隙間からの冷媒の漏洩を防止するためのシール部材であって、回転軸の外周に取り付けられ、当該回転軸と共に回転する回転環と、ハウジングに固定され、回転環と摺動するように当該回転環と軸方向に隣接して設けられた固定環と、を備え、回転環及び固定環によって隙間をシールするように構成されたシール部材と、を有し、回転軸には、当該回転軸内に延び、オイルが流れる第1通路が形成され、回転環には、第1通路に連通しており、当該第1通路からのオイルを、回転環と固定環との隙間に供給するための第2通路が形成されている、ことを特徴とする。
【0010】
このように構成された本発明では、回転軸内の第1通路及びシール部材の回転環内の第2通路を介して、オイルをシール部材における回転環と固定環との隙間に供給するので、冷媒の漏洩防止、摺動面の潤滑及び冷却などを効果的に実現することができる。具体的には、本発明によれば、回転環及び固定環の摺動面にオイルを連続的に供給するので、オイルが摺動面に留まる時間を短縮でき、オイルのスラッジ生成を防止することができると共に、厚い油膜が摺動面に形成されるので、摺動面の焼き付きを防止することができる。また、本発明によれば、第1通路が回転軸内に延びているので、回転軸の回転による遠心力をこの第1通路内のオイルに作用させることができ、モータ回転数に応じてオイルの供給圧力を高めることができる。したがって、本発明によれば、モータが高回転で動作しているときにも、シール部材での冷媒の漏洩防止と、オイルのスラッジ及び摺動面の焼き付きの防止とを確保することができる。
(【0011】以降は省略されています)
この特許をJ-PlatPat(特許庁公式サイト)で参照する
関連特許
マツダ株式会社
二次電池
19日前
マツダ株式会社
排気浄化装置
1か月前
マツダ株式会社
排気システム
今日
マツダ株式会社
排気システム
今日
マツダ株式会社
排気浄化装置
1か月前
マツダ株式会社
車両用駆動装置
27日前
マツダ株式会社
車両用駆動装置
27日前
マツダ株式会社
車両用駆動装置
27日前
マツダ株式会社
車両用駆動装置
27日前
マツダ株式会社
車両用駆動装置
27日前
マツダ株式会社
冷媒循環システム
21日前
マツダ株式会社
冷媒循環システム
21日前
マツダ株式会社
冷媒循環システム
21日前
マツダ株式会社
冷媒循環システム
21日前
マツダ株式会社
冷媒循環システム
21日前
マツダ株式会社
冷媒循環システム
21日前
マツダ株式会社
冷媒循環システム
2か月前
マツダ株式会社
エンジンシステム
1か月前
マツダ株式会社
エンジンシステム
1か月前
マツダ株式会社
燃料改質システム
1か月前
マツダ株式会社
車両用リッド構造
1か月前
マツダ株式会社
水噴射式エンジン
1か月前
マツダ株式会社
水噴射式エンジン
1か月前
マツダ株式会社
冷媒循環システム
2か月前
マツダ株式会社
冷媒循環システム
2か月前
マツダ株式会社
冷媒循環システム
2か月前
マツダ株式会社
冷媒循環システム
21日前
マツダ株式会社
冷媒循環システム
21日前
マツダ株式会社
二次電池の制御装置
今日
マツダ株式会社
車両の下部車体構造
5日前
マツダ株式会社
車両の下部車体構造
5日前
マツダ株式会社
車両の下部車体構造
5日前
マツダ株式会社
車両の下部車体構造
9日前
マツダ株式会社
車両の下部車体構造
9日前
マツダ株式会社
車両の下部車体構造
9日前
マツダ株式会社
モータ軸受システム
9日前
続きを見る
他の特許を見る