TOP
|
特許
|
意匠
|
商標
特許ウォッチ
Twitter
他の特許を見る
10個以上の画像は省略されています。
公開番号
2025135751
公報種別
公開特許公報(A)
公開日
2025-09-19
出願番号
2024033690
出願日
2024-03-06
発明の名称
吸収性物品
出願人
大王製紙株式会社
代理人
弁護士法人クレオ国際法律特許事務所
主分類
A61F
13/514 20060101AFI20250911BHJP(医学または獣医学;衛生学)
要約
【課題】吸収性物品において、着用者等が補助吸収性物品を適切な位置に、容易に配置できるものとする。
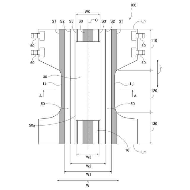
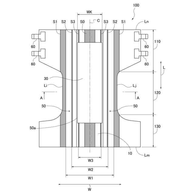
【解決手段】テープタイプの使い捨ておむつ100は、背側部110、股間部120及び腹側部130が連なって形成され、トップシート10と、吸収体30と、ポリエチレンシート40と、バックシート20とが配置され、ポリエチレンシート40は、インナーパッド200,300,400を、幅方向Wの適正位置に配置した状態で、インナーパッド200,300,400の両側縁201,301,401をそれぞれ沿わせる、長手方向Lに沿って背側部110から腹側部130まで連続して延びた線状の目印である線S1,S2が形成され、吸収体30は線S1,S2を覆わない幅で形成され、トップシート10は、線S1,S2を光学的に透過させる。
【選択図】図1
特許請求の範囲
【請求項1】
長手方向に沿って背側部、股間部及び腹側部が連なって形成され、厚さ方向の、液透過性を有する内面シートと、水分を吸収して保持する吸収体と、中間シートと、外面シートとが着用者の肌に対向する肌側から順に配置され、中間シート及び外面シートの少なくとも一方が液不透過性を有する吸収性物品であって、
前記中間シートは、前記吸収性物品の前記内面シートの前記肌側に重ねて配置される補助吸収性物品を前記吸収性物品の幅方向の適正位置に配置した状態で、前記補助吸収性物品の幅方向の両側縁をそれぞれ沿わせる、前記長手方向に沿って前記背側部から前記腹側部まで連続して延びた線状の目印が形成され、
前記吸収体は前記目印を覆わない幅で形成され、
前記内面シートは、前記目印を光学的に透過させる、吸収性物品。
続きを表示(約 890 文字)
【請求項2】
前記目印は、前記幅方向のサイズが異なる複数種類の前記補助吸収性物品に対応して、前記幅方向の異なる複数の位置に形成されている、請求項1に記載の吸収性物品。
【請求項3】
前記目印である前記線状は、前記幅方向のサイズが異なる複数種類の前記補助吸収性物品に対応して、異なる線幅で形成されている、請求項2に記載の吸収性物品。
【請求項4】
前記吸収体は、前記幅方向の両側部に、ギャザーを前記肌側に立ち上がらせる、前記長手方向に沿って配置された弾性部材を有し、
前記吸収体は、前記長手方向における前記股間部に対応した領域が、前記背側部及び前記腹側部にそれぞれ対応した領域に比べて、剛性が高く形成されている、請求項1に記載の吸収性物品。
【請求項5】
前記股間部における、前記幅方向の両側部に、ギャザーを前記肌側に立ち上がらせる、前記長手方向に沿って延びた弾性部材を有し、
前記弾性部材は、前記吸収性物品が前記長手方向に三つ折りに畳まれた状態において前記幅方向に延びた折り線と交差する部分が、切断されている、請求項1に記載の吸収性物品。
【請求項6】
前記吸収性物品の前記内面シートの前記肌側に重ねて配置される補助吸収性物品を前記吸収性物品の前記長手方向の適正位置に配置した状態で、前記補助吸収性物品の長手方向の少なくとも一方の端縁を沿わせる、前記幅方向に沿って延びた第2目印が形成されている、請求項1に記載の吸収性物品。
【請求項7】
前記第2目印は、前記中間シートに形成されている、請求項6に記載の吸収性物品。
【請求項8】
前記第2目印は、前記長手方向のサイズが異なる複数種類の前記補助吸収性物品に対応して、前記長手方向の異なる複数の位置に形成され、
前記複数の位置に形成された複数の前記第2目印のうち少なくとも1つの前記第2目印は、前記中間シートに形成されたデザインと前記吸収体との重なりによって形成されている、請求項7に記載の吸収性物品。
発明の詳細な説明
【技術分野】
【0001】
本発明は、吸収性物品に関する。
続きを表示(約 1,800 文字)
【背景技術】
【0002】
吸収性物品である使い捨ておむつ等(以下、おむつ等という。)の内面(着用者の肌面)側に重ねて使用される補助吸収性物品(インナーパッド)が知られている。インナーパッドは、その外面に、インナーパッドをおむつ等の内面の所定位置に配置した状態で保持させる止着手段が設けられているものもある。止着手段は、例えば面ファスナのオス側の部材で形成されていて、おむつ等の内面側のシートである不織布に係合することで、配置された位置に保持される。止着手段を備えないインナーパッドは、接する面同士の摩擦力によって、おむつ等の内面に保持される。
【0003】
おむつ等は、長手方向に沿って背側部、股間部及び腹側部が連なって形成されているが、背側部と腹側部とが予め接続されて着用者の胴回りの被覆部を形成している、いわゆるパンツタイプと、長手方向に背側部、股間部及び腹側部が展開されていて、着用者の臀部を背側部で、股部を股間部で、下腹部を腹側部で、それぞれ覆った状態で、背側部の両側部と腹側部の両側部とをテープで連結する、いわゆるテープタイプとがある。
【0004】
着用者自身又は補助者(以下、着用者等という。)が、テープタイプのおむつ等にインナーパッドを配置する場合、おむつ等の幅方向の位置について、インナーパッドが幅方向の一方に偏らないように、左右均等の位置となるように配置する必要がある。インナーパッドが幅方向の一方に偏って配置されると、排せつ物がインナーパッドからおむつ等に漏れ易くなるためである。
【0005】
そこで、おむつ等の背側部の内面の、幅方向の中心線に対称な位置に、吸収性パッド(補助吸収性物品)の一端部における2つの角部に対応する、目視可能な一対の色目印部を配設した技術が提案されている(たとえば、特許文献1参照)。この技術は、吸収性パッドの長手方向の一端部の2つの角部を、対応する一対の色目印部にそれぞれ合わせて装着させることで、吸収性パッドをおむつ等の所定位置に位置合わせすることができ、吸収性パッドが幅方向や長さ方向について偏らずに配置することができる。
【先行技術文献】
【特許文献】
【0006】
特許第4796867号公報
【発明の概要】
【発明が解決しようとする課題】
【0007】
しかし、特許文献1によって開示された技術は、おむつ4つの角部に対応した色目印部として形成されたものであるため、吸収性パッドの4つの角部を個別に色目印部に一致させるように、吸収性パッドの姿勢や位置を調整する必要がある。つまり、この技術は、おむつと吸収性パッドとを、互いに離れた複数の点同士で位置合わせするものであり、複数の箇所を同時に確認しながら位置合わせを行う必要がある。したがって、この技術は、吸収性パッドがおむつに対して傾いた姿勢となり易い等、位置合わせが難しい、という問題がある。
【0008】
本発明は上記事情に鑑みなされたものであり、着用者等が補助吸収性物品を適切な位置に、容易に配置することができる吸収性物品を提供することを目的とする。
【課題を解決するための手段】
【0009】
本発明は、長手方向に沿って背側部、股間部及び腹側部が連なって形成れ、厚さ方向の、液透過性を有する表面シートと、吸収体と、中間シートと、液不透過性を有する裏面シートとが着用者の肌に対向する肌側から順に配置された吸収性物品であって、前記中間シートは、前記吸収性物品の前記表面シートの前記肌側に重ねて配置される補助吸収性物品を前記吸収性物品の幅方向の適正位置に配置した状態で、前記補助吸収性物品の幅方向の両側縁をそれぞれ沿わせる、前記長手方向に沿って前記背側部から前記腹側部まで連続して延びた線状の目印が形成され、前記吸収体は前記目印を覆わない幅で形成され、前記表面シートは、前記目印を光学的に透過させる、吸収性物品である。
【発明の効果】
【0010】
本発明に係る吸収性物品は、着用者等が補助吸収性物品を適切な位置に、容易に配置することができる。
【図面の簡単な説明】
(【0011】以降は省略されています)
この特許をJ-PlatPat(特許庁公式サイト)で参照する
関連特許
大王製紙株式会社
吸収性物品
6日前
大王製紙株式会社
吸収性物品
16日前
大王製紙株式会社
吸収性物品
2か月前
大王製紙株式会社
シート収納箱
1か月前
大王製紙株式会社
油性固形化粧料
2か月前
大王製紙株式会社
段ボール用ライナ
16日前
大王製紙株式会社
RFIDタグ及び下げ札
3か月前
大王製紙株式会社
トイレットペーパー包装体
3日前
大王製紙株式会社
包装袋およびシート包装体
1か月前
大王製紙株式会社
包装体
1か月前
大王製紙株式会社
シート収納箱
1か月前
個人
健康器具
7か月前
個人
鼾防止用具
7か月前
個人
歯茎みが品
8か月前
個人
短下肢装具
2か月前
個人
導電香
8か月前
個人
嚥下鍛錬装置
3か月前
個人
白内障治療法
6か月前
個人
脈波測定方法
7か月前
個人
脈波測定方法
7か月前
個人
マッサージ機
8か月前
個人
前腕誘導装置
2か月前
個人
洗井間専家。
6か月前
個人
汚れ防止シート
6日前
個人
ホバーアイロン
5か月前
個人
胸骨圧迫補助具
1か月前
個人
矯正椅子
4か月前
個人
片足歩行支援具
8か月前
個人
クリップ
8か月前
個人
アイマスク装置
1か月前
個人
バッグ式オムツ
3か月前
個人
歯の修復用材料
3か月前
個人
眼科診療車
8か月前
個人
哺乳瓶冷まし容器
2か月前
個人
車椅子持ち上げ器
6か月前
三生医薬株式会社
錠剤
6か月前
続きを見る
他の特許を見る