TOP
|
特許
|
意匠
|
商標
特許ウォッチ
Twitter
他の特許を見る
公開番号
2025144052
公報種別
公開特許公報(A)
公開日
2025-10-02
出願番号
2024043629
出願日
2024-03-19
発明の名称
トイレットペーパー包装体
出願人
大王製紙株式会社
代理人
個人
,
個人
主分類
B65D
83/08 20060101AFI20250925BHJP(運搬;包装;貯蔵;薄板状または線条材料の取扱い)
要約
【課題】ポップアップ性および取出性に優れる積層タイプのトイレットペーパーがフィルム包装されたトイレットペーパー包装体を提供する。
【解決手段】トイレットペーパー包装体は、2プライのシートを1組として構成されたトイレットペーパーがポップアップ式に複数積層されてなるシート積層体と、天面に取出口が形成され前記シート積層体を収容する樹脂フィルム製の包装袋とを有する、トイレットペーパー包装体であって、前記シートの1プライあたりの坪量が10g/m
2
以上20g/m
2
以下であり、前記2プライのシート同士の静止摩擦係数が1.1以上1.45以下である。
【選択図】なし
特許請求の範囲
【請求項1】
2プライのシートを1組として構成されたトイレットペーパーがポップアップ式に複数積層されてなるシート積層体と、天面に取出口が形成され前記シート積層体を収容する樹脂フィルム製の包装袋とを有する、トイレットペーパー包装体であって、
前記シートの1プライあたりの坪量が10g/m
2
以上20g/m
2
以下であり、
前記2プライのシート同士の静止摩擦係数が1.1以上1.45以下である、トイレットペーパー包装体。
続きを表示(約 520 文字)
【請求項2】
前記2プライのシートを2枚の1プライのシートに分離した場合の前記1プライのシート同士の静止摩擦係数が1.2以上である、請求項1に記載のトイレットペーパー包装体。
【請求項3】
前記2プライのシートと前記包装袋との間の静止摩擦係数が0.31以下である、請求項1に記載のトイレットペーパー包装体。
【請求項4】
前記2プライのシートのMD方向の乾燥引張強度が250cN以上400cN以下である、請求項1に記載のトイレットペーパー包装体。
【請求項5】
前記2プライのシートのMD方向の伸び率が13%以上である、請求項1に記載のトイレットペーパー包装体。
【請求項6】
前記2プライのシートの取出し抵抗値が1N以下である、請求項1に記載のトイレットペーパー包装体。
【請求項7】
前記2プライのシートにはエンボス加工が施されており、
前記2プライのシートの前記エンボス加工が施される前の厚みに対する前記エンボス加工が施された後の厚みの比が0.7以上1.5以下である、請求項1乃至6のいずれか一項に記載のトイレットペーパー包装体。
発明の詳細な説明
【技術分野】
【0001】
本発明は、トイレットペーパー包装体に関する。
続きを表示(約 1,600 文字)
【背景技術】
【0002】
従来のトイレットペーパーは、長尺の薄葉紙が芯に巻き付けられたロールタイプのものが普及している(例えば、特許文献1参照)。このロールタイプのトイレットペーパーは、使用時に両手を使って切り取った薄葉紙を重ね合わせたり丸めたりするため手間がかかる。このような使用時の手間を省く観点から、予めカットした複数枚の薄葉紙を重ねた積層タイプのトイレットペーパーを容器に入れて使用する技術がある(例えば、特許文献2参照)。
【先行技術文献】
【特許文献】
【0003】
特許7312282号公報
特開2010-22799号公報
【発明の概要】
【発明が解決しようとする課題】
【0004】
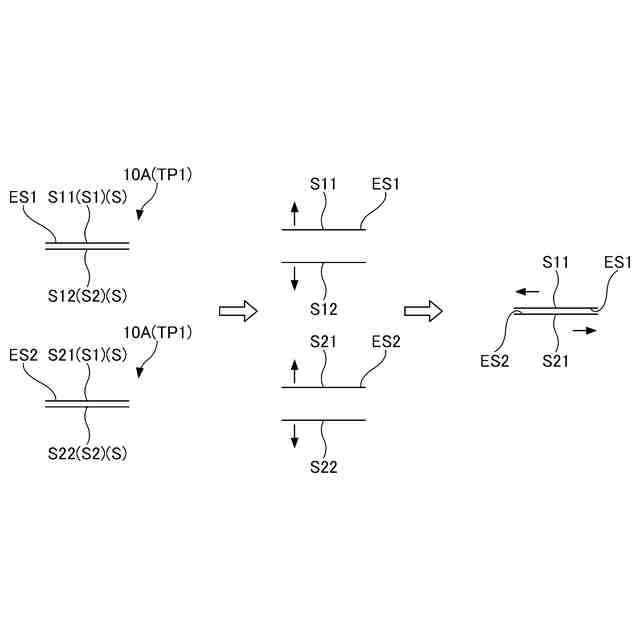
しかしながら、積層タイプのトイレットペーパーは、製造時に紙の減衰が少なく、ロールタイプのトイレットペーパーのような柔らかさや滑らかさが得られない。また、積層タイプのトイレットペーパーは、紙力を弱めると、柔らかさや滑らかさを付与することができる反面、紙同士の摩擦が少なくなるため、ポップアップ性(取出口からトイレットペーパーを取り出すと次のトイレットペーパーの一部が取出口から引き出される特性)が低下する。
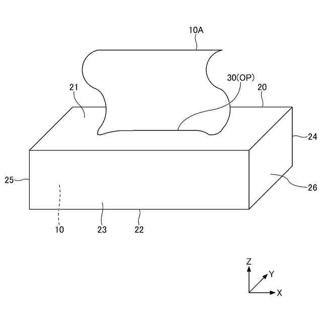
【0005】
また、積層タイプのトイレットペーパーは、樹脂フィルム製の包装袋にタイトに収容することで、ポップアップ性の低下を防ぐことができるものの、取出口からトイレットペーパーの取り出す際に、トイレットペーパーが破れたり、トイレットペーパーが包装袋内に落ち込んだり、また包装袋が持ち上がる等、取出性が低下する。
【0006】
本発明の課題は、ポップアップ性および取出性に優れる積層タイプのトイレットペーパーがフィルム包装されたトイレットペーパー包装体を提供することである。
【課題を解決するための手段】
【0007】
本発明に係る第1の態様は、2プライのシートを1組として構成されたトイレットペーパーがポップアップ式に複数積層されてなるシート積層体と、天面に取出口が形成され前記シート積層体を収容する樹脂フィルム製の包装袋とを有する、トイレットペーパー包装体であって、前記シートの1プライあたりの坪量が10g/m
2
以上20g/m
2
以下であり、前記2プライのシート同士の静止摩擦係数が1.1以上1.45以下である。
【0008】
第1の態様では、トイレットペーパーを構成するシートの1プライあたりの坪量が10g/m
2
以上20g/m
2
以下で、トイレットペーパーを構成する2プライのシート同士の静止摩擦係数が1.1以上1.45以下であることで、柔らかく、滑らかな、積層タイプのトイレットペーパーがフィルム収容されたトイレットペーパー包装体が得られる。また、得られたトイレットペーパー包装体は、ポップアップ式に積層されたトイレットペーパーを取り出す際に、トイレットペーパー同士に摩擦力が生じるため、ポップアップ性および取出性に優れる。
【0009】
本発明に係る第2の態様は、前記2プライのシートを2枚の1プライのシートに分離した場合の前記1プライのシート同士の静止摩擦係数が1.2以上である、第1の態様に記載のトイレットペーパー包装体である。
【0010】
第2の態様では、トイレットペーパーを構成する2プライのシートを2枚の1プライのシートに分離した場合の1プライのシート同士の静止摩擦係数が1.2以上であることで、得られるトイレットペーパー包装体のポップアップ性および取出性を向上させることができる。
(【0011】以降は省略されています)
この特許をJ-PlatPat(特許庁公式サイト)で参照する
関連特許
大王製紙株式会社
吸収性物品
8日前
大王製紙株式会社
吸収性物品
18日前
大王製紙株式会社
吸収性物品
2か月前
大王製紙株式会社
シート収納箱
1か月前
大王製紙株式会社
段ボール用ライナ
18日前
大王製紙株式会社
トイレットペーパー包装体
5日前
大王製紙株式会社
包装袋およびシート包装体
1か月前
大王製紙株式会社
包装体
1か月前
大王製紙株式会社
シート収納箱
1か月前
個人
箱
12か月前
個人
ゴミ箱
11か月前
個人
収容箱
2か月前
個人
コンベア
4か月前
個人
段ボール箱
6か月前
個人
容器
8か月前
個人
ゴミ収集器
6か月前
個人
段ボール箱
6か月前
個人
楽ちんハンド
4か月前
個人
土嚢運搬器具
7か月前
個人
バンド
1か月前
個人
角筒状構造体
4か月前
個人
パウチ補助具
11か月前
個人
宅配システム
6か月前
個人
閉塞装置
9か月前
個人
コード類収納具
7か月前
個人
お薬の締結装置
5か月前
個人
廃棄物収容容器
2か月前
個人
包装容器
18日前
個人
ゴミ処理機
8か月前
個人
把手付米袋
3か月前
個人
蓋閉止構造
3か月前
株式会社和気
包装用箱
8か月前
個人
蓋閉止構造
3か月前
株式会社コロナ
梱包材
4か月前
個人
貯蔵サイロ
6か月前
個人
積み重ね用補助具
2か月前
続きを見る
他の特許を見る