TOP
|
特許
|
意匠
|
商標
特許ウォッチ
Twitter
他の特許を見る
公開番号
2025136046
公報種別
公開特許公報(A)
公開日
2025-09-19
出願番号
2024034213
出願日
2024-03-06
発明の名称
電池ユニット
出願人
トヨタ自動車株式会社
代理人
弁理士法人酒井国際特許事務所
主分類
H01M
50/383 20210101AFI20250911BHJP(基本的電気素子)
要約
【課題】体格を小さくすることができる電池ユニットを提供すること。
【解決手段】電池ユニットは、二次電池と、メッシュ形状で構成され、二次電池の外側において、二次電池のガス排出弁を覆うように配置された第一トラップと、不燃材料から構成され、第一トラップの外側において、ガス排出弁を覆うように配置された第二トラップと、を備え、第一トラップが、不飽和ポリエステルからなり、二次電池の上面と対向している。
【選択図】図1
特許請求の範囲
【請求項1】
二次電池と、
メッシュ形状で構成され、前記二次電池の外側において、前記二次電池のガス排出弁を覆うように配置された第一トラップと、
不燃材料から構成され、前記第一トラップの外側において、前記ガス排出弁を覆うように配置された第二トラップと、
を備え、
前記第一トラップは、
不飽和ポリエステルからなり、
前記二次電池の上面と対向している、
電池ユニット。
発明の詳細な説明
【技術分野】
【0001】
本開示は、電池ユニットに関する。
続きを表示(約 1,100 文字)
【背景技術】
【0002】
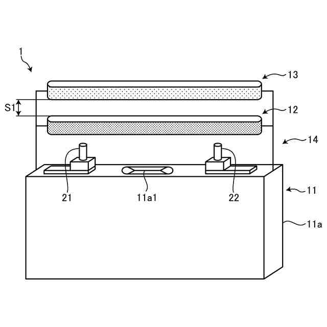
特許文献1には、二次電池の外側に、マイカ等のメッシュ材からなる第一トラップを設けた電池ユニットが開示されている。
【先行技術文献】
【特許文献】
【0003】
特開2021-190385号公報
【発明の概要】
【発明が解決しようとする課題】
【0004】
特許文献1で開示された電池ユニットでは、第一トラップが耐熱性を有する素材(マイカ等)で構成されている。一方、特許文献1で開示された電池ユニットでは、第一トラップが絶縁性を有していないため、二次電池と第一トラップとの間に、絶縁性を保つためのカバー(例えばポリプロピレン製の電池モジュールカバー等)を設置する必要がある。従って、特許文献1で開示された電池ユニットは、体格が大きくなるおそれがあり、改善の余地がある。
【0005】
本開示は、上記に鑑みてなされたものであって、体格を小さくすることができる電池ユニットを提供することを目的とする。
【課題を解決するための手段】
【0006】
本開示に係る電池ユニットは、二次電池と、メッシュ形状で構成され、前記二次電池の外側において、前記二次電池のガス排出弁を覆うように配置された第一トラップと、不燃材料から構成され、前記第一トラップの外側において、前記ガス排出弁を覆うように配置された第二トラップと、を備え、前記第一トラップが、不飽和ポリエステルからなり、前記二次電池の上面と対向している。
【発明の効果】
【0007】
本開示によれば、第一トラップが耐熱性および絶縁性を有しているため、二次電池と第一トラップとの間に絶縁性を保つための部材を設置する必要がなくなり、体格を小さくすることができる。
【図面の簡単な説明】
【0008】
図1は、実施形態に係る電池ユニットの概略的な構成を示す斜視図である。
【発明を実施するための形態】
【0009】
本開示の実施形態に係る電池ユニットについて、図面を参照しながら説明する。なお、下記実施形態における構成要素には、当業者が置換可能かつ容易なもの、あるいは実質的に同一のものが含まれる。
【0010】
実施形態に係る電池ユニットは、例えばハイブリッド車(HEV:Hybrid Electric Vehicle)、プラグインハイブリッド車(PHEV:Plug-in Hybrid Electric Vehicle)、電気自動車(BEV:Battery Electric Vehicle)等の車両のバッテリとして用いられる。
(【0011】以降は省略されています)
この特許をJ-PlatPat(特許庁公式サイト)で参照する
関連特許
トヨタ自動車株式会社
電池
今日
トヨタ自動車株式会社
電池
9日前
トヨタ自動車株式会社
車両
19日前
トヨタ自動車株式会社
車両
9日前
トヨタ自動車株式会社
車両
5日前
トヨタ自動車株式会社
電池
1日前
トヨタ自動車株式会社
車両
5日前
トヨタ自動車株式会社
電動車
19日前
トヨタ自動車株式会社
モータ
20日前
トヨタ自動車株式会社
ケース
今日
トヨタ自動車株式会社
サーバ
13日前
トヨタ自動車株式会社
電動車
1日前
トヨタ自動車株式会社
電解液
5日前
トヨタ自動車株式会社
回転子
5日前
トヨタ自動車株式会社
電動車
5日前
トヨタ自動車株式会社
回転子
20日前
トヨタ自動車株式会社
電動車
7日前
トヨタ自動車株式会社
電動車
5日前
トヨタ自動車株式会社
電動車
5日前
トヨタ自動車株式会社
ロータ
7日前
トヨタ自動車株式会社
制御装置
19日前
トヨタ自動車株式会社
電動車両
5日前
トヨタ自動車株式会社
制御装置
5日前
トヨタ自動車株式会社
蓄電装置
19日前
トヨタ自動車株式会社
電動車両
19日前
トヨタ自動車株式会社
電動車両
19日前
トヨタ自動車株式会社
冷却構造
12日前
トヨタ自動車株式会社
蓄電装置
5日前
トヨタ自動車株式会社
駆動装置
5日前
トヨタ自動車株式会社
蓄電装置
13日前
トヨタ自動車株式会社
冷却装置
19日前
トヨタ自動車株式会社
給電装置
19日前
トヨタ自動車株式会社
制御装置
19日前
トヨタ自動車株式会社
制御装置
9日前
トヨタ自動車株式会社
電源装置
5日前
トヨタ自動車株式会社
加熱装置
19日前
続きを見る
他の特許を見る