TOP
|
特許
|
意匠
|
商標
特許ウォッチ
Twitter
他の特許を見る
10個以上の画像は省略されています。
公開番号
2025145068
公報種別
公開特許公報(A)
公開日
2025-10-03
出願番号
2024045049
出願日
2024-03-21
発明の名称
蓄電装置
出願人
トヨタ自動車株式会社
代理人
弁理士法人深見特許事務所
主分類
H01M
50/367 20210101AFI20250926BHJP(基本的電気素子)
要約
【課題】蓄電セルにおいて発生した煙をケース外に容易に排出することが可能な蓄電装置を提供する。
【解決手段】蓄電装置1は、複数の蓄電セル10を含む蓄電モジュール100と、蓄電モジュール100を収容するケース200と、複数の蓄電セル10をケース200に接着する接着層300と、ケース200に設けられた排煙弁250と、を備える。接着層300には、排煙弁250に向けて延びる排煙通路310が形成されている。
【選択図】図5
特許請求の範囲
【請求項1】
複数の蓄電セルを含む蓄電モジュールと、
前記蓄電モジュールを収容するケースと、
前記複数の蓄電セルを前記ケースに接着する接着部材と、
前記ケースに設けられた排煙弁と、を備え、
前記接着部材には、前記排煙弁に向けて延びる排煙通路が形成されている、蓄電装置。
続きを表示(約 770 文字)
【請求項2】
前記ケースは、
前記複数の蓄電セルを第1方向の一方側から覆うように設けられ、前記接着部材によって前記複数の蓄電セルと接着される被覆部と、
前記一方側から見て前記複数の蓄電セルを取り囲むように設けられるとともに、前記排煙弁が設けられた周壁部と、
前記一方側から見て、前記複数の蓄電セルが収容される前記ケース内の空間を複数に区画する隔壁部と、を含み、
前記排煙通路は、前記一方側から見て、前記隔壁部から前記周壁部の前記排煙弁に向けて延びている、請求項1に記載の蓄電装置。
【請求項3】
前記複数の蓄電セルの各々は、前記一方側から見て、第2方向に長尺に形成されており、
前記複数の蓄電セルの各々の前記第2方向の一方端には、排気部が形成されており、
前記複数の蓄電セルは、前記一方側から見て、前記第2方向と交差する第3方向に配列されており、
前記隔壁部は、前記第3方向に延びる第1隔壁を含み、
前記複数の蓄電セルは、複数の前記排気部が前記第1隔壁に沿って前記第3方向に配列されるように配置されている、請求項2に記載の蓄電装置。
【請求項4】
前記周壁部は、前記第3方向に延びる第1側壁を含み、
前記排煙弁は、前記第1側壁に設けられており、
前記排煙通路は、前記第1隔壁と前記第1側壁との間において、前記第2方向に延びるように形成されている、請求項3に記載の蓄電装置。
【請求項5】
前記隔壁部は、前記第2方向に延びる第2隔壁を含み、
前記接着部材には、前記第2隔壁から前記周壁部に向けて延びるとともに前記排煙通路と交差する交差排煙通路が形成されている、請求項3または4に記載の蓄電装置。
発明の詳細な説明
【技術分野】
【0001】
本開示は、蓄電装置に関する。
続きを表示(約 1,500 文字)
【背景技術】
【0002】
特開2021-111520号公報(特許文献1)には、複数の電池セルと、電池パックケースとを備える電池パックが開示されている。複数の電池セルは、電池パックケースの床面に接着されている。
【先行技術文献】
【特許文献】
【0003】
特開2021-111520号公報
【発明の概要】
【発明が解決しようとする課題】
【0004】
上記特許文献1に記載の電池パックでは、電池セルと電池パックケースとを接着する接着材によって、電池セル(蓄電セル)において発生した煙をケース外に排出するのが阻害されることが考えられる。
【0005】
本開示は、上記課題を解決するためになされたものであり、その目的は、蓄電セルにおいて発生した煙をケース外に容易に排出することが可能な蓄電装置を提供することである。
【課題を解決するための手段】
【0006】
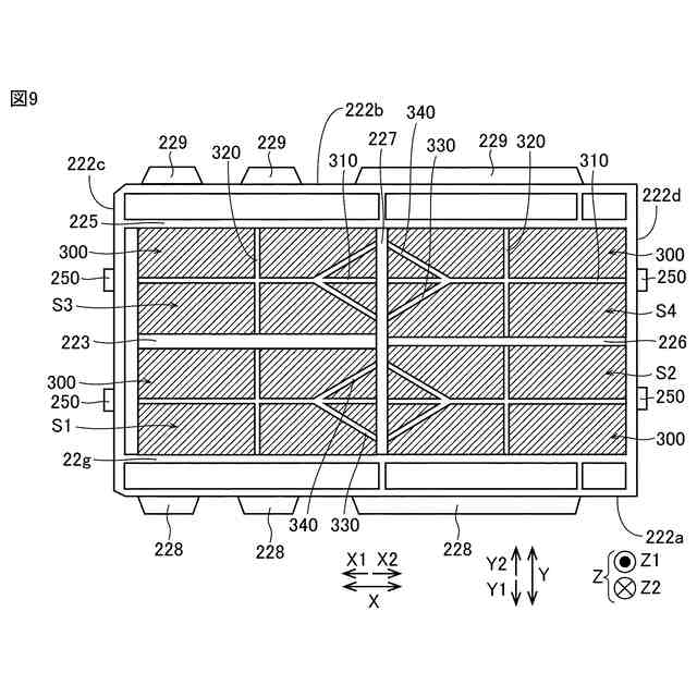
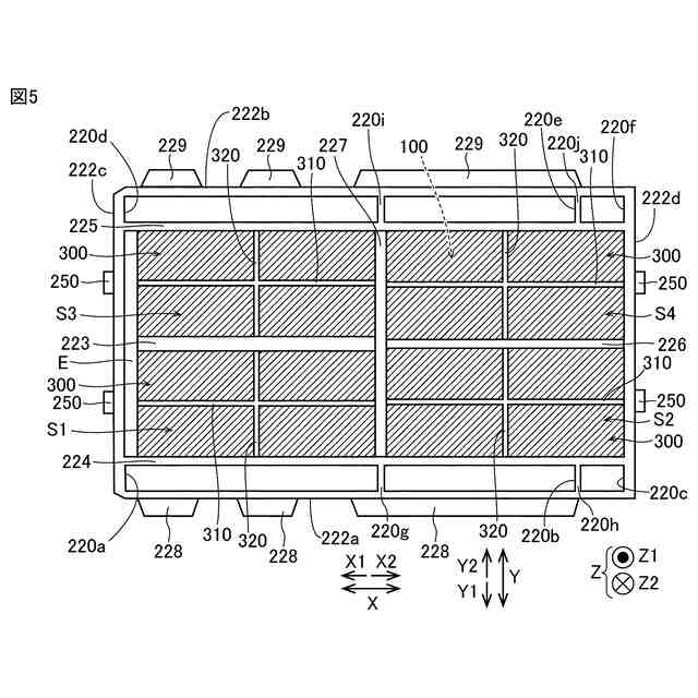
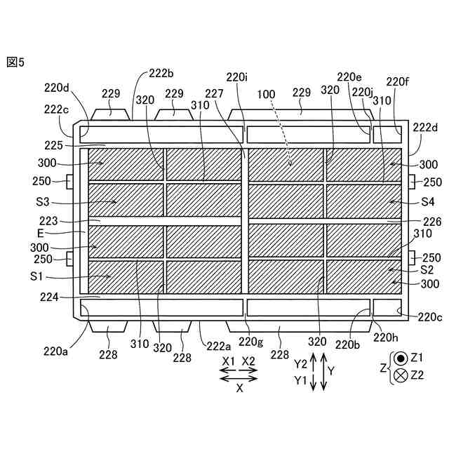
本開示の一の局面に係る蓄電装置は、複数の蓄電セルを含む蓄電モジュールと、蓄電モジュールを収容するケースと、複数の蓄電セルをケースに接着する接着部材と、ケースに設けられた排煙弁と、を備える。接着部材には、排煙弁に向けて延びる排煙通路が形成されている。
【0007】
本開示の一の局面に係る蓄電装置では、上記のように、接着部材には、排煙弁に向けて延びる排煙通路が形成されている。これにより、蓄電セルにおいて発生した煙を、排煙通路によって、排煙弁まで容易に移動させることができる。その結果、蓄電セルにおいて発生した煙をケース外に容易に排出することができる。
【0008】
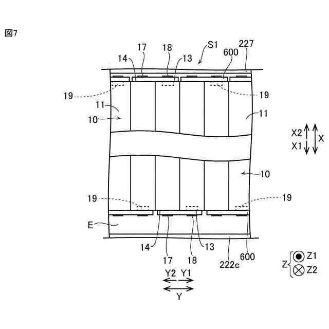
ケースは、複数の蓄電セルを第1方向の一方側から覆うように設けられ、接着部材によって前記複数の蓄電セルと接着される被覆部と、上記一方側から見て複数の蓄電セルを取り囲むように設けられるとともに、排煙弁が設けられた周壁部と、上記一方側から見て、複数の蓄電セルが収容されるケース内の空間を複数に区画する隔壁部と、を含んでいてもよい。排煙通路は、一方側から見て、隔壁部から周壁部の排煙弁に向けて延びていてもよい。ここで、蓄電セル同士の間に設けられる隔壁部には、蓄電セルからの煙が溜まりやすい。したがって、排煙通路が隔壁部から排煙弁に向けて延びていることは、煙をケース外に排出するのに特に効果的である。
【0009】
複数の蓄電セルの各々は、上記一方側から見て、第2方向に長尺に形成されていてもよい。複数の蓄電セルの各々の第2方向の一方端には、排気部が形成されていてもよい。複数の蓄電セルは、上記一方側から見て、第2方向と交差する第3方向に配列されていてもよい。隔壁部は、第3方向に延びる第1隔壁を含んでいてもよい。複数の蓄電セルは、複数の排気部が第1隔壁に沿って第3方向に配列されるように配置されていてもよい。このような構成により、第1隔壁に沿って配列される複数の排気部から排出された煙を、第1隔壁から排煙弁に向けて延びている排煙通路に容易に流入させることができる。
【0010】
周壁部は、第3方向に延びる第1側壁を含んでいてもよい。排煙弁は、第1側壁に設けられていてもよい。排煙通路は、第1隔壁と第1側壁との間において、第2方向に延びるように形成されていてもよい。このような構成により、排煙通路が第1隔壁と第1側壁との間において屈曲するように延びている場合に比べて、排煙通路の長さを小さくすることができる。その結果、排煙通路を通じて煙を速やかに排出することができる。
(【0011】以降は省略されています)
この特許をJ-PlatPat(特許庁公式サイト)で参照する
関連特許
トヨタ自動車株式会社
電池
3日前
トヨタ自動車株式会社
車両
2日前
トヨタ自動車株式会社
車両
1日前
トヨタ自動車株式会社
車両
8日前
トヨタ自動車株式会社
電池
4日前
トヨタ自動車株式会社
電動車
4日前
トヨタ自動車株式会社
固定子
2日前
トヨタ自動車株式会社
加熱器
1日前
トヨタ自動車株式会社
ケース
3日前
トヨタ自動車株式会社
電動車
8日前
トヨタ自動車株式会社
電動車
8日前
トヨタ自動車株式会社
電動車
8日前
トヨタ自動車株式会社
電解液
8日前
トヨタ自動車株式会社
電源装置
8日前
トヨタ自動車株式会社
監視装置
2日前
トヨタ自動車株式会社
製造装置
2日前
トヨタ自動車株式会社
二次電池
2日前
トヨタ自動車株式会社
塗工装置
2日前
トヨタ自動車株式会社
バッテリ
2日前
トヨタ自動車株式会社
バッテリ
2日前
トヨタ自動車株式会社
路側装置
3日前
トヨタ自動車株式会社
制御装置
3日前
トヨタ自動車株式会社
切断装置
8日前
トヨタ自動車株式会社
蓄電装置
3日前
トヨタ自動車株式会社
蓄電セル
8日前
トヨタ自動車株式会社
ロボット
4日前
トヨタ自動車株式会社
蓄電装置
1日前
トヨタ自動車株式会社
車両構造
1日前
トヨタ自動車株式会社
通話装置
1日前
トヨタ自動車株式会社
車載装置
1日前
トヨタ自動車株式会社
制御装置
1日前
トヨタ自動車株式会社
シフト機構
8日前
トヨタ自動車株式会社
ガスタンク
1日前
トヨタ自動車株式会社
電池パック
4日前
トヨタ自動車株式会社
電池パック
4日前
トヨタ自動車株式会社
三角表示板
1日前
続きを見る
他の特許を見る