TOP
|
特許
|
意匠
|
商標
特許ウォッチ
Twitter
他の特許を見る
公開番号
2025136423
公報種別
公開特許公報(A)
公開日
2025-09-19
出願番号
2024034996
出願日
2024-03-07
発明の名称
電動車両
出願人
トヨタ自動車株式会社
代理人
弁理士法人アイテック国際特許事務所
主分類
B60L
53/80 20190101AFI20250911BHJP(車両一般)
要約
【課題】交換式のバッテリと電力をやり取りする電動機からの動力により走行可能な電動車両において、バッテリの交換時における安全性を良好に確保する。
【解決手段】本開示の電動車両は、少なくとも1つの交換式のバッテリと、当該バッテリと電力をやり取りする電動機と、バッテリケースと、ロック装置とを含み、バッテリケースは、バッテリが挿抜される開口部を有するケース本体と、当該ケース本体の開口部を開閉する蓋体とを含み、ロック装置は、少なくとも電動車両の始動スイッチがオンされているときに、バッテリケースの蓋体を開放不能にロックする。
【選択図】図1
特許請求の範囲
【請求項1】
少なくとも1つの交換式のバッテリと、前記バッテリと電力をやり取りする電動機とを含み、前記電動機からの動力により走行可能な電動車両であって、
前記バッテリが挿抜される開口部を有するケース本体と、前記ケース本体の前記開口部を開閉する蓋体とを含むバッテリケースと、
少なくとも前記電動車両の始動スイッチがオンされているときに、前記蓋体を開放不能にロックするロック装置と、
を備える電動車両。
続きを表示(約 740 文字)
【請求項2】
請求項1に記載の電動車両において、
前記ロック装置は、前記蓋体の開放を許容するロック解除状態と前記蓋体の開放を規制するロック状態とを選択的に形成するロック機構と、通電に応じて前記ロック状態を形成するように前記ロック機構を駆動するソレノイドとを含み、
前記ロック装置の前記ソレノイドは、前記始動スイッチがオンされたのに応じて閉成されるリレーを介して電源に接続される電動車両。
【請求項3】
請求項2に記載の電動車両において、
前記ソレノイドは、前記ケース本体により支持され、
前記ロック機構は、前記ケース本体により回転自在に支持されると共に、前記ソレノイドにより回転駆動されて前記蓋体に設けられた被係合部に係合するロックレバーを含む電動車両。
【請求項4】
請求項1から3の何れか一項に記載の電動車両において、
前記バッテリケースは、前記蓋体の開閉を検知するスイッチを含み、
前記スイッチは、前記蓋体が閉鎖されたときに前記閉回路の閉成を許容すると共に、前記蓋体が開放されているときに前記バッテリを含む閉回路の閉成を禁止する電動車両。
【請求項5】
請求項4に記載の電動車両において、
励磁電流が供給されているときに閉成して前記閉回路の閉成を許容すると共に、前記励磁電流が供給されていないときに開成して前記閉回路の閉成を禁止する回路開閉リレーを更に備え、
前記スイッチは、前記蓋体が閉鎖されたときに閉成して前記回路開閉リレーへの前記励磁電流の供給を許容すると共に、前記蓋体が開放されたときに開成して前記回路開閉リレーへの前記励磁電流の供給を遮断する電動車両。
発明の詳細な説明
【技術分野】
【0001】
本開示は、交換式のバッテリと電力をやり取りする電動機からの動力により走行可能な電動車両に関する。
続きを表示(約 1,700 文字)
【背景技術】
【0002】
従来、乗員が足を載せるフロアの下方に設けられたバッテリ収納部を含み、当該バッテリ収納部にバッテリが脱着可能に収納される鞍乗型電動車両が知られている(例えば、特許文献1参照)。この鞍乗型電動車両のバッテリの上面には、上記フロアを形成するようにバッテリ収納部の蓋部材が一体化されている。また、バッテリの下面には、給電コネクタとストライカとが設けられている。更に、バッテリ収納部には、給電コネクタが接続される受電コネクタと、ストライカを固定するラッチとが設けられている。これにより、蓋部材を把持してバッテリをバッテリ収納部内へと下降させれば、給電コネクタが受電コネクタに接続されると共に、ストライカがラッチに固定される。また、メインキーを操作してストライカとラッチとの係止状態を解除すれば、蓋部材を持ち上げることにより給電コネクタを受電コネクタから離脱させて当該蓋部材と一体にバッテリを取り外すことができる。
【先行技術文献】
【特許文献】
【0003】
特開2013-208962号公報
【発明の概要】
【発明が解決しようとする課題】
【0004】
上記従来の鞍乗型電動車両では、ユーザがメインキーを操作してストライカとラッチとの係止状態を解除すれば、バッテリの取り外しが可能になるが、安全性の観点からは、むやみにバッテリの取り外しを許容すべきではない。
【0005】
そこで、本開示は、交換式のバッテリと電力をやり取りする電動機からの動力により走行可能な電動車両において、バッテリの交換時における安全性を良好に確保することを主目的とする。
【課題を解決するための手段】
【0006】
本開示の電動車両は、少なくとも1つの交換式のバッテリと、前記バッテリと電力をやり取りする電動機とを含み、前記電動機からの動力により走行可能な電動車両であって、前記バッテリが挿抜される開口部を有するケース本体と、前記ケース本体の前記開口部を開閉する蓋体とを含むバッテリケースと、少なくとも前記電動車両の始動スイッチがオンされているときに、前記蓋体を開放不能にロックするロック装置とを含むものである。
【0007】
本開示の電動車両では、少なくとも当該電動車両の始動スイッチがオンされているときに、交換式のバッテリを収容するバッテリケースの蓋体が開放不能にロックされる。これにより、電動車両において、バッテリを含む閉回路が形成されているときや、当該閉回路が形成される可能性があるときに、バッテリを交換しようとする作業者が当該バッテリに触れてしまうのを良好に抑制することができる。この結果、本開示の電動車両では、バッテリの交換時における安全性を良好に確保することが可能になる。
【図面の簡単な説明】
【0008】
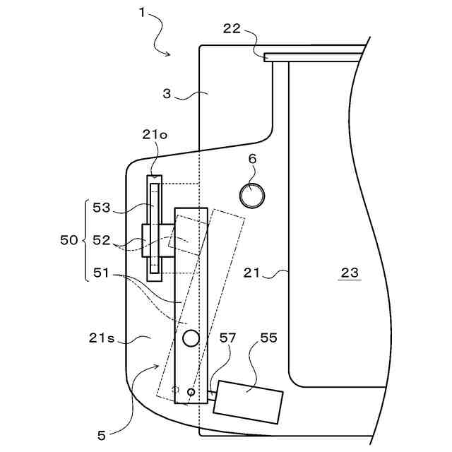
本開示の電動車両を示す概略構成図である。
本開示の電動車両に含まれるバッテリケースを示す概略構成図である。
本開示の電動車両に含まれるバッテリケースのロック装置を示す斜視図である。
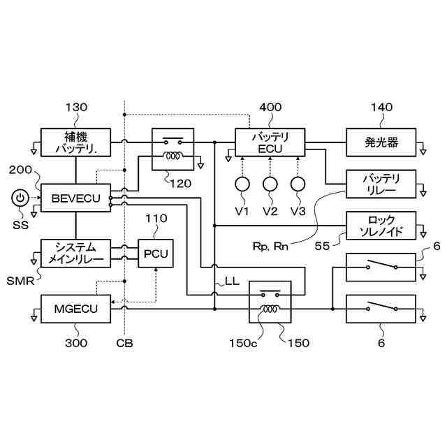
本開示の電動車両の制御ブロック図である。
本開示の電動車両におけるバッテリリレーの溶着判定処理を説明するためのタイムチャートである。
【発明を実施するための形態】
【0009】
次に、図面を参照しながら、本開示の発明を実施するための形態について説明する。
【0010】
図1は、本開示の電動車両100を示す概略構成図である。同図に示す電動車両100は、複数の交換式のバッテリ10と、常開型の機械式リレー(有接点リレー)であるシステムメインリレーSMRと、電力制御装置(以下、「PCU」という。)110と、モータジェネレータMGとを含むバッテリ電気自動車(BEV)である。PCU110は、モータジェネレータMGを駆動するインバータ(駆動回路)、昇圧コンバータ、DC/DCコンバータ等を含むものである。モータジェネレータMGは、同期発電電動機(三相交流電動機)である。
(【0011】以降は省略されています)
この特許をJ-PlatPat(特許庁公式サイト)で参照する
関連特許
トヨタ自動車株式会社
車両
2日前
トヨタ自動車株式会社
電池
2日前
トヨタ自動車株式会社
車両
23日前
トヨタ自動車株式会社
車両
12日前
トヨタ自動車株式会社
装置
22日前
トヨタ自動車株式会社
装置
22日前
トヨタ自動車株式会社
車両
21日前
トヨタ自動車株式会社
電動車
今日
トヨタ自動車株式会社
モータ
13日前
トヨタ自動車株式会社
ロータ
今日
トヨタ自動車株式会社
電動車
12日前
トヨタ自動車株式会社
サーバ
6日前
トヨタ自動車株式会社
回転子
13日前
トヨタ自動車株式会社
冷却装置
12日前
トヨタ自動車株式会社
駆動装置
20日前
トヨタ自動車株式会社
蓄電装置
12日前
トヨタ自動車株式会社
検査装置
2日前
トヨタ自動車株式会社
制御装置
13日前
トヨタ自動車株式会社
表示装置
14日前
トヨタ自動車株式会社
加熱装置
12日前
トヨタ自動車株式会社
制御装置
2日前
トヨタ自動車株式会社
蓄電装置
14日前
トヨタ自動車株式会社
制御装置
12日前
トヨタ自動車株式会社
給電装置
12日前
トヨタ自動車株式会社
制御装置
12日前
トヨタ自動車株式会社
制御装置
2日前
トヨタ自動車株式会社
水系電池
20日前
トヨタ自動車株式会社
蓄電装置
2日前
トヨタ自動車株式会社
内燃機関
12日前
トヨタ自動車株式会社
蓄電装置
6日前
トヨタ自動車株式会社
電動車両
12日前
トヨタ自動車株式会社
蓄電装置
2日前
トヨタ自動車株式会社
電動車両
12日前
トヨタ自動車株式会社
蓄電装置
12日前
トヨタ自動車株式会社
電動車両
21日前
トヨタ自動車株式会社
蓄電装置
2日前
続きを見る
他の特許を見る