TOP
|
特許
|
意匠
|
商標
特許ウォッチ
Twitter
他の特許を見る
10個以上の画像は省略されています。
公開番号
2025136052
公報種別
公開特許公報(A)
公開日
2025-09-19
出願番号
2024034222
出願日
2024-03-06
発明の名称
情報処理装置及び表示方法
出願人
シャープ株式会社
代理人
個人
,
個人
,
個人
,
個人
主分類
H04L
41/0823 20220101AFI20250911BHJP(電気通信技術)
要約
【課題】例えば、ネットワークの構成によってメッセージを表示し、ユーザが適切な設定を行うことができる情報処理装置等を提供することが可能となる。
【解決手段】ネットワークに接続して通信データを送受信する通信部と、前記通信部が受信した前記通信データから前記ネットワーク構成の変化を検出する検出部と、前記ネットワークにスパニングツリープロトコルが適用されているか、前記通信データから判定する判定部と、前記判定部が判定した結果に基づいて、ユーザにメッセージを表示する表示部と、を備える。
【選択図】図1
特許請求の範囲
【請求項1】
ネットワークに接続して通信データを送受信する通信部と、
前記通信部が受信した前記通信データから前記ネットワーク構成の変化を検出する検出部と、
前記ネットワークにスパニングツリープロトコルが適用されているか、前記通信データから判定する判定部と、
前記判定部が判定した結果に基づいて、ユーザにメッセージを表示する表示部と、
を備えた情報処理装置。
続きを表示(約 1,000 文字)
【請求項2】
通常モードと省電力モードとを切り替える切替部を更に有し、
前記表示部は、前記判定部が判定した結果に基づいて、前記切替部が前記省電力モードに切り替える可否についてのメッセージを表示する請求項1に記載の情報処理装置。
【請求項3】
前記判定部は、前記ネットワークにスパニングツリープロトコルが適用されていると判定したとき、前記切替部が前記省電力モードに切り替えることを不可とする請求項2に記載の情報処理装置。
【請求項4】
前記判定部は、前記ネットワークにスパニングツリープロトコルが適用されていないと判定したとき、前記切替部が前記省電力モードに切り替えることを可とする請求項2に記載の情報処理装置。
【請求項5】
前記判定部は、前記ネットワークに拡張STPが適用されていると判定したとき、前記切替部が前記省電力モードに切り替えることを可とする請求項2に記載の情報処理装置。
【請求項6】
前記通信部の通信速度を設定する設定部を更に有し、
前記表示部は、前記判定部が判定した結果に基づいて、前記通信速度を設定する設定画面の表示を促すメッセージを表示する請求項1に記載の情報処理装置。
【請求項7】
前記表示部は、前記設定画面のうち、前記通信速度を設定する画面に遷移するための入力を受け付ける表示を更に行う請求項6に記載の情報処理装置。
【請求項8】
通常モードと省電力モードとを切り替える切替部を更に有し、
前記省電力モードへの移行時間を設定する設定部を更に有し、
前記表示部は、前記判定部が判定した結果に基づいて、メッセージを表示し、
前記設定部が前記省電力モードへの移行時間を延長する請求項1に記載の情報処理装置。
【請求項9】
通常モードと省電力モードとを切り替える切替部を更に有し、
前記省電力モードへの移行時間を設定する設定部を更に有し、
前記表示部は、前記判定部が判定した結果に基づいて、前記省電力モードへの移行時間を設定する設定画面の表示を促すメッセージを表示する請求項1に記載の情報処理装置。
【請求項10】
前記表示部は、前記設定画面のうち、前記省電力モードへの移行時間を設定する画面に遷移するための入力を受け付ける表示を更に行う請求項9に記載の情報処理装置。
(【請求項11】以降は省略されています)
発明の詳細な説明
【技術分野】
【0001】
本開示は、情報処理装置等に関する。
続きを表示(約 1,600 文字)
【背景技術】
【0002】
例えば、特許文献1に示すようにネットワーク接続し、省電力制御をすることができる情報処理装置が知られている。
【先行技術文献】
【特許文献】
【0003】
特開2010-263551号
【発明の概要】
【発明が解決しようとする課題】
【0004】
本開示は、例えば、ネットワークの構成によってメッセージを表示し、ユーザが適切な設定を行うことができる情報処理装置等を提供することを目的の一つとする。
【課題を解決するための手段】
【0005】
本開示の情報処理装置は、ネットワークに接続して通信データを送受信する通信部と、 前記通信部が受信した前記通信データから前記ネットワーク構成の変化を検出する検出部と、前記ネットワークにスパニングツリープロトコルが適用されているか、前記通信データから判定する判定部と、前記判定部が判定した結果に基づいて、ユーザにメッセージを表示する表示部と、を備えている。
【0006】
本開示の表示方法は、ネットワークに接続して通信データを送受信する通信ステップと、前記ネットワークの構成の変化を検出する検出ステップと、前記ネットワークにスパニングツリープロトコルが適用されているか判定する判定ステップと、前記判定ステップが判定した結果に基づいて、ユーザにメッセージを表示する表示ステップ、を含む。
【発明の効果】
【0007】
本発明によれば、例えば、ネットワークの構成によってメッセージを表示し、ユーザが適切な設定を行うことができる情報処理装置等を提供することが可能となる。
【図面の簡単な説明】
【0008】
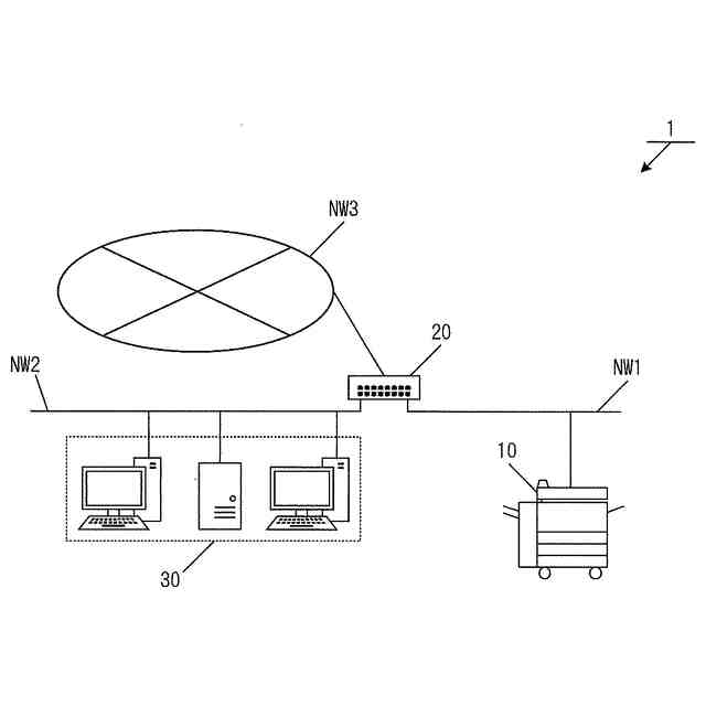
第1実施形態における表示システムの概要を説明するための図である。
第1実施形態における情報処理装置のハードウェアの構成を説明する図である。
第1実施形態におけるソフトウェアの構成を説明するための図である。
第1実施形態における設定情報の一例を説明する図である。
第1実施形態における処理の流れを説明する図である。
第1実施形態における動作例を説明する図である。
第2実施形態における処理の流れを説明する図である。
第2実施形態における動作例を説明する図である。
第3実施形態における処理の流れを説明する図である。
第3実施形態における動作例を説明する図である。
第4実施形態における処理の流れを説明する図である。
第4実施形態における動作例を説明する図である。
第5実施形態における処理の流れを説明する図である。
第5実施形態における動作例を説明する図である。
第6実施形態における処理の流れを説明する図である。
【発明を実施するための形態】
【0009】
一般的に情報処理装置は、制御部において情報処理装置の各種設定を実行する。制御部は各種設定を実行するための情報を設定情報として記憶部に記憶する。例えば、情報処理装置の一種である画像形成装置において、画像形成装置の省電力制御を行う場合、ネットワークの構成によっては、省電力制御を行うことで不具合が起きてしまうことがある。
【0010】
例えば、スパニングツリープロトコル(IEEE 802.1D)が適用されているネットワークにおいて、画像形成装置が省電力制御を行った場合、例えば、省電力制御のために、通信部の電源をオフにする制御や、通信速度をGbEなど高速なものから10BASE程度の低速なものに落とすなどの制御を行うことが行われる。画像形成装置が、通信部の電源をオフにすることでネットワークから切り離されたり、通信速度を変化させたりすることは、ネットワークの構成を変化させることを意味する。
(【0011】以降は省略されています)
この特許をJ-PlatPat(特許庁公式サイト)で参照する
関連特許
シャープ株式会社
冷蔵庫
13日前
シャープ株式会社
冷蔵庫
21日前
シャープ株式会社
表示装置
14日前
シャープ株式会社
加湿装置
3日前
シャープ株式会社
空気調和機
7日前
シャープ株式会社
加熱調理器
13日前
シャープ株式会社
空気調和機
7日前
シャープ株式会社
空気調和機
7日前
シャープ株式会社
画像形成装置
21日前
シャープ株式会社
画像形成装置
13日前
シャープ株式会社
画像形成装置
13日前
シャープ株式会社
画像形成装置
6日前
シャープ株式会社
画像形成装置
6日前
シャープ株式会社
駐車制御装置
6日前
シャープ株式会社
画像形成装置
7日前
シャープ株式会社
ファクシミリ装置
14日前
シャープ株式会社
電子部品の筐体構造
21日前
シャープ株式会社
回収装置及び清掃具
今日
シャープ株式会社
回収装置及び清掃具
今日
シャープ株式会社
回収装置及び清掃具
今日
シャープ株式会社
測定装置及び測定方法
23日前
シャープ株式会社
スタンド及び表示装置
15日前
シャープ株式会社
室外機及び空気調和機
7日前
シャープ株式会社
画像形成装置の定着装置
21日前
シャープ株式会社
断熱箱体、および冷蔵庫
6日前
シャープ株式会社
断熱箱体、および冷蔵庫
6日前
シャープ株式会社
集塵装置および電気掃除機
22日前
シャープ株式会社
画像形成装置及び現像装置
6日前
シャープ株式会社
制御装置及び画像形成装置
27日前
シャープ株式会社
緩衝材及び洗濯機の梱包体
23日前
シャープ株式会社
情報処理装置及び表示方法
23日前
シャープ株式会社
情報処理装置及び表示方法
13日前
シャープ株式会社
固定機構および画像形成装置
6日前
シャープ株式会社
原稿送り装置及び画像形成装置
13日前
シャープ株式会社
端末装置、方法、および集積回路
3日前
シャープ株式会社
加熱調理機及び加熱調理システム
27日前
続きを見る
他の特許を見る