TOP
|
特許
|
意匠
|
商標
特許ウォッチ
Twitter
他の特許を見る
公開番号
2025136799
公報種別
公開特許公報(A)
公開日
2025-09-19
出願番号
2024035653
出願日
2024-03-08
発明の名称
リチウムイオン二次電池の処理容器
出願人
DOWAエコシステム株式会社
代理人
個人
,
個人
主分類
C22B
7/00 20060101AFI20250911BHJP(冶金;鉄または非鉄合金;合金の処理または非鉄金属の処理)
要約
【課題】リチウムイオン二次電池から、アルミニウム等の溶融金属と、非溶融の材料とを安定して分離する。
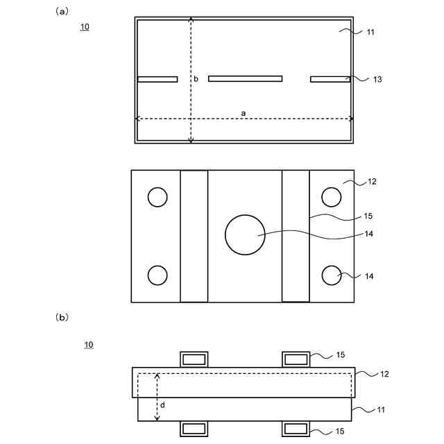
【解決手段】リチウムイオン二次電池を収納し、アルミニウムの融点よりも高い温度で加熱処理する際に用いられるリチウムイオン二次電池の処理容器であって、リチウムイオン二次電池を収納する本体部と、開閉可能な蓋部と、を有し、本体部は、溶融したアルミニウムを容器外に分離するための第1開口部を底部に有し、蓋部は、上面に1つまたは複数の第2開口部を有し、本体部の底面外側に、筒状の支持部が複数設けられている、リチウムイオン二次電池の処理容器。
【選択図】図1
特許請求の範囲
【請求項1】
リチウムイオン二次電池を収納し、アルミニウムの融点よりも高い温度で加熱処理する際に用いられるリチウムイオン二次電池の処理容器であって、
リチウムイオン二次電池を収納する本体部と、開閉可能な蓋部と、を有し、
前記本体部は、溶融したアルミニウムを容器外に分離するための第1開口部を底部に有し、
前記蓋部は、上面に1つまたは複数の第2開口部を有し、
前記本体部の底面外側に、筒状の支持部が複数設けられている、リチウムイオン二次電池の処理容器。
続きを表示(約 500 文字)
【請求項2】
前記蓋部にも、前記支持部が複数設けられている、請求項1に記載のリチウムイオン二次電池の処理容器。
【請求項3】
前記蓋部は、前記本体部の側面の少なくとも一部を覆うように構成されている、請求項1に記載のリチウムイオン二次電池の処理容器。
【請求項4】
前記第1開口部は、スリット形状である、請求項1に記載のリチウムイオン二次電池の処理容器。
【請求項5】
前記第1開口部の長手方向と、前記本体部の前記支持部の長手方向との交点が、前記本体部の底面上に存在する、請求項4に記載のリチウムイオン二次電池の処理容器。
【請求項6】
前記第2開口部は、円形状または楕円形状である、請求項1に記載のリチウムイオン二次電池の処理容器。
【請求項7】
前記第2開口部は、前記蓋部の上面全体の面積に対して、2%以上20%以下の開口率である、請求項1に記載のリチウムイオン二次電池の処理容器。
【請求項8】
前記本体部の内壁にアルミナがコーティングされている、請求項1に記載のリチウムイオン二次電池の処理容器。
発明の詳細な説明
【技術分野】
【0001】
本発明は、リチウムイオン二次電池の処理容器に関する。
続きを表示(約 1,600 文字)
【背景技術】
【0002】
使用済のリチウムイオン二次電池を焼却処理し、有価物を分離回収する方法が知られている。例えば、特許文献1には、700℃から1000℃で溶融する金属を含むリチウムイオン二次電池を前記金属の融点よりも高い温度で焼却処理する焼却炉に用いられる溶融金属の回収容器であって、前記リチウムイオン二次電池が載せられ、前記リチウムイオン二次電池から流出した溶融金属を受け止める形状を有し、該回収容器の内面は前記溶融金属の固着を抑制する固着抑制面となっており、該回収容器の底部内面より高い位置で前記リチウムイオン二次電池を支持する支持部と前記溶融金属が貯留する貯留部とが形成されるように、該回収容器の底部内面から上方に突出する前記リチウムイオン二次電池の支持部材が設けられている、溶融金属の回収容器が開示されている。
【0003】
また例えば、特許文献2には、電池ケースの構成材として少なくともアルミニウム材が使用されている廃リチウムイオン電池を660℃以上の温度で加熱してアルミニウム材を溶融せしめることによって、溶融したアルミニウム材と、電池本体部を構成する非溶融の材料とを分離する溶融分離工程と、前記溶融分離工程で得られた非溶融の材料を粉砕して粉砕物を得る粉砕工程と、を含み、前記溶融分離工程において、網状体の上に載置した前記廃リチウムイオン電池を660℃以上の温度で加熱することによって、アルミニウム材を溶融させて前記網状体の網目から落下させ、電池本体部を構成する非溶融の材料を前記網状体上に残存させることにより、溶融したアルミニウム材と、非溶融の材料とを分離することを特徴とするリチウムイオン電池からの有価物の回収方法が開示されている。
【先行技術文献】
【特許文献】
【0004】
特開2021-138996号公報
特許第6268130号公報
【発明の概要】
【発明が解決しようとする課題】
【0005】
本発明の一実施形態は、リチウムイオン二次電池から、アルミニウム等の溶融金属と、非溶融の材料とを安定して効率よく分離することを目的とする。特に、リチウムイオン二次電池の複数のセルの集合体であるモジュール(またはパック)の状態でも、安定して加熱処理できる技術を提供する。
【課題を解決するための手段】
【0006】
本発明の第1の態様は、
リチウムイオン二次電池を収納し、アルミニウムの融点よりも高い温度で加熱処理する際に用いられるリチウムイオン二次電池の処理容器であって、
リチウムイオン二次電池を収納する本体部と、開閉可能な蓋部と、を有し、
前記本体部は、溶融したアルミニウムを容器外に分離するための第1開口部を底部に有し、
前記蓋部は、上面に1つまたは複数の第2開口部を有し、
前記本体部の底面外側に、筒状の支持部が複数設けられている、リチウムイオン二次電池の処理容器である。
【0007】
本発明の第2の態様は、
前記蓋部にも、前記支持部が複数設けられている、上記第1の態様に記載のリチウムイオン二次電池の処理容器である。
【0008】
本発明の第3の態様は、
前記蓋部は、前記本体部の側面の少なくとも一部を覆うように構成されている、上記第1の態様に記載のリチウムイオン二次電池の処理容器である。
【0009】
本発明の第4の態様は、
前記第1開口部は、スリット形状である、上記第1の態様に記載のリチウムイオン二次電池の処理容器である。
【0010】
本発明の第5の態様は、
前記第1開口部の長手方向と、前記本体部の前記支持部の長手方向との交点が、前記本体部の底面上に存在する、上記第4の態様に記載のリチウムイオン二次電池の処理容器である。
(【0011】以降は省略されています)
この特許をJ-PlatPat(特許庁公式サイト)で参照する
関連特許
個人
銅鉄合金の製造
2か月前
株式会社プロテリアル
焼結体
7か月前
個人
高強度せん断補強筋用の鋼材
5か月前
宏幸株式会社
金属回収方法
5か月前
株式会社神戸製鋼所
鋼材
5か月前
ハイモ株式会社
水中金属の回収除去方法
8か月前
株式会社クボタ
比重分離装置
6か月前
JX金属株式会社
銅製錬の操業方法
8か月前
株式会社クボタ
比重分離装置
6か月前
株式会社クボタ
比重分離装置
6か月前
国立大学法人東北大学
高耐食銅合金
8か月前
株式会社神戸製鋼所
銅合金板
1か月前
日本製鉄株式会社
鋼材
5か月前
日本製鉄株式会社
線材
3か月前
日本製鉄株式会社
鋼材
5か月前
日本製鉄株式会社
鋼材
1か月前
日本製鉄株式会社
鋼材
1か月前
日本製鉄株式会社
鋼材
1か月前
日本製鉄株式会社
鋼材
5か月前
日本製鉄株式会社
鋼材
1か月前
日本製鉄株式会社
鋼材
2か月前
日本製鉄株式会社
鋼材
6か月前
日本製鉄株式会社
鋼材
4か月前
日本製鉄株式会社
鋼線
3か月前
日本製鉄株式会社
鋼線
8か月前
大同特殊鋼株式会社
鋼材及び金型
2か月前
大同メタル工業株式会社
摺動材料
2か月前
日本製鉄株式会社
鋼材
7か月前
国立大学法人東北大学
腐食環境用銅合金
8か月前
日本製鉄株式会社
ボルト
1か月前
日本製鉄株式会社
ボルト
6日前
日本製鉄株式会社
鉄道車輪
4か月前
JFEスチール株式会社
浸炭鋼部品
6か月前
日本製鉄株式会社
鉄道車輪
4か月前
日本製鉄株式会社
焼結鉱の製造方法
16日前
住友金属鉱山株式会社
銅の製造方法
2か月前
続きを見る
他の特許を見る