TOP
|
特許
|
意匠
|
商標
特許ウォッチ
Twitter
他の特許を見る
10個以上の画像は省略されています。
公開番号
2025136814
公報種別
公開特許公報(A)
公開日
2025-09-19
出願番号
2024035679
出願日
2024-03-08
発明の名称
研磨ヘッド、研磨装置、および研磨方法
出願人
株式会社荏原製作所
代理人
個人
,
個人
,
個人
主分類
B24B
21/08 20060101AFI20250911BHJP(研削;研磨)
要約
【課題】基板の膜厚プロファイルを精度よく制御することができる研磨装置が提供される。
【解決手段】研磨装置は、研磨ヘッドと、ヘッド回転機構と、を備える。研磨ヘッドは、研磨テープを支持するパッド部材を備えている。ヘッド回転機構は、研磨テープとともにパッド部材を回転させるように構成されている。
【選択図】図1
特許請求の範囲
【請求項1】
研磨装置であって、
基板を保持し、かつ前記基板を所定の回転角度で回転させる基板保持部と、
前記基板保持部に保持された前記基板に研磨テープを押し付けるように構成された研磨ヘッドと、
前記研磨ヘッドを回転させるヘッド回転機構と、を備え、
前記研磨ヘッドは、前記研磨テープを支持するパッド部材を備えており、
前記ヘッド回転機構は、前記研磨テープとともに前記パッド部材を回転させるように構成されている、研磨装置。
続きを表示(約 1,100 文字)
【請求項2】
前記研磨ヘッドは、前記ヘッド回転機構が前記研磨テープおよび前記パッド部材を回転させているときに、前記パッド部材に押付力を付与して、前記研磨テープを前記基板に押し付けるパッド押付機構を備えている、請求項1に記載の研磨装置。
【請求項3】
前記研磨装置は、前記研磨ヘッドと、前記ヘッド回転機構と、を連結するロータリージョイントを備えており、
前記研磨ヘッドは、前記ロータリージョイントの回転部に連結されている、請求項1に記載の研磨装置。
【請求項4】
前記パッド部材は、前記基板の直径よりも小さな直径を有している、請求項1に記載の研磨装置。
【請求項5】
研磨具を基板に押し付けるように構成された研磨ヘッドであって、
前記研磨具を支持し、かつ前記基板に対する押圧面積を切り替えるように構成された押圧パッド構造と、
前記押圧パッド構造に押付力を付与して、前記研磨具を前記基板に押し付けるパッド押付機構と、を備えている、研磨ヘッド。
【請求項6】
前記押圧パッド構造は、
パッド部材と、
前記パッド部材を取り囲む環状パッドと、を備えている、請求項5に記載の研磨ヘッド。
【請求項7】
前記押圧パッド構造は、前記押圧面積として、前記パッド部材を前記基板に押し付けることによって形成される第1押圧面積と、前記パッド部材および前記環状パッドを前記基板に押し付けることによって形成される第2押圧面積と、を切り替えるように構成されている、請求項6に記載の研磨ヘッド。
【請求項8】
前記パッド押付機構は、
前記パッド部材に連結された第1押付装置と、
前記環状パッドに連結された第2押付装置と、を備えており、
前記第1押付装置は、前記パッド部材を前記基板に押し付けることによって、前記第1押圧面積を形成し、
前記第1押付装置および前記第2押付装置は、前記パッド部材および前記環状パッドを前記基板に押し付けることによって、前記第2押圧面積を形成する、請求項7に記載の研磨ヘッド。
【請求項9】
前記研磨具は、前記押圧パッド構造に支持された研磨テープまたは砥石に相当する、請求項5に記載の研磨ヘッド。
【請求項10】
研磨装置であって、
基板を保持し、かつ前記基板を所定の回転角度で回転させる基板保持部と、
前記基板保持部に保持された前記基板に研磨具を押し付けるように構成された請求項5乃至請求項9のいずれか一項に記載の研磨ヘッドと、を備えている、研磨装置。
(【請求項11】以降は省略されています)
発明の詳細な説明
【技術分野】
【0001】
本発明は、研磨ヘッド、研磨装置、および研磨方法に関する。
続きを表示(約 1,600 文字)
【背景技術】
【0002】
半導体デバイスの製造では、基板の一例であるウェハ上に様々な種類の膜が形成される。膜の不要な部分や表面凹凸を除去するために、ウェハが研磨される。化学機械研磨(CMP)は、ウェハ研磨の代表的な技術である。
【先行技術文献】
【特許文献】
【0003】
特開2016-58724号公報
【発明の概要】
【発明が解決しようとする課題】
【0004】
昨今の半導体デバイスの製造における各工程への要求精度は、既に数nmのオーダに達しており、CMPもその例外ではない。また、半導体集積回路の高集積化に伴い、微細化、多層化がますます加速している。
【0005】
したがって、これらの微細化や多層化を実現するには、CMPにおいても、ウェハの全面において、CMP後の膜厚のばらつきを数nmオーダのばらつきに収めることが課題として求められている。このような要求を満たすためには、ウェハ上における小さな領域ごとに、ウェハの膜厚プロファイルを精度よく制御することが必要である。
【0006】
そこで、本発明は、基板の膜厚プロファイルを精度よく制御することができる研磨ヘッド、研磨装置、および研磨方法を提供することを目的とする。
【課題を解決するための手段】
【0007】
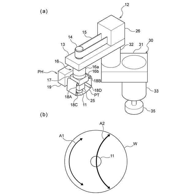
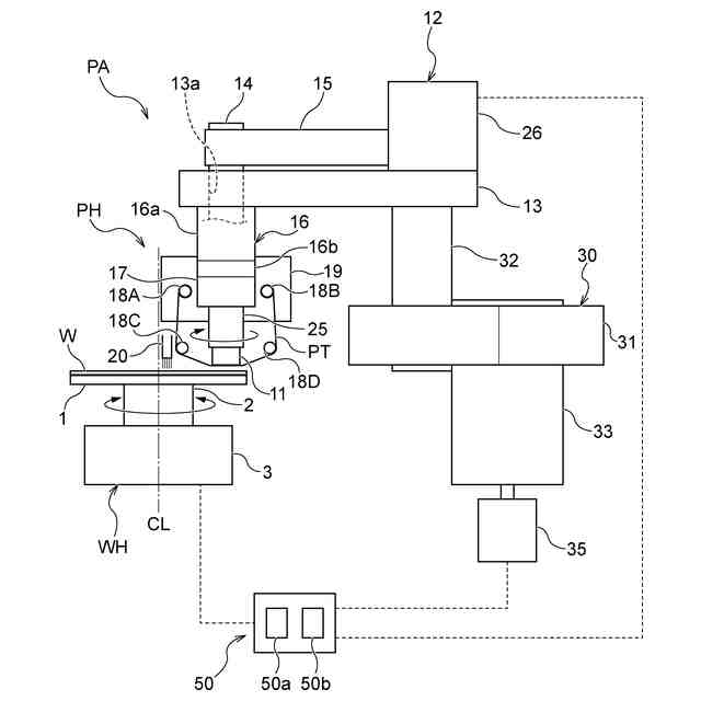
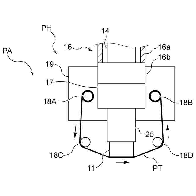
一態様では、研磨装置が提供される。研磨装置は、基板を保持し、かつ前記基板を所定の回転角度で回転させる基板保持部と、前記基板保持部に保持された前記基板に研磨テープを押し付けるように構成された研磨ヘッドと、前記研磨ヘッドを回転させるヘッド回転機構と、を備える。前記研磨ヘッドは、前記研磨テープを支持するパッド部材を備えており、前記ヘッド回転機構は、前記研磨テープとともに前記パッド部材を回転させるように構成されている。
【0008】
一態様では、前記研磨ヘッドは、前記ヘッド回転機構が前記研磨テープおよび前記パッド部材を回転させているときに、前記パッド部材に押付力を付与して、前記研磨テープを前記基板に押し付けるパッド押付機構を備えている。
一態様では、前記研磨装置は、前記研磨ヘッドと、前記ヘッド回転機構と、を連結するロータリージョイントを備えており、前記研磨ヘッドは、前記ロータリージョイントの回転部に連結されている。
一態様では、前記パッド部材は、前記基板の直径よりも小さな直径を有している。
【0009】
一態様では、研磨具を基板に押し付けるように構成された研磨ヘッドが提供される。研磨ヘッドは、前記研磨具を支持し、かつ前記基板に対する押圧面積を切り替えるように構成された押圧パッド構造と、前記押圧パッド構造に押付力を付与して、前記研磨具を前記基板に押し付けるパッド押付機構と、を備えている。
【0010】
一態様では、前記押圧パッド構造は、パッド部材と、前記パッド部材を取り囲む環状パッドと、を備えている。
一態様では、前記押圧パッド構造は、前記押圧面積として、前記パッド部材を前記基板に押し付けることによって形成される第1押圧面積と、前記パッド部材および前記環状パッドを前記基板に押し付けることによって形成される第2押圧面積と、を切り替えるように構成されている。
一態様では、前記パッド押付機構は、前記パッド部材に連結された第1押付装置と、前記環状パッドに連結された第2押付装置と、を備えており、前記第1押付装置は、前記パッド部材を前記基板に押し付けることによって、前記第1押圧面積を形成し、前記第1押付装置および前記第2押付装置は、前記パッド部材および前記環状パッドを前記基板に押し付けることによって、前記第2押圧面積を形成する。
一態様では、前記研磨具は、前記押圧パッド構造に支持された研磨テープまたは砥石に相当する。
(【0011】以降は省略されています)
この特許をJ-PlatPat(特許庁公式サイト)で参照する
関連特許
株式会社荏原製作所
モータポンプ
12日前
株式会社荏原製作所
熱媒体供給装置
12日前
株式会社荏原製作所
蒸気発電プラント
5日前
株式会社荏原製作所
研磨方法および研磨装置
今日
株式会社荏原製作所
研磨方法および研磨装置
12日前
株式会社荏原製作所
排ガス処理装置および排ガス処理方法
13日前
株式会社荏原製作所
可動装置、研磨装置および基板処理装置
12日前
株式会社荏原製作所
基板洗浄装置のキャリブレーション方法および基板洗浄方法
7日前
株式会社荏原製作所
基板表面近傍の液置換状態を評価する方法および評価用基板
12日前
オリオン機械株式会社
ヒータおよびこれを有する液体温調装置
1日前
株式会社荏原製作所
情報処理装置、基板研磨装置、推論装置、機械学習装置、情報処理方法、推論方法、及び、機械学習方法
5日前
個人
包丁研ぎ器具
2か月前
株式会社松風
研磨用ゴム砥石
5日前
個人
研磨体
4か月前
株式会社クボタ
管研削装置
3か月前
株式会社東京精密
研削装置
1日前
株式会社村田製作所
切削装置
4か月前
株式会社ディスコ
被加工物の加工方法
26日前
不二空機株式会社
可搬型動力工具
4か月前
株式会社東京精密
加工装置
5日前
株式会社ニッチュー
ブラスト装置
3か月前
シンクス株式会社
ボード切断装置
4か月前
ノリタケ株式会社
超砥粒ホイール
5日前
株式会社東京精密
加工装置
7日前
株式会社東京精密
加工方法
7日前
ノリタケ株式会社
研磨パッド
5日前
トヨタ自動車株式会社
回転砥石の製造方法
2か月前
オークマ株式会社
円筒研削盤
3か月前
株式会社ディスコ
砥石
3か月前
秀和工業株式会社
処理装置および処理方法
28日前
富士紡ホールディングス株式会社
研磨パッド
1日前
富士紡ホールディングス株式会社
研磨パッド
1日前
富士紡ホールディングス株式会社
研磨パッド
1日前
富士紡ホールディングス株式会社
研磨パッド
1日前
株式会社東京精密
研削装置
1か月前
株式会社アイドゥス企画
受動変形内面研磨ホイール
2か月前
続きを見る
他の特許を見る