TOP
|
特許
|
意匠
|
商標
特許ウォッチ
Twitter
他の特許を見る
10個以上の画像は省略されています。
公開番号
2025145721
公報種別
公開特許公報(A)
公開日
2025-10-03
出願番号
2024046048
出願日
2024-03-22
発明の名称
可動装置、研磨装置および基板処理装置
出願人
株式会社荏原製作所
代理人
個人
,
個人
,
個人
主分類
B23Q
15/12 20060101AFI20250926BHJP(工作機械;他に分類されない金属加工)
要約
【課題】可動部材の周囲に配置される部材の位置決めを容易にする。
【解決手段】可動装置は、可動部材と、検出器と、停止部と、制御装置と、を備え、目標位置、基準位置、第1位置および第2位置は、前記可動部材が移動または回転する方向に沿って、この順に位置しており、前記可動部材は、前記基準位置と前記目標位置との間を移動または回転し、前記検出器は、前記第1位置にある前記可動部材を検出し、前記停止部は、前記可動部材を前記第2位置で停止させ、前記制御装置は、前記検出器が前記可動部材を検出すると、前記可動部材の移動または回転を制限し、前記基準位置から前記第1位置までの前記方向に沿った第1距離は、前記基準位置から前記第2位置までの前記方向に沿った第2距離の30%以下であるか、前記基準位置から前記第1位置までの第1回転角度は、前記基準位置から前記第2位置までの第2回転角度の30%以下である。
【選択図】図5
特許請求の範囲
【請求項1】
可動部材と、
エンコーダを有し、前記可動部材を駆動するように構成された駆動装置と、
前記可動部材を検出する検出器と、
停止部と、
制御装置と、を備え、
前記可動部材は、目標位置、基準位置、第1位置および第2位置へと移動または回転可能に構成され、前記目標位置、前記基準位置、前記第1位置および前記第2位置は、前記可動部材が移動または回転する方向に沿って、この順に位置しており、
前記可動部材は、前記基準位置と前記目標位置との間を移動または回転するように構成され、
前記検出器は、前記第1位置にある前記可動部材を検出するように構成され、
前記停止部は、前記可動部材と接触することにより、前記可動部材を前記第2位置で停止させるように構成されており、
前記制御装置は、前記検出器が前記可動部材を検出すると、前記可動部材の移動または回転を制限するように構成され、
前記基準位置から前記第1位置までの前記方向に沿った第1距離は、前記基準位置から前記第2位置までの前記方向に沿った第2距離の30%以下であるか、前記基準位置から前記第1位置までの第1回転角度は、前記基準位置から前記第2位置までの第2回転角度の30%以下である、可動装置。
続きを表示(約 380 文字)
【請求項2】
前記第1距離は、前記第2距離の10%以上であるか、前記第1回転角度は、前記第2回転角度の10%以上である、請求項1に記載の可動装置。
【請求項3】
前記第2位置にある前記可動部材に最も近い、前記可動装置に配置された部材と、前記第2位置にある前記可動部材との間の距離は、前記可動部材の前記第2位置における移動方向の、前記可動部材の幅の0.5%以上である、請求項1または2に記載の可動装置。
【請求項4】
前記検出器は、フォトインタラプタを含む、請求項1または2に記載の可動装置。
【請求項5】
請求項1または2に記載の可動装置を備え、
前記可動部材は、研磨対象物を搬送するための揺動アームを含む、研磨装置。
【請求項6】
請求項5に記載の研磨装置を備える基板処理装置。
発明の詳細な説明
【技術分野】
【0001】
本発明は、可動装置、研磨装置および基板処理装置に関する。
続きを表示(約 2,700 文字)
【背景技術】
【0002】
目標位置と基準位置との間を移動または回転するように構成された可動部材を有する可動装置が知られている。このような可動部材は、目標位置から基準位置まで移動または回転する際に、一定程度、基準位置を通り過ぎて移動または回転することが許容され、オーバートラベル位置に到達したことが検出されると、緊急停止等の制御が行われるように構成される。可動部材がオーバートラベル位置を通り過ぎると、移動または回転の限界位置であるメカニカルストップ位置において衝突等により物理的に停止される。特許文献1では、研磨装置において、研磨アームが所定の揺動角度範囲を超えて揺動したオーバートラベルの検出信号により、研磨加工を中止する点が開示されている。
【0003】
一方、可動部材の大型化または可動装置において部材を密に配置することが要求され得る。例えば、半導体デバイスの製造において、基板の表面を平坦化するために化学機械研磨(CMP)装置が使用されている。基板の平坦化の要求が高まると共に、研磨装置における揺動アーム等の可動部材周辺に部材が密に配置されることが要求され得る。
【先行技術文献】
【特許文献】
【0004】
特開2007-301690号公報
【発明の概要】
【発明が解決しようとする課題】
【0005】
可動部材が大型化すると、移動または回転している可動部材を停止させる際により大きい慣性がかかるため、より長い距離の移動、またはより大きい角度の回転が必要となる。また、可動部材の周囲により多くの部材を配置する必要があると、可動部材の移動または回転する領域を狭くすることが要求され得る。可動部材の周囲に配置される部材の位置決め精度を確保しつつ、上述の基準位置、オーバートラベル位置およびメカニカルストップ位置を適切に配置することが望ましい。
【0006】
本発明は、上述した事情に鑑みてなされたもので、可動部材の周囲に配置される部材の位置決めを容易にする可動装置、研磨装置または基板処理装置を提供することを目的の1つとする。
【課題を解決するための手段】
【0007】
本発明の一実施形態によれば、可動装置は、可動部材と、エンコーダを有し、前記可動部材を駆動するように構成された駆動装置と、前記可動部材を検出する検出器と、停止部と、制御装置と、を備え、前記可動部材は、目標位置、基準位置、第1位置および第2位置へと移動または回転可能に構成されており、前記目標位置、前記基準位置、前記第1位置および前記第2位置は、前記可動部材が移動または回転する方向に沿って、この順に位置しており、前記可動部材は、前記基準位置と前記目標位置との間を移動または回転するように構成され、前記検出器は、前記第1位置にある前記可動部材を検出するように構成され、前記停止部は、前記可動部材と接触することにより、前記可動部材を前記第2位置で停止させるように構成されており、前記制御装置は、前記検出器が前記可動部材を検出すると、前記可動部材の移動または回転を制限するように構成され、前記基準位置から前記第1位置までの前記方向に沿った第1距離は、前記基準位置から前記第2位置までの前
記方向に沿った第2距離の30%以下であるか、前記基準位置から前記第1位置までの第1回転角度は、前記基準位置から前記第2位置までの第2回転角度の30%以下である。
【図面の簡単な説明】
【0008】
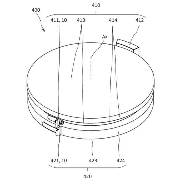
第1実施形態に係る基板処理装置の全体構成を示す平面図である。
第1実施形態に係る研磨ユニットの構成を概略的に示す斜視図である。
第1実施形態に係る可動部材を概略的に示す斜視図である。
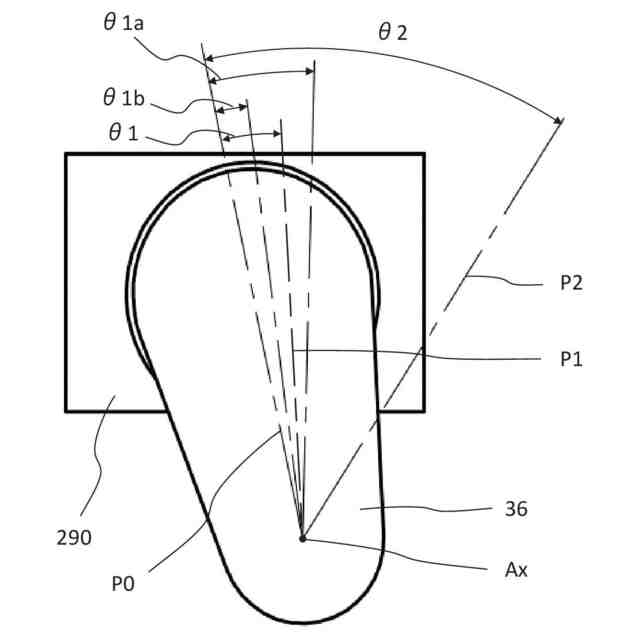
可動部材の目標位置および基準位置を概略的に示す平面図である。
可動部材の基準位置、第1位置および第2位置を概略的に示す平面図である。
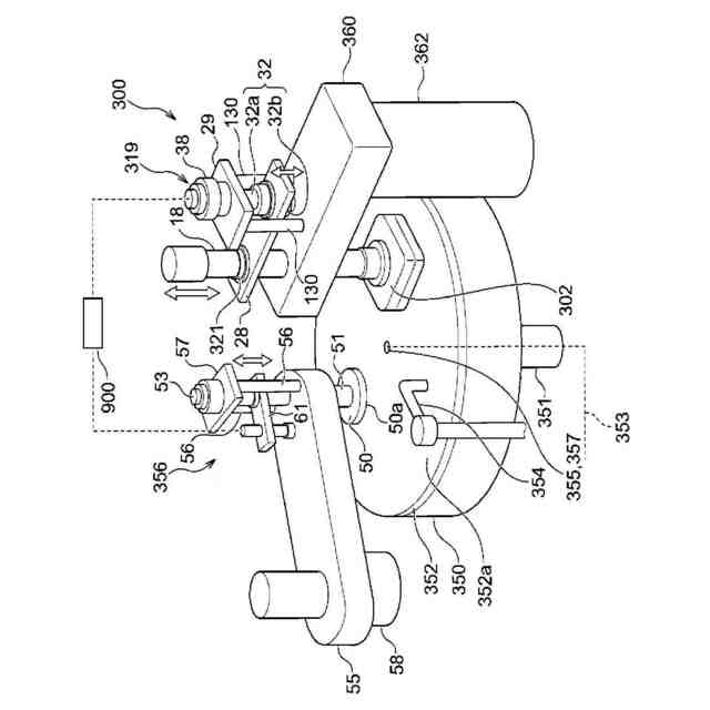
検出器を概略的に示す停止機構の斜視図である。
可動部材が基準位置にあるときの停止機構を概略的に示す側面図である。
可動部材が第1位置にあるときの停止機構を概略的に示す側面図である。
可動部材が第2位置にあるときの停止機構を概略的に示す側面図である。
停止部を概略的に示す停止機構の斜視図である。
可動部材が基準位置にあるときの停止機構を概略的に示す側面図である。
可動部材が第1位置にあるときの停止機構を概略的に示す側面図である。
可動部材が第2位置にあるときの停止機構を概略的に示す側面図である。
可動部材が第2位置にあるときのトップリング近傍を概略的に示す断面図である。
第2実施形態の可動装置の構成を示す概略図である。
【発明を実施するための形態】
【0009】
以下に、本発明に係る可動部材および基板処理装置の実施形態を添付図面とともに説明する。添付図面において、同一または類似の要素には同一または類似の参照符号が付され、各実施形態の説明において同一または類似の要素に関する重複する説明は省略することがある。また、各実施形態で示される特徴は、互いに矛盾しない限り他の実施形態にも適用可能である。
【0010】
第1実施形態
図1は、第1実施形態による基板処理装置1000の全体構成を示す平面図である。図1に示される基板処理装置1000は、ロードユニット100、搬送ユニット200、研磨ユニット300、乾燥ユニット500、およびアンロードユニット600を有する。図示の実施形態において、搬送ユニット200は、2つの搬送ユニット200A、200Bを有し、研磨ユニット300は、2つの研磨ユニット300A、300Bを有する。一実施形態において、これらの各ユニットは、独立に形成することができる。これらのユニットを独立して形成することで、各ユニットの数を任意に組み合わせることで異なる構成の基板処理装置1000を簡易に形成することができる。また、基板処理装置1000は、制御装置900を備え、基板処理装置1000の各構成要素は制御装置900により制御される。一実施形態において、制御装置900は、入出力装置、演算装置、記憶装置などを備える一般的なコンピュータから構成することができる。
(【0011】以降は省略されています)
この特許をJ-PlatPat(特許庁公式サイト)で参照する
関連特許
個人
フライス盤
28日前
個人
加工機
4か月前
麗豊実業股フン有限公司
ラクトバチルス・パラカセイNB23菌株及びそれを筋肉量の増加や抗メタボリック症候群に用いる用途
4か月前
日東精工株式会社
ねじ締め機
28日前
日東精工株式会社
ねじ締め機
1か月前
日東精工株式会社
ねじ締め機
4か月前
株式会社北川鉄工所
回転装置
3か月前
株式会社不二越
ドリル
4か月前
日東精工株式会社
ねじ締め装置
19日前
株式会社ダイヘン
溶接電源装置
2か月前
株式会社ダイヘン
溶接電源装置
2か月前
日東精工株式会社
ねじ締め装置
3か月前
株式会社ダイヘン
溶接電源装置
2か月前
株式会社FUJI
工作機械
3か月前
株式会社FUJI
工作機械
5日前
株式会社FUJI
工作機械
3か月前
個人
切削油供給装置
1か月前
キヤノン電子株式会社
加工システム
1か月前
株式会社アンド
半田付け方法
4か月前
株式会社アンド
半田付け方法
1か月前
個人
型枠製造装置のフレーム
9日前
株式会社アンド
半田付け方法
4か月前
村田機械株式会社
レーザ加工機
4か月前
村田機械株式会社
レーザ加工機
4か月前
株式会社トヨコー
被膜除去方法
4か月前
株式会社ツガミ
工作機械
1か月前
大見工業株式会社
ドリル
2か月前
トヨタ自動車株式会社
溶接ヘッド
3か月前
有限会社 ナプラ
ソルダペースト
3か月前
津田駒工業株式会社
センタリングバイス
1か月前
株式会社ダイヘン
溶接装置
3か月前
株式会社ダイヘン
溶接装置
3か月前
住友重機械工業株式会社
加工装置
3か月前
株式会社不二越
ブローチ盤
1か月前
トヨタ自動車株式会社
溶接マスク
3か月前
トヨタ自動車株式会社
溶接ヘッド
4か月前
続きを見る
他の特許を見る