TOP
|
特許
|
意匠
|
商標
特許ウォッチ
Twitter
他の特許を見る
公開番号
2025089733
公報種別
公開特許公報(A)
公開日
2025-06-16
出願番号
2023204542
出願日
2023-12-04
発明の名称
可搬型動力工具
出願人
不二空機株式会社
代理人
個人
,
個人
主分類
B24B
23/02 20060101AFI20250609BHJP(研削;研磨)
要約
【課題】被加工物の端部近傍の加工を安定して行うことができる可搬型動力工具を提供する。
【解決手段】モーター110と、モーター110によって回転させられる回転具120と、回転具120を底面側から突出させる筐体130と、を有し、下方に押し付けながら前方に移動させて使用する本体100と、本体100を支持するとともに本体100の前方への移動をガイドするガイドレール10と、を備え、ガイドレール10が、被加工物Wに敷設される敷設部Rと、敷設部Rから片持ち状に延長された延設部Eとを有している。
【選択図】図1
特許請求の範囲
【請求項1】
モーターと、モーターによって回転させられる回転具と、回転具を底面側から突出させる筐体と、を有し、下方に押し付けながら前方に移動させて使用する本体と、
本体を支持するとともに本体の前方への移動をガイドするガイドレールと、を備え、
ガイドレールが、被加工物に敷設される敷設部と、敷設部から片持ち状に延長された延設部とを有している、可搬型動力工具。
続きを表示(約 400 文字)
【請求項2】
ガイドレールが2本のレール材を有し、
回転具が、平面視、2本のレール材の間に位置している、請求項1記載の可搬型動力工具。
【請求項3】
ガイドレールが、被加工物に取り付けるための挟持手段を備えている、請求項1又は2記載の可搬型動力工具。
【請求項4】
ガイドレールが、被加工物に取り付けるための磁石を備えている、請求項1又は2記載の可搬型動力工具。
【請求項5】
本体が、ガイドレールに取り付けられる前脚と後脚とを備え、
ガイドレールが、被加工物の後端面に当接する当接面と、ガイドレール後端からの本体の抜け出しを規制するストッパとを備え、
ストッパによって本体の後方への移動を規制した状態で、前脚のガイドレールとの接点の少なくとも一部が当接面よりも前方に位置している、請求項1又は2記載の可搬型動力工具。
発明の詳細な説明
【技術分野】
【0001】
この発明は可搬型動力工具に関し、特に溶接ビードを研削又は切削するための可搬型動力工具に関する。
続きを表示(約 1,100 文字)
【背景技術】
【0002】
特許文献1には、4つの車輪を備える走行台車と、走行台車に搭載された電動機と、電動機に固定された研削砥石とを有し、走行台車をアルミニウム大板上で走行させながらビード面を切削する溶接ビード面研削装置が記載されている。
【先行技術文献】
【特許文献】
【0003】
特開平6-335850号公報
【発明の概要】
【発明が解決しようとする課題】
【0004】
特許文献1の溶接ビード面研削装置は、4つ全ての車輪をアルミニウム大板に載せた状態で切削することが前提となっている。そのため、いくつかの車輪がアルミニウム大板の外にはみ出してしまうような端部近傍では、安定した切削を行うことができない。
【0005】
そこで本発明は、被加工物の端部近傍の加工を安定して行うことができる可搬型動力工具の提供を目的とする。
【課題を解決するための手段】
【0006】
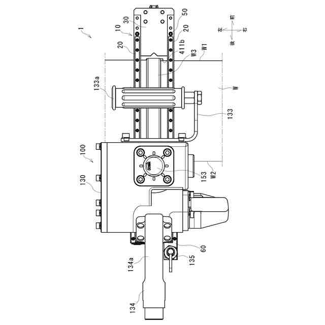
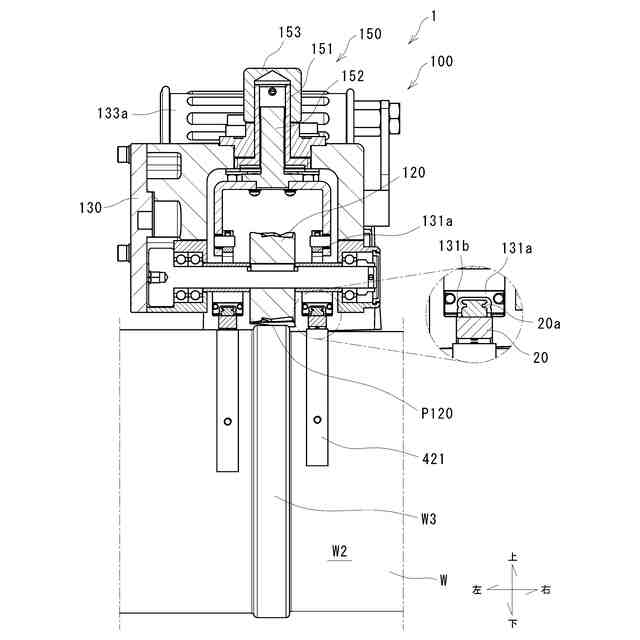
本発明の可搬型動力工具は、モーター110と、モーター110によって回転させられる回転具120と、回転具120を底面側から突出させる筐体130と、を有し、下方に押し付けながら前方に移動させて使用する本体100と、本体100を支持するとともに本体100の前方への移動をガイドするガイドレール10と、を備え、ガイドレール10が、被加工物Wに敷設される敷設部Rと、敷設部Rから片持ち状に延長された延設部Eとを有していることを特徴としている。
【0007】
この可搬型動力工具は、ガイドレール10が2本のレール材20を有し、回転具120が、平面視、2本のレール材20の間に位置していることが好ましい。
【0008】
また、ガイドレール10が、被加工物Wに取り付けるための挟持手段40を備えている、又は被加工物Wに取り付けるための磁石40Aを備えていることが好ましい。
【0009】
また、本体100が、ガイドレール10に取り付けられる前脚131と後脚132とを備え、ガイドレール10が、被加工物Wの後端面W2に当接する当接面421aと、ガイドレール10後端からの本体100の抜け出しを規制するストッパ60とを備え、ストッパ60によって本体100の後方への移動を規制した状態で、前脚131のガイドレール10との接点(第1取付部131a)の少なくとも一部が当接面421aよりも前方に位置していることが好ましい。
【発明の効果】
【0010】
本発明の可搬型動力工具は、延設部によって本体を被加工物から迫り出した状態で支持することができ、被加工物の端部近傍の加工を安定して行うことができる。
(【0011】以降は省略されています)
この特許をJ-PlatPat(特許庁公式サイト)で参照する
関連特許
不二空機株式会社
可搬型動力工具
3か月前
個人
包丁研ぎ器具
2か月前
個人
研磨体
3か月前
個人
バレル研磨用メディア材
6か月前
株式会社サンポー
ブラスト装置
4か月前
株式会社クボタ
管研削装置
2か月前
株式会社村田製作所
切削装置
3か月前
株式会社ディスコ
被加工物の加工方法
13日前
不二空機株式会社
可搬型動力工具
3か月前
株式会社ニッチュー
ブラスト装置
2か月前
シンクス株式会社
ボード切断装置
4か月前
大同特殊鋼株式会社
疵研削順序決定方法
4か月前
株式会社リブラ
ブラスト加工装置
5か月前
オークマ株式会社
円筒研削盤
3か月前
トヨタ自動車株式会社
バリ取り装置
6か月前
株式会社精工技研
研磨装置および研磨方法
5か月前
秀和工業株式会社
処理装置および処理方法
15日前
キヤノン電子株式会社
加工工具、及び、加工装置
6か月前
株式会社ディスコ
砥石
3か月前
トヨタ自動車株式会社
回転砥石の製造方法
1か月前
株式会社アイドゥス企画
受動変形内面研磨ホイール
1か月前
株式会社ディスコ
加工方法、及び、切削装置
5か月前
株式会社東京精密
研削装置
1か月前
株式会社ディスコ
研削装置
2か月前
株式会社ディスコ
加工装置
22日前
日本特殊研砥株式会社
超弾性砥石
5か月前
旭化成株式会社
研磨パッド
1か月前
Mipox株式会社
研磨部材の製造方法
1か月前
Mipox株式会社
研磨部材の製造方法
1か月前
株式会社東京精密
ワーク加工装置
4か月前
株式会社ディスコ
加工方法
4か月前
Mipox株式会社
研磨部材の製造方法
1か月前
株式会社東京精密
ワーク加工装置
4か月前
中村留精密工業株式会社
レンズ保持装置
4か月前
嘉澤端子工業股分有限公司
グラインダー
4か月前
JFEスチール株式会社
鋼帯のブラシ研削方法
4か月前
続きを見る
他の特許を見る