TOP
|
特許
|
意匠
|
商標
特許ウォッチ
Twitter
他の特許を見る
10個以上の画像は省略されています。
公開番号
2025144011
公報種別
公開特許公報(A)
公開日
2025-10-02
出願番号
2024043564
出願日
2024-03-19
発明の名称
トリポード型等速自在継手
出願人
NTN株式会社
代理人
個人
,
個人
主分類
F16D
3/205 20060101AFI20250925BHJP(機械要素または単位;機械または装置の効果的機能を生じ維持するための一般的手段)
要約
【課題】ローラカセットにおけるインナリングの幅面(軸方向端面)に圧接状となるのが回避されて安定した回転を得ることができるトリポード等速自在継手を提供する。
【解決手段】脚軸に外嵌されたローラカセットを備え、ローラカセットが、脚軸に外嵌されたインナリングと、外側継手部材の案内面に転動自在に嵌入されるローラと、インナリングとローラとの間に介在される転動体とを備えたトリポード型等速自在継手である。ローラカセットの軸方向両端側に、インナリングおよび転動体の軸方向の移動を規制する一対のリング体が配設される。リング体は、インナリングおよび転動体に対して非圧接状となるように、ローラに装着される。
【選択図】図8
特許請求の範囲
【請求項1】
継手軸方向に延びる三本のトラック溝が内周面に形成され、各トラック溝に、継手円周方向に対向する一対のローラ案内面が設けられた外側継手部材と、前記外側継手部材の内周に配され、前記トラック溝に向けて継手半径方向に突出した三つの脚軸を有するトリポード部材と、前記脚軸に外嵌されたローラカセットとを備え、前記ローラカセットが、前記脚軸に外嵌されたインナリングと、前記案内面に転動自在に嵌入されるローラと、前記インナリングと前記ローラとの間に介在される転動体とを備えたトリポード型等速自在継手において、
前記ローラカセットの軸方向両端側に、前記インナリングおよび転動体の軸方向の移動を規制する一対のリング体が配設され、
前記リング体は、前記インナリングおよび前記転動体に対して非圧接状となるように、前記ローラに装着されていることを特徴とするトリポード型等速自在継手。
続きを表示(約 1,100 文字)
【請求項2】
前記リング体にインナリング乃至転動体に対する対向面がローラカセットの軸心と直交する面と平行になって、 前記非圧接状となることを特徴とする請求項1に記載のトリポード型等速自在継手。
【請求項3】
前記リング体にインナリング乃至転動体に対する対向面が、外径側から内径側に向かってインナリング乃至転動体から離間するテーパ面となって、前記非圧接状となることを特徴とする請求項1に記載のトリポード型等速自在継手。
【請求項4】
前記リング体は、前記ローラの内周面の軸方向端部に設けられ、カセット内径側に開口する周方向凹溝に外径部が嵌着され、縮径させた状態での前記周方向凹溝への嵌合が可能であり、嵌合後に縮径状態が解除されて、その嵌合状態が維持されるととともに、前記リング体に、外径側から内径側に向かってインナリング乃至転動体側に接近する方向の傾斜癖が付与されるものであり、前記傾斜癖が付与された状態であっても、前記リング体は、周方向凹溝に外径部が嵌着され状態でも、前記リング体は、前記インナリングおよび前記転動体に対して非圧接状となることを特徴とする請求項1に記載のトリポード型等速自在継手。
【請求項5】
前記リング体は、自由状態において、外径側から内径側に向かってインナリング乃至転動体側に離間する傾斜形状体であり、前記リング体が前記周方向凹溝に嵌合した状態で、前記非圧接状となるように構成したことを特徴とする前記請求項4に記載のトリポード型等速自在継手。
【請求項6】
前記リング体は、インナリング乃至転動体に対する対向面が、外径側から内径側に向かってインナリング乃至転動体から離間するテーパ面となるように肉厚を変位させて、前記リング体が前記周方向凹溝に嵌合した状態で、前記非圧接状となるように構成したことを特徴とする前記請求項4に記載のトリポード型等速自在継手。
【請求項7】
前記インナリングの内周面がリング縦断面において円弧状凸面に形成され、前記脚軸の外周面が、脚軸の軸線を含んだ縦断面においてはストレート形状で、かつ、前記脚軸の軸線と直交する横断面においては長円乃至楕円形状であり、前記脚軸の外周面が、継手の軸線と直交する方向で前記インナリングの内周面と当接すると共に、継手の軸線方向で前記インナリングの内周面との間にすきまが形成されており、前記ローラが前記トラック溝内で傾斜可能なことを特徴とする前記請求項1に記載のトリポード型等速自在継手。
【請求項8】
前記転動体が針状ころであることを特徴とする前記請求項1に記載のトリポード型等速自在継手。
発明の詳細な説明
【技術分野】
【0001】
本発明は、トリポード型等速自在継手に関する。
続きを表示(約 1,700 文字)
【背景技術】
【0002】
自動車の動力伝達系で使用されるドライブシャフトにおいては、インボード側(車幅方向の中央側)に摺動式等速自在継手を設け、アウトボード側(車幅方向の外側)に固定式等速自在継手を設ける場合が多い。ここでいう摺動式等速自在継手は、二軸間の角度変位および軸方向相対移動の双方を許容するものであり、固定式等速自在継手は、二軸間での角度変位を許容するが、二軸間の軸方向相対移動は許容しないものである。
【0003】
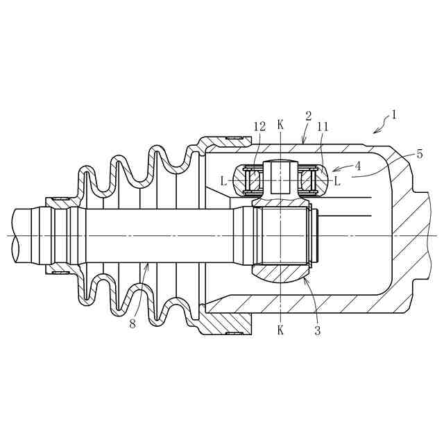
摺動式等速自在継手としてトリポード型等速自在継手が公知である。このトリポード型等速自在継手としては、シングルローラタイプとダブルローラタイプとが存在する。シングルローラタイプのトリポード型等速自在継手は、外側継手部材のトラック溝に挿入されるローラを、トリポード部材の脚軸に複数の針状ころを介して回転可能に取り付けたものである。ダブルローラタイプのトリポード型等速自在継手は、図11及び図12に示すように、外側継手部材102のトラック溝105内に配されるローラ111と、トリポード部材103の脚軸132に外嵌してローラ111を回転自在に支持するインナリング112とを備えるものである(例えば、特許文献1参照)。
【0004】
ところで、図13に示すように、ダブルローラタイプのトリポード型等速自在継手では、針状ころ117とインナリング112は、ローラ111の内周面に装着した一対のリング体(スナップリング)140,140によって抜け止めがなされている。すなわち、ローラ111の内周面111bの軸方向端部に凹周溝141,141を設け、この凹周溝141,141にスナップリング140の外周部を嵌合させることによって、スナップリング140,140をローラ(アウタリング)111に装着するものである。
【0005】
スナップリング140は、アウタリング111、インナリング112、および針状ころ117をアセンブリにした状態で、図14に示すように、アウタリング111の端面111cに配置した治具150を用いてスナップリング140に矢印Y1方向の縮径力を与えつつ、アクチュエータ等を用いてスナップリング140に軸方向の押圧力Fを与えることで、アウタリング111の内周面111bの凹周溝(取り付け溝)141に取り付けられる。
【0006】
すなわち、スナップリング140は、一部に切り欠き部を有する非エンドレスリングであり、このため、装着する際には、図14に示すように、かつスナップリング140の外径寸法D(外力を与えない自然状態での直径寸法)がアウタリング111の内径寸法d以下となるまで、スナップリング140が矢印Y1方向に弾性的に縮径して螺旋状に変形する。この状態で、アウタリング111の内周にスナップリング140を挿入することで、取り付け溝141へのスナップリング140の取付けが行われる。
【先行技術文献】
【特許文献】
【0007】
特開2023-103794号公報
【発明の概要】
【発明が解決しようとする課題】
【0008】
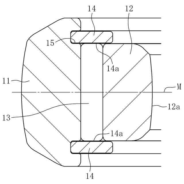
図14に示す方法で、スナップリング140を装着すれば、縮径を押圧力Fによって、インナリング112および針状ころ113側に対応する対向面140aが外径側から内径側に向かって脚軸132の軸心方向内方に傾斜する面となるような塑性変形することになる(図15参照)。
【0009】
このため、組み込み後は、図16に示すように、対向面140aが、インナリング112および針状ころ113に圧接状となる。すなわち、一対のスナップリング140にて挟持する状態となって、なめらかな回転を得ることができない状態となる。
【0010】
そこで、ローラカセットにおけるインナリングの幅面(軸方向端面)に圧接状となるのが回避されて安定した回転を得ることができるトリポード型等速自在継手を提供する。
【課題を解決するための手段】
(【0011】以降は省略されています)
この特許をJ-PlatPat(特許庁公式サイト)で参照する
関連特許
NTN株式会社
基板
13日前
NTN株式会社
玉軸受
14日前
NTN株式会社
玉軸受
今日
NTN株式会社
ハンド
8日前
NTN株式会社
軸受装置
今日
NTN株式会社
軸受装置
今日
NTN株式会社
焼結軸受
今日
NTN株式会社
軸受装置
今日
NTN株式会社
作業装置
6日前
NTN株式会社
軸受装置
今日
NTN株式会社
把持装置
8日前
NTN株式会社
密封装置
6日前
NTN株式会社
把持装置
8日前
NTN株式会社
転がり軸受
14日前
NTN株式会社
転がり軸受
1日前
NTN株式会社
荷積込装置
1日前
NTN株式会社
転がり軸受
今日
NTN株式会社
転がり軸受
8日前
NTN株式会社
回転伝達装置
6日前
NTN株式会社
状態監視装置
7日前
NTN株式会社
回転伝達装置
1日前
NTN株式会社
回転伝達装置
1日前
NTN株式会社
シール付軸受
6日前
NTN株式会社
保持器付きころ
10日前
NTN株式会社
モータユニット
10日前
NTN株式会社
リンク作動装置
2日前
NTN株式会社
円すいころ軸受
13日前
NTN株式会社
車輪用軸受装置
1日前
NTN株式会社
車輪用軸受装置
6日前
NTN株式会社
状態監視システム
7日前
NTN株式会社
軸受装置及び間座
1日前
NTN株式会社
電動オイルポンプ
7日前
NTN株式会社
電食防止転がり軸受
10日前
NTN株式会社
細胞配置の制御方法
10日前
NTN株式会社
固定式等速自在継手
14日前
NTN株式会社
固定式等速自在継手
14日前
続きを見る
他の特許を見る