TOP
|
特許
|
意匠
|
商標
特許ウォッチ
Twitter
他の特許を見る
10個以上の画像は省略されています。
公開番号
2025145514
公報種別
公開特許公報(A)
公開日
2025-10-03
出願番号
2024045717
出願日
2024-03-21
発明の名称
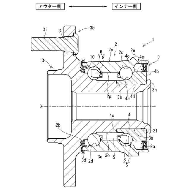
車輪用軸受装置
出願人
NTN株式会社
代理人
弁理士法人矢野内外国特許事務所
主分類
F16C
19/18 20060101AFI20250926BHJP(機械要素または単位;機械または装置の効果的機能を生じ維持するための一般的手段)
要約
【課題】内輪に発生するフープ応力を低減できる車輪用軸受装置を提供する。
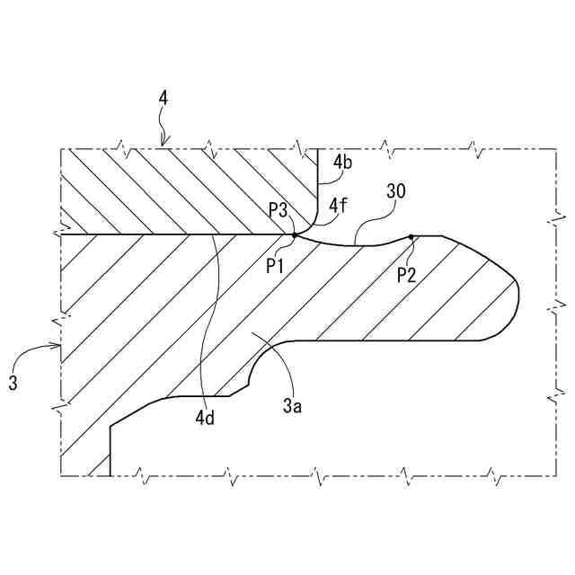
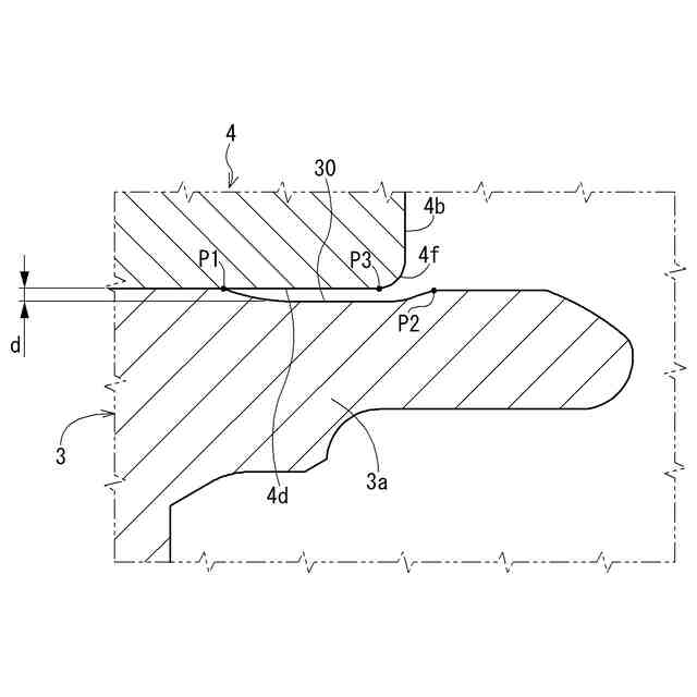
【解決手段】車輪用軸受装置1は、外側軌道面2c、2dを有する外輪2と、小径段部3aを有したハブ輪3、および小径段部3aに圧入された内輪4からなり、外側軌道面2c、2dに対向する内側軌道面3c、4aを有する内方部材と、外輪2と内方部材との両軌道面間に収容された複列のボール列5、6と、小径段部3aの軸方向における一側の端部を外径側に塑性変形させて形成したかしめ部3hにより、内輪4が軸方向に固定された車輪用軸受装置1であって、内輪4は、内周面4dと、インナー側端面4bと、内周面4dとインナー側端面4bとを接続し、軸方向の一側へいくに従って拡径する内径面取り部4fとを有し、かしめ部3hは、焼入れ加工が施されていない未焼入れ部であり、内輪4から離間する環状溝31を有している。
【選択図】図2
特許請求の範囲
【請求項1】
内周に複列の外側軌道面を有する外方部材と、
外周に軸方向に延びる小径段部を有したハブ輪、および前記ハブ輪の小径段部に圧入された少なくとも一つの内輪からなり、前記複列の外側軌道面に対向する複列の内側軌道面を有する内方部材と、
前記外方部材と前記内方部材との両軌道面間に転動自在に収容された複列の転動体と、
前記小径段部の軸方向における一側の端部を外径側に塑性変形させて形成したかしめ部により、前記内輪が軸方向に固定された車輪用軸受装置であって、
前記内輪は、内輪内周面と、軸方向における内輪の一側の端面と、前記内輪内周面と前記内輪の一側の端面とを接続し、軸方向の一側へいくに従って拡径する内径面取り部とを有し、
前記かしめ部は、焼入れ加工が施されていない未焼入れ部であり、前記内輪から離間する環状溝を有している車輪用軸受装置。
続きを表示(約 730 文字)
【請求項2】
前記かしめ部は、前記内輪内周面と対向するかしめ部外周面を有しており、
前記環状溝は、前記かしめ部外周面に形成されていて、前記内輪内周面から離間している請求項1に記載の車輪用軸受装置。
【請求項3】
前記内径面取り部は、前記内輪内周面から軸方向の一側へ向けて延びる内径テーパ面と、前記内径テーパ面と前記内輪の一側の端面との間に位置する内径円弧面とを有し、
前記内径テーパ面の軸方向に対する傾斜角度は、5度以上かつ25度以下である請求項1または請求項2に記載の車輪用軸受装置。
【請求項4】
前記内輪は、内輪外周面と、前記内輪外周面と前記内輪の一側の端面とを接続し、軸方向の一側へいくに従って縮径する外径面取り部とを有し、
前記外径面取り部は、前記内輪外周面から軸方向の一側へ向けて延びる外径テーパ面と、前記外径テーパ面と前記内輪の一側の端面との間に位置する外径円弧面とを有し、
前記外径テーパ面の軸方向に対する傾斜角度は、10度以上かつ20度以下であり、前記外径円弧面の曲率半径は1.0mm以上かつ2.0mm以下である請求項1または請求項2に記載の車輪用軸受装置。
【請求項5】
前記内輪外周面は、前記外径面取り部に隣接して位置する軸方向と平行なストレート面を有し、
前記ストレート面の軸方向長さsが3mm以上かつ11mm以下であり、
前記軸方向長さsと、前記内輪の前記ストレート面と前記内輪内周面との間の径方向長さtとが、
0.25≦(s/t)≦0.95
の関係を満たす請求項1または請求項2に記載の車輪用軸受装置。
発明の詳細な説明
【技術分野】
【0001】
本発明は車輪用軸受装置に関する。
続きを表示(約 1,100 文字)
【背景技術】
【0002】
従来、自動車等の懸架装置において車輪を回転自在に支持する車輪用軸受装置が知られている。車輪用軸受装置においては、内方部材であるハブ輪の小径段部に内輪が圧入され、小径段部の軸方向における一側の端部を外径側に塑性変形させて形成したかしめ部により、内輪が軸方向に固定された構成のものがある。
【0003】
このように、ハブ輪の小径段部にかしめ部が形成された車輪用軸受装置においては、小径段部の一側の端部を外径側に塑性変形させる際に内輪にフープ応力が発生して、内輪の内径が押し広げられることがある。
【0004】
また、内輪の外周面における軸方向の一側の端部には外径面取り部が形成されており、この外径面取り部に打ち傷が存在すると、内輪に生じたフープ応力によって打ち傷に対する応力集中が助長され、打ち傷を起点としたクラックが内輪に発生して、車輪用軸受装置の耐久性が低下するおそれがある。
【0005】
内輪の外径面取り部に生じた打ち傷を起点としたクラックの発生を抑制するためには、内輪の軸方向長さおよび径方向長さを大きくして、内輪に発生するフープ応力を低減させることが考えられる。しかし、内輪の軸方向長さおよび径方向長さを大きくすると、車輪用軸受装置の重量が増大して車両の燃費低下の要因となるため好ましくない。
【0006】
従って、従来においては、特許文献1に開示されるように、内輪の外径面取り部を熱処理後に切削加工して再切削面で形成して、内輪の外径面取り部の打ち傷を除去することが行われている。
【先行技術文献】
【特許文献】
【0007】
特許第4471150号公報
【発明の概要】
【発明が解決しようとする課題】
【0008】
しかし、熱処理後に切削加工して打ち傷を除去した後においても、内輪の外径面取り部に再度打ち傷が発生する場合があり、再度打ち傷が発生した場合には、依然として内輪に生じたフープ応力によってクラックが発生するおそれがある。
【0009】
また、フープ応力によって内輪の内径が押し広げられると、内輪が外径側に膨張して、内輪に形成される内側軌道面の寸法が変化し、内輪の内側軌道面と転動体との隙間精度が低下して、車輪用軸受装置の寿命が低下するおそれがある。
【0010】
本発明は以上の如き状況に鑑みてなされたものであり、ハブ輪のかしめ部により内輪が固定された構成において、内輪に発生するフープ応力を低減することができる車輪用軸受装置を提供する。
【課題を解決するための手段】
(【0011】以降は省略されています)
この特許をJ-PlatPat(特許庁公式サイト)で参照する
関連特許
NTN株式会社
基板
7日前
NTN株式会社
玉軸受
16日前
NTN株式会社
玉軸受
1か月前
NTN株式会社
ハンド
2日前
NTN株式会社
玉軸受
8日前
NTN株式会社
玉軸受
15日前
NTN株式会社
把持装置
2日前
NTN株式会社
把持装置
2日前
NTN株式会社
軸受装置
14日前
NTN株式会社
密封装置
今日
NTN株式会社
作業装置
今日
NTN株式会社
密封装置
1か月前
NTN株式会社
深溝玉軸受
1か月前
NTN株式会社
転がり軸受
2日前
NTN株式会社
転がり軸受
1か月前
NTN株式会社
転がり軸受
1か月前
NTN株式会社
転がり軸受
1か月前
NTN株式会社
転がり軸受
8日前
NTN株式会社
軸受用保持器
28日前
NTN株式会社
円筒ころ軸受
16日前
NTN株式会社
球面滑り軸受
1か月前
NTN株式会社
基板取付構造
14日前
NTN株式会社
等速自在継手
14日前
NTN株式会社
円筒ころ軸受
1か月前
NTN株式会社
状態監視装置
1日前
NTN株式会社
シール付軸受
今日
NTN株式会社
回転伝達装置
今日
NTN株式会社
保持器付きころ
4日前
NTN株式会社
絶縁転がり軸受
1か月前
NTN株式会社
車輪用軸受装置
16日前
NTN株式会社
モータユニット
4日前
NTN株式会社
電動モータ装置
16日前
NTN株式会社
車輪用軸受装置
1か月前
NTN株式会社
車輪用軸受装置
1か月前
NTN株式会社
車輪用軸受装置
今日
NTN株式会社
円すいころ軸受
7日前
続きを見る
他の特許を見る