TOP
|
特許
|
意匠
|
商標
特許ウォッチ
Twitter
他の特許を見る
10個以上の画像は省略されています。
公開番号
2025145731
公報種別
公開特許公報(A)
公開日
2025-10-03
出願番号
2024046062
出願日
2024-03-22
発明の名称
シール付軸受
出願人
NTN株式会社
代理人
個人
,
個人
,
個人
,
個人
主分類
F16C
33/78 20060101AFI20250926BHJP(機械要素または単位;機械または装置の効果的機能を生じ維持するための一般的手段)
要約
【課題】シールリップとシール摺動面間に油膜を形成してシールリップとシール摺動面を分離することが可能なシール部材で玉軸受を保護するシール付軸受において、サイズが大きい玉軸受の内部空間に対する潤滑油の供給と、玉軸受の寿命に悪影響を及ぼす異物の侵入防止とを両立させる。
【解決手段】シール部材2のシールリップ16の複数の突起部23は玉軸受1の内部空間7及び外部間に亘って連通する油通路24をシールリップ16とシール摺動面18との間に生じさせる。玉軸受1の回転に伴って油通路24から突起部23とシール摺動面18間に引き摺り込まれる潤滑油の油膜によってシールリップ16及びシール摺動面18間に油膜を形成してシールリップとシール摺動面を分離することができる。玉軸受1の内径d、突起部23の高さh、係数A、定数Bとして、0.08≦h≦A×d+Bかつ0.002≦A≦0.004かつ-0.043≦B≦-0.002を満たす。
【選択図】図1
特許請求の範囲
【請求項1】
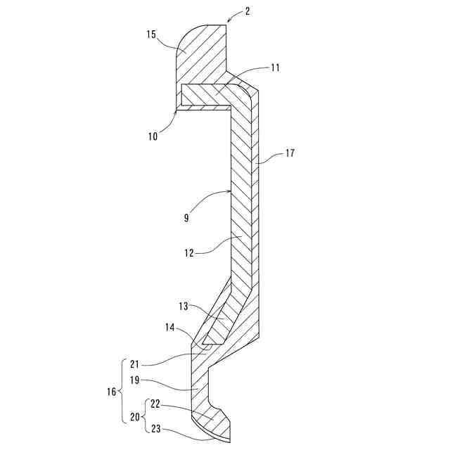
内方の軌道輪と、外方の軌道輪と、これら軌道輪同士の間に配置された複数の玉と、これら玉を保持する保持器とを有する玉軸受と、
前記玉と前記保持器に対して軸方向一方側及び軸方向他方側に位置し、前記内方の軌道輪と前記外方の軌道輪との間に配置されたシール部材と、
前記内方の軌道輪に形成され、前記シール部材に対して周方向に摺動するシール摺動面と、を備え、
前記シール部材が、周方向に並んだ複数の突起部を含むシールリップを有し、
前記複数の突起部が、前記玉軸受の内部空間及び外部間に亘って連通する油通路を前記シールリップと前記シール摺動面との間に形成するシール付軸受において、
前記玉軸受の内径(mm)をdとし、前記突起部の高さ(mm)をhとし、dに対する係数をAとし、定数をBとしたとき、0.08≦h≦A×d+B、かつ、0.002≦A≦0.004、かつ、-0.043≦B≦-0.002を満たすことを特徴とするシール付軸受。
続きを表示(約 410 文字)
【請求項2】
前記玉軸受の基本動定格荷重の15%の大きさである荷重が前記玉軸受に負荷された状態のときの前記軌道輪と前記玉との接触楕円径(mm)をXとし、前記突起部の高さ(mm)をhとしたとき、0.08≦h≦{(0.044X-0.15)/2}+0.02を満たす請求項1に記載のシール付軸受。
【請求項3】
前記玉軸受の内径dが40mm以上である請求項1又は2に記載のシール付軸受。
【請求項4】
前記シールリップを形成する弾性材の硬さが60HS以上、80HS以下である請求項1又は2に記載のシール付軸受。
【請求項5】
前記弾性材として熱硬化性エラストマー及び熱可塑性エラストマーのいずれかが用いられている請求項4に記載のシール付軸受。
【請求項6】
車両の走行用モータ及び減速機の中のいずれか一つの回転部を支持する請求項1又は2に記載のシール付軸受。
発明の詳細な説明
【技術分野】
【0001】
この発明は、玉軸受及びシール部材を備えるシール付軸受に関する。
続きを表示(約 2,600 文字)
【背景技術】
【0002】
従来、玉軸受の早期破損を防止するため、シール部材が利用されている。例えば、自動車、各種建設用機械等の車両に搭載されたトランスミッション内にはギアの摩耗粉等の異物が混在するため、シール部材により、摩耗粉等の軸受内部への侵入を防止している。シール部材は、大別すると、接触シールと非接触シールに分けられる。
【0003】
一般的な接触シールとして、弾性材で形成されたシールリップを有するものが利用されている。この種のシール部材は、一般に、玉軸受の内外一方の軌道輪に取り付けられる。一方、軌道輪、スリンガ等、玉軸受の回転に伴ってシール部材に対して周方向に相対回転する内外他方の軌道輪、スリンガ等の相手部品には、シール摺動面が形成されている。それらシールリップとシール摺動面が全周で滑り接触し、微視的には固体接触領域を伴っている。その滑り接触に伴うシールリップの引き摺り抵抗(シールトルク)は、軸受トルクの上昇を招き、玉軸受の温度上昇の一因となる。また、玉軸受の内部空間が外部に対してシール部材で全周に亘って閉塞されるので、軸受の運転により軸受の温度と共に軸受内部空間の空気が熱膨張し、軸受外部に排出されるが、軸受の運転停止により軸受温度が低下し、軸受内部空間の空気が収縮すると玉軸受の内部と外部間の圧力差によってシールリップがシール摺動面に押し付けられる吸着作用が生じてシールトルクが増大することがある。これらのことから、一般的な接触シールでは、玉軸受の高速回転に限界がある。
【0004】
これに対し、特許文献1に開示されたシール付軸受では、周方向に並んだ複数の突起部を含むシールリップが採用されている。これら複数の突起部は、シールリップとシール摺動面間に油膜が形成されることが可能な態様で形成されている。すなわち、これら突起部の形状や配置間隔は、玉軸受の内部空間と外部間に亘って連通する油通路をシールリップとシール摺動面との間に生じさせ、その油通路を通じた玉軸受の内部空間と外部間での潤滑油の流通によりシール摺動面上での潤滑油を潤沢とし、玉軸受の回転に伴って潤滑油を油通路から突起部とシール摺動面間に引き摺り込ませ、この際のくさび効果により各突起部とシール摺動面に油膜が形成され、突起部とシール摺動面間を分離させることができるように設定されている。このため、特許文献1に開示されたシール付軸受は、前述の吸着作用が発生することを防ぐと共に、所定の周速以上においてシールリップとシール摺動面の固体接触を無くしてシールトルクを著しく低減することができる。
【0005】
また、特許文献1に開示されたシール付軸受では、粒径0.05mm以下の異物が侵入しても玉軸受の寿命に悪影響がないことに着目し、粒径0.05mmを超える異物が前述の油通路を通って玉軸受の内部へ侵入することを抑制するため、シールリップの突起部の高さを0.07mm以下に設定している。これにより、特許文献1に開示されたシール付軸受は、玉と軌道輪の接触部に発生する接触楕円や圧痕の大きさを問わず、前述の一般的な接触シールと遜色のない玉軸受の寿命を得ることもできる。
【先行技術文献】
【特許文献】
【0006】
特開2017-161069号公報
【発明の概要】
【発明が解決しようとする課題】
【0007】
しかしながら、玉軸受の回転速度を高速化する要求は尚も高まっている。商用車の走行用モータや減速機の回転部を支持する用途等では、内径が大きい玉軸受を採用することがある。特許文献1に開示されたシール付軸受では、軸受サイズに関係なく突起部の高さを0.07mm以下に設定しているが、軸受サイズが大きい玉軸受の場合、軸受サイズに対して突起部の高さが0.07mm以下と小さく、前述の油通路の開口が狭い。このため、将来的には、軸受サイズが大きい玉軸受の高速回転時、玉軸受の内部空間に対する潤滑油の供給が不足してしまう懸念がある。
【0008】
一方、前述の潤滑不足や金型の高精度化を避けるため、突起部を0.07mmよりも高くすると、その分、粒径の大きな異物が前述の隙間を通って玉軸受の内部に侵入することが可能になる。このため、軌道輪と玉の接触部に大径の圧痕が発生し、これにより、早期はく離の発生に至ることが懸念される。
【0009】
上述の背景に鑑み、この発明が解決しようとする課題は、シールリップとシール摺動面間に形成した油膜によりシールリップとシール摺動面を分離させることが可能なシール部材で玉軸受を保護するシール付軸受において、軸受サイズが大きい玉軸受の内部空間に対する十分な潤滑油の供給と、玉軸受の寿命に悪影響を及ぼす異物の侵入防止とを両立させることにある。
【課題を解決するための手段】
【0010】
上記の課題を達成するため、この発明は、内方の軌道輪と、外方の軌道輪と、これら軌道輪同士の間に配置された複数の玉と、これら玉を保持する保持器とを有する玉軸受と、前記玉と前記保持器に対して軸方向一方側及び軸方向他方側に位置し、前記内方の軌道輪と前記外方の軌道輪との間に配置されたシール部材と、前記内方の軌道輪に形成され、シール部材に対して周方向に摺動するシール摺動面と、を備え、前記シール部材が、周方向に並んだ複数の突起部を含むシールリップを有し、前記複数の突起部が、前記玉軸受の内部空間及び外部間に亘って連通する油通路を前記シールリップと前記シール摺動面との間に形成するシール付軸受において、前記玉軸受の内径(mm)をdとし、前記突起部の高さ(mm)をhとし、dに対する係数をAとし、定数をBとしたとき、0.08≦h≦A×d+B、かつ、0.002≦A≦0.004、かつ、-0.043≦B≦-0.002を満たすことを特徴とするシール付軸受、という構成1を採用した。前述の内部空間とは、内方の軌道輪と外方の軌道輪で囲まれる空間のうち、内方の軌道輪および外方の軌道輪の軸方向両端面の間の空間である。また、外部とは内部空間以外の空間のことである。
(【0011】以降は省略されています)
この特許をJ-PlatPat(特許庁公式サイト)で参照する
関連特許
NTN株式会社
基板
10日前
NTN株式会社
玉軸受
19日前
NTN株式会社
玉軸受
1か月前
NTN株式会社
ハンド
5日前
NTN株式会社
玉軸受
11日前
NTN株式会社
玉軸受
18日前
NTN株式会社
把持装置
5日前
NTN株式会社
把持装置
5日前
NTN株式会社
軸受装置
17日前
NTN株式会社
密封装置
3日前
NTN株式会社
作業装置
3日前
NTN株式会社
密封装置
1か月前
NTN株式会社
深溝玉軸受
1か月前
NTN株式会社
転がり軸受
5日前
NTN株式会社
転がり軸受
1か月前
NTN株式会社
転がり軸受
1か月前
NTN株式会社
転がり軸受
1か月前
NTN株式会社
転がり軸受
11日前
NTN株式会社
軸受用保持器
1か月前
NTN株式会社
円筒ころ軸受
19日前
NTN株式会社
球面滑り軸受
1か月前
NTN株式会社
基板取付構造
17日前
NTN株式会社
等速自在継手
17日前
NTN株式会社
円筒ころ軸受
1か月前
NTN株式会社
状態監視装置
4日前
NTN株式会社
シール付軸受
3日前
NTN株式会社
回転伝達装置
3日前
NTN株式会社
保持器付きころ
7日前
NTN株式会社
絶縁転がり軸受
1か月前
NTN株式会社
車輪用軸受装置
19日前
NTN株式会社
モータユニット
7日前
NTN株式会社
電動モータ装置
19日前
NTN株式会社
車輪用軸受装置
1か月前
NTN株式会社
車輪用軸受装置
1か月前
NTN株式会社
車輪用軸受装置
3日前
NTN株式会社
円すいころ軸受
10日前
続きを見る
他の特許を見る