TOP
|
特許
|
意匠
|
商標
特許ウォッチ
Twitter
他の特許を見る
10個以上の画像は省略されています。
公開番号
2025146507
公報種別
公開特許公報(A)
公開日
2025-10-03
出願番号
2024047332
出願日
2024-03-22
発明の名称
密封装置
出願人
NTN株式会社
代理人
弁理士法人矢野内外国特許事務所
主分類
F16C
33/78 20060101AFI20250926BHJP(機械要素または単位;機械または装置の効果的機能を生じ維持するための一般的手段)
要約
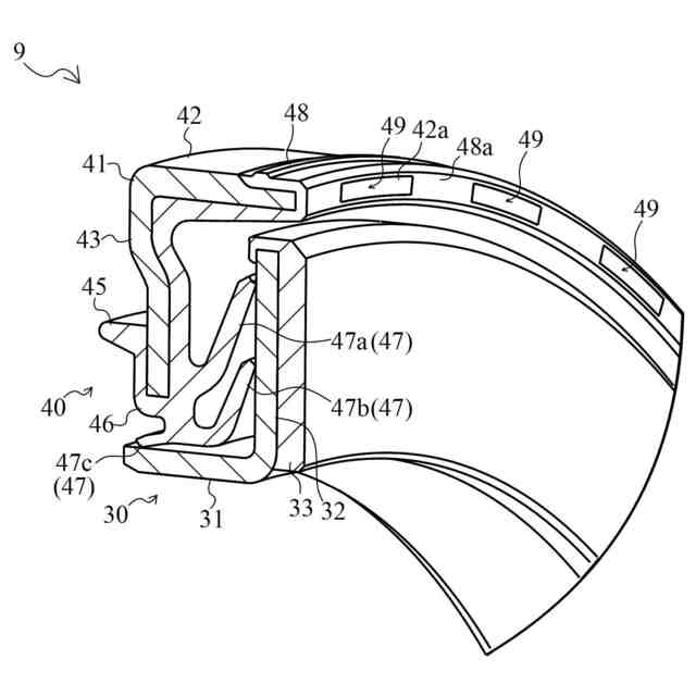
【課題】車輪用軸受装置において、簡易な構成で、軸受空間に圧入する際にスリンガとシールリングとの相対的位置がズレることを抑制して、異物の浸入を確実に防止することができ、また、トルクが増大することを抑制することができるものとする。
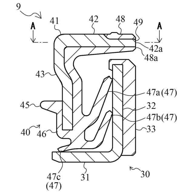
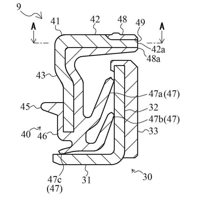
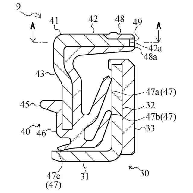
【解決手段】車輪用軸受装置1のインナー側シール部材9(密封装置)において、スリンガ30は、内方部材に外嵌される外嵌部31と、外嵌部31から径方向外側に延びる中板部32と、を備え、シールリング40は、内嵌部42と中板部43とを備える芯金41と、スリンガ30に接触するリップ部47と、外方部材に接触するシール部48と、を備える弾性部材45と、を備え、シール部48は、芯金41の内嵌部42の径方向外側面の一部及び芯金41の内嵌部42の径方向内側面の少なくとも一部を覆うように構成され、軸方向外側から視て、芯金41の内嵌部42の軸方向外側端が露出するように構成されるものとする。
【選択図】図2
特許請求の範囲
【請求項1】
車輪用軸受装置の外方部材と内方部材との間の空間の開口を密封するものであり、前記内方部材に外嵌されるスリンガと、前記外方部材に内嵌されるシールリングと、を備える、密封装置であって、
前記スリンガは、前記内方部材に外嵌される外嵌部と、前記外嵌部から径方向外側に延びる中板部と、を備え、
前記シールリングは、
前記外方部材に内嵌される内嵌部と、前記内嵌部から径方向内側に延びる中板部と、を備える、芯金と、
前記芯金に接合され、前記スリンガに接触するリップ部と、前記外方部材に接触するシール部と、を備える、弾性部材と、を備え、
前記シール部は、
前記芯金の前記内嵌部の径方向外側面の少なくとも一部及び前記芯金の前記内嵌部の径方向内側面の少なくとも一部を覆うように構成され、
軸方向外側から視て、前記芯金の前記内嵌部の軸方向外側端が露出するように構成される、密封装置。
続きを表示(約 1,200 文字)
【請求項2】
前記弾性部材の前記シール部は、軸方向外側から視て、前記芯金の前記内嵌部の軸方向外側端が全周に亘って露出するように構成される、請求項1に記載の密封装置。
【請求項3】
前記弾性部材の前記シール部は、軸方向外側から視て、前記芯金の前記内嵌部の軸方向外側端が全周のうち部分的に露出するように構成される、請求項1に記載の密封装置。
【請求項4】
前記弾性部材の前記シール部の軸方向外側端と、前記芯金の前記内嵌部の軸方向外側端と、は軸方向において面一となるように構成される、請求項1から請求項3のいずれか一項に記載の密封装置。
【請求項5】
前記弾性部材の前記シール部の軸方向外側端が、前記芯金の前記内嵌部の軸方向外側端よりも軸方向外側に配置される、請求項1から請求項3のいずれか一項に記載の密封装置。
【請求項6】
前記弾性部材の前記シール部の軸方向外側端が、前記芯金の前記内嵌部の軸方向外側端よりも軸方向内側に配置される、請求項1から請求項3のいずれか一項に記載の密封装置。
【請求項7】
前記弾性部材の前記シール部の軸方向外側端と、前記芯金の前記内嵌部の軸方向外側端と、の間における軸方向の長さが、1mm以下で構成される、請求項5に記載の密封装置。
【請求項8】
前記芯金の前記内嵌部は、インナー側端に凹部を備え、
前記シール部は、前記芯金の前記内嵌部の前記凹部に配置されることによって、軸方向外側から視て、前記芯金の前記内嵌部の軸方向外側端が全周のうち部分的に露出するように構成される、請求項4に記載の密封装置。
【請求項9】
前記芯金の前記内嵌部はステンレス鋼素材で構成される、請求項1に記載の密封装置。
【請求項10】
車輪用軸受装置の外方部材と内方部材との間の空間の開口を密封するものであり、前記内方部材に外嵌されるスリンガと、前記外方部材に内嵌されるシールリングと、を備える、密封装置であって、
前記スリンガは、前記内方部材に外嵌される外嵌部と、前記外嵌部から径方向外側に延びる中板部と、を備え、
前記シールリングは、
前記外方部材に内嵌される内嵌部と、前記内嵌部から径方向内側に延びる中板部と、を備える、芯金と、
前記芯金に接合され、前記スリンガに接触するリップ部と、前記外方部材に接触するシール部と、を備える、弾性部材と、を備え、
前記シール部は、
前記芯金の前記内嵌部の径方向外側面の少なくとも一部及び前記芯金の前記内嵌部の径方向内側面の少なくとも一部を覆うように構成され、
前記芯金の前記内嵌部の軸方向外側端の全周に亘って配置され、
前記シール部の軸方向外側端の厚みは、0.1mm以下で構成される、密封装置。
発明の詳細な説明
【技術分野】
【0001】
本発明は、車輪用軸受装置の外方部材と内方部材との間の空間の開口を密封する密封装置の技術に関する。
続きを表示(約 2,800 文字)
【背景技術】
【0002】
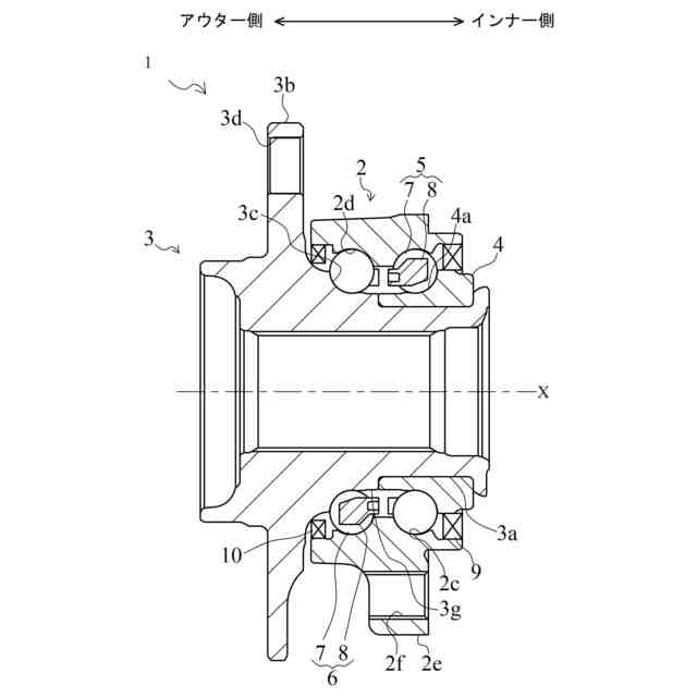
従来、自動車の車輪用軸受装置として、複列のアンギュラ玉軸受が一般に用いられている。前記車輪用軸受装置は、内周に複列の外側軌道溝を有する外方部材と、外周のインナー側端部に小径段部を有するハブ輪、およびハブ輪の小径段部に設けられる内輪からなり、複列の外側軌道溝に対向する複列の内側軌道溝を有する内方部材と、外方部材と内方部材との間の軸受空間の開口を密封する密封装置を備えるものが種々知られている。
【0003】
前記自動車の車輪用軸受装置の密封装置は、内方部材に外嵌されるスリンガと、外方部材に内嵌されるシールリングと、を備え、密封装置内に侵入した泥水等の異物がさらに軸受空間に浸入していくことを防止している。密封装置は、内方部材に外嵌されるスリンガと、外方部材に内嵌されるシールリングと、を備える。シールリングは、芯金と、弾性部材と、を備える。シールリングの弾性部材は、スリンガに接触するリップ部と、外方部材の径方向内側面に接触するシール部と、を備える。弾性部材のシール部は、芯金の内嵌部の径方向外側面の少なくとも一部、及び芯金の内嵌部の軸方向端部を覆うように構成される。
【0004】
また、自動車の車輪用軸受装置の密封装置として、相対回転する二部材のうちの一方に取り付けられるスリンガと他方に取り付けられるシール部材との組み合わせよりなり、スリンガは筒状の取り付け部と環状の平面部とを一体に有し、シール部材は筒状の取り付け部とスリンガに摺動自在に密接するシールリップとを一体に有し、スリンガにおける平面部の径方向先端部とシール部材の取り付け部とが径方向に対向し、対向部位におけるシール部材の取り付け部に摺動リングを取り付け、摺動リングに対してスリンガにおける平面部の径方向先端部を摺動自在に接触させたものが公知となっている(特許文献1参照)。この密封装置においては、摺動リングの内周面に対してスリンガの平面部の径方向先端部が摺動自在に接触することで接触式のシールが構成され、これに伴って耐泥水性を向上させている。
【0005】
さらに、自動車の車輪用軸受装置の密封装置として、外輪に嵌められる円筒部を有する断面略L字状の第1芯金と、第1芯金に取り付けられた第1弾性シールと、内輪に嵌められる円筒部を有する断面略L字状の第2芯金と、第2芯金に取り付けられた第2弾性シールとを備え、第1芯金の円筒部の軸方向中程位置に、これを径方向に貫通する複数の貫通孔が周方向に所要間隔で設けられており、第1弾性シールは、第2芯金の円筒部の外周面に摺接するリップと、第1芯金の円筒部の軸方向内側部分の内周面に密着している第1円筒部と、第1芯金の円筒部の軸方向外側部分の外周面に密着している第2円筒部と、第1芯金の円筒部の複数の貫通孔に挿入されて第1円筒部と第2円筒部とを連結する複数の連結片とを有しており、第2弾性シールは、第1芯金の円筒部の軸方向外側部分の内周面に摺接するリップを有しているものが公知となっている(特許文献2参照)。この密封装置においては、第2弾性シールのリップが第1芯金の円筒部の軸方向外側部分の内周面に摺接することで接触式のシール構成としつつ、引用文献1の密封装置において摺動リングが使用されていることで製造や組立てが煩雑になる、という問題を解決している。さらに、この密封装置においては、外輪に、第1弾性シールの第2円筒部の端部に軸方向外側から密着する環状凸部が設けられることにより、密封装置が外輪から抜けにくいものとなり、外輪と密封装置との密着性が高められている。
【先行技術文献】
【特許文献】
【0006】
特開2005-257015号公報
特開2013-194756号公報
【発明の概要】
【発明が解決しようとする課題】
【0007】
ここで、密封装置においては、異物の浸入を防止するにあたって、外方部材と内方部材との間の軸受空間にスリンガ及びシールリングを適切な位置に配置することを要する。スリンガとシールリングとの相対的位置が軸方向に離れるようにズレることによって、リップのスリンガに対する接触幅や押圧力等が小さくなり、異物の浸入を防止することが困難となる場合がある。また、スリンガとシールリングとの相対的位置が軸方向に近づくようにズレることによって、リップのスリンガに対する押圧力等が大きくなって、トルクが増大する場合がある。
【0008】
そして、外方部材と内方部材との間の軸受空間に密封装置を取り付けるにあたっては、まず、外方部材と内方部材との間の軸受空間の軸方向外側に密封装置を配置し、密封装置の軸方向外側部分に、取り付け治具の押圧面を接触させる。つまり、密封装置のスリンガと、シールリングにおける弾性部材のシール部の軸方向端(シール部における芯金の内嵌部の軸方向端部を覆っている部分)と、に取り付け治具の押圧面を接触させる。このような状態で、取り付け治具を移動させて、外方部材と内方部材との間における軸受空間に密封装置を圧入していく。このように、外方部材と内方部材との間における軸受空間に密封装置を取り付ける際に、取り付け治具によって弾性部材のシール部における芯金の内嵌部の軸方向端部を覆っている部分を押圧することから、当該シール部における芯金の内嵌部の軸方向端部を覆っている部分が弾性変形して、スリンガとシールリングとの相対的位置が軸方向にズレる場合がある。
【0009】
また、引用文献2の密封装置においては、第1弾性シールの第2円筒部の端部に外輪の環状凸部が軸方向外側から密着する構成にあたり、外輪の環状凸部に第1弾性シールの第2円筒部の端部が入り込んでいる。このため、第1芯金及び第1弾性シールと、第2芯金及び第2弾性シールと、の相対的位置が軸方向にズレることを抑制することが考えられる。もっとも、この密封装置においては、第1弾性シールは、第1芯金の円筒部の軸方向内側部分の内周面に密着している第1円筒部と、第1芯金の円筒部の軸方向外側部分の外周面に密着している第2円筒部と、第1芯金の円筒部の複数の貫通孔に挿入されて第1円筒部と第2円筒部とを連結する複数の連結片とを有することから、構造が複雑なものとなっていた。
【0010】
本発明は以上の如き状況に鑑みてなされたものであり、簡易な構成で、軸受空間に圧入する際にスリンガとシールリングとの相対的位置がズレることを抑制して、異物の浸入を確実に防止することができ、また、トルクが増大することを抑制することができる、密封装置を提供することを課題とする。
【課題を解決するための手段】
(【0011】以降は省略されています)
この特許をJ-PlatPat(特許庁公式サイト)で参照する
関連特許
NTN株式会社
基板
8日前
NTN株式会社
玉軸受
1か月前
NTN株式会社
玉軸受
17日前
NTN株式会社
玉軸受
16日前
NTN株式会社
玉軸受
9日前
NTN株式会社
ハンド
3日前
NTN株式会社
把持装置
3日前
NTN株式会社
密封装置
1か月前
NTN株式会社
軸受装置
15日前
NTN株式会社
把持装置
3日前
NTN株式会社
密封装置
1日前
NTN株式会社
作業装置
1日前
NTN株式会社
転がり軸受
1か月前
NTN株式会社
深溝玉軸受
1か月前
NTN株式会社
転がり軸受
1か月前
NTN株式会社
転がり軸受
3日前
NTN株式会社
転がり軸受
1か月前
NTN株式会社
転がり軸受
9日前
NTN株式会社
シール付軸受
1日前
NTN株式会社
円筒ころ軸受
17日前
NTN株式会社
球面滑り軸受
1か月前
NTN株式会社
回転伝達装置
1日前
NTN株式会社
等速自在継手
15日前
NTN株式会社
基板取付構造
15日前
NTN株式会社
状態監視装置
2日前
NTN株式会社
軸受用保持器
29日前
NTN株式会社
絶縁転がり軸受
1か月前
NTN株式会社
電動モータ装置
17日前
NTN株式会社
車輪用軸受装置
1日前
NTN株式会社
車輪用軸受装置
17日前
NTN株式会社
円すいころ軸受
8日前
NTN株式会社
車輪用軸受装置
1か月前
NTN株式会社
モータユニット
5日前
NTN株式会社
車輪用軸受装置
1か月前
NTN株式会社
保持器付きころ
5日前
NTN株式会社
車輪用軸受装置
1か月前
続きを見る
他の特許を見る