TOP
|
特許
|
意匠
|
商標
特許ウォッチ
Twitter
他の特許を見る
公開番号
2025149068
公報種別
公開特許公報(A)
公開日
2025-10-08
出願番号
2024049504
出願日
2024-03-26
発明の名称
軸受装置及び間座
出願人
NTN株式会社
代理人
個人
,
個人
,
個人
,
個人
主分類
F16C
41/00 20060101AFI20251001BHJP(機械要素または単位;機械または装置の効果的機能を生じ維持するための一般的手段)
要約
【課題】軸受間に配置されるセンサ付き間座の格納室に無線通信回路を収容した状態で封止材を充填したことによる無線通信性能の低下を防止する。
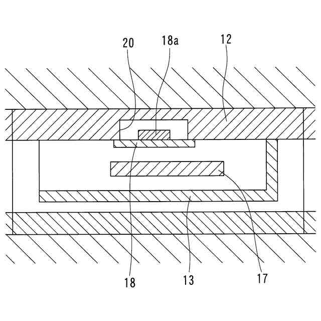
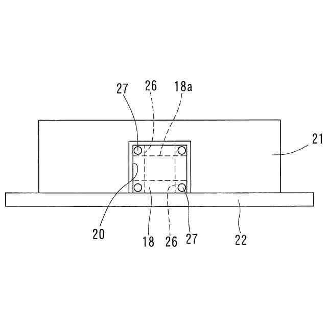
【解決手段】無線通信回路のアンテナ18aが一面に形成された基板18を間座5に備える。間座5の格納室14が、基板18の一面との間に空間を形成する凹部20を有する。基板18が、アンテナ18aを凹部20に向けた状態で凹部20を塞いでいる。
【選択図】図1
特許請求の範囲
【請求項1】
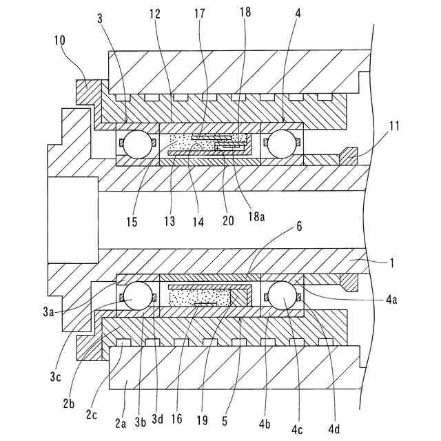
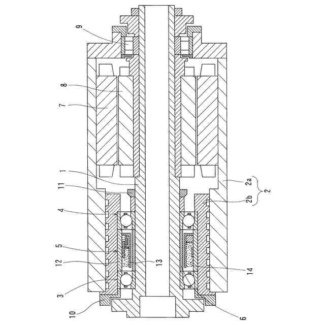
第一軸受と、第二軸受と、前記第一軸受と前記第二軸受との間に配置された間座と、前記間座に取り付けられたセンサと、前記センサの検出結果を送信する無線通信回路と、を備え、
前記間座が、前記無線通信回路を収容する格納室と、前記格納室に充填された封止材とを有する軸受装置において、
前記無線通信回路のアンテナが一面に形成された基板を備え、
前記格納室が、前記基板の一面との間に空間を形成する凹部を有し、
前記基板が、前記アンテナを前記凹部に向けた状態で前記凹部を塞いでいることを特徴とする軸受装置。
続きを表示(約 540 文字)
【請求項2】
前記格納室が、前記第一軸受と前記第二軸受とで軸方向に挟まれた間座本体と、前記間座本体に径方向に対向する取付部材とで形成されている請求項1に記載の軸受装置。
【請求項3】
前記凹部が非金属材によって形成されている請求項2に記載の軸受装置。
【請求項4】
前記センサから出力された信号を処理する回路基板をさらに備え、
前記基板と前記回路基板とが配線を介して接続されており、
前記回路基板が、前記格納室に収容されかつ前記基板とは異なる部位に取り付けられている請求項1又は2に記載の軸受装置。
【請求項5】
前記基板と前記凹部の周囲との間がシール材で封止されている請求項1又は2に記載の軸受装置。
【請求項6】
センサと、
前記センサの検出結果を送信する無線通信回路と、
前記無線通信回路を収容する格納室と、
前記格納室に充填された封止材と、
前記無線通信回路のアンテナが一面に形成された基板と、を備え、
前記格納室が、前記基板の一面との間に空間を形成する凹部を有し、
前記基板が、前記アンテナを前記凹部に向けた状態で前記凹部を塞いでいる間座。
発明の詳細な説明
【技術分野】
【0001】
この発明は、軸受間に配置される間座にセンサ及び無線通信回路を配置した軸受装置、及びその間座に関する。
続きを表示(約 1,600 文字)
【背景技術】
【0002】
従来、スピンドル等の回転軸を軸方向に間隔を置いて配置された複数の軸受で支持し、これら軸受間の間隔を間座で保ち、その軸受の状態等をセンサで検出し、その検出結果を外部に無線送信するためにセンサ及び無線通信回路を間座に取り付けた軸受装置が知られている(特許文献1)。この種の軸受装置は、外部のアンテナで受信した検出結果を利用して軸受装置や、これを備えるスピンドルの運転状況を監視することができる。
【0003】
特許文献1に開示された軸受装置は、その間座の一側面に周溝状の格納室を形成し、センサ、無線通信回路等を回路基板の一面に表面実装し、その回路基板の他面を格納室の溝底面で支持し、その格納室をカバーで閉塞し、又は格納室に封止材を充填することにより、回路基板を保護したものである。
【先行技術文献】
【特許文献】
【0004】
特開2022-156079号公報(特に段落0048~0069、図8、9参照)
【発明の概要】
【発明が解決しようとする課題】
【0005】
特許文献1の軸受装置の間座の格納室をカバーで閉塞する場合、無線通信回路のアンテナとカバーとの間の空間を空気層とし、封止材のような誘電体がアンテナに接触しないようにして、無線通信性能の低下を抑制することは可能だが、周溝状の格納室に嵌合する専用の環状カバーを必要とする問題がある。この問題は専用カバーの採用に代えて封止材を格納室に充填することで解決できるが、そうすると、封止材が回路基板の実装面を覆ってアンテナに付着した状態となり、ある特定の周波数の電波強度が減衰するため、無線通信性能が低下する問題が生じる。
【0006】
そこで、この発明が解決しようとする課題は、軸受間に配置されるセンサ付き間座の格納室に無線通信回路を収容した状態で封止材を充填したことによる無線通信性能の低下を防止することである。
【課題を解決するための手段】
【0007】
上記の課題を解決するため、この発明は、第一軸受と、第二軸受と、前記第一軸受と前記第二軸受との間に配置された間座と、前記間座に取り付けられたセンサと、前記センサの検出結果を送信する無線通信回路と、を備え、前記間座が、前記無線通信回路を収容する格納室と、前記格納室に充填された封止材とを有する軸受装置において、前記無線通信回路のアンテナが一面に形成された基板を備え、前記格納室が、前記基板の一面との間に空間を形成する凹部を有し、前記基板が、前記アンテナを前記凹部に向けた状態で前記凹部を塞いでいることを特徴とする軸受装置、という構成1を採用した。
【0008】
上記構成1のように、無線通信回路のアンテナが一面に形成された基板を採用し、間座の格納室に基板の一面との間に空間を形成する凹部を設け、アンテナを凹部に向けて基板で凹部を覆い、基板と凹部の周囲との間を密閉することにより、封止材の充填時、アンテナの支持に要する基板の板部を利用して凹部への封止材の浸入を防ぐことができ、ひいては、アンテナに封止材が付着することを無くして、封止材による無線通信性能の低下を防止することができる。
【0009】
上記構成1において、前記格納室が、前記第一軸受と前記第二軸受とで軸方向に挟まれた間座本体と、前記間座本体に径方向に対向する取付部材とで形成されている、という構成2を採用することができる。
【0010】
上記構成2によると、第一軸受と第二軸受間の間隔を保つ剛性を間座本体に確保しつつ、取付部材と間座本体との間に格納室の収容空間を大きく設けることができる。
(【0011】以降は省略されています)
この特許をJ-PlatPat(特許庁公式サイト)で参照する
関連特許
NTN株式会社
基板
13日前
NTN株式会社
ハンド
8日前
NTN株式会社
玉軸受
21日前
NTN株式会社
玉軸受
1か月前
NTN株式会社
玉軸受
22日前
NTN株式会社
玉軸受
今日
NTN株式会社
玉軸受
14日前
NTN株式会社
把持装置
8日前
NTN株式会社
把持装置
8日前
NTN株式会社
軸受装置
20日前
NTN株式会社
密封装置
1か月前
NTN株式会社
密封装置
6日前
NTN株式会社
軸受装置
今日
NTN株式会社
軸受装置
今日
NTN株式会社
作業装置
6日前
NTN株式会社
焼結軸受
今日
NTN株式会社
軸受装置
今日
NTN株式会社
軸受装置
今日
NTN株式会社
転がり軸受
8日前
NTN株式会社
転がり軸受
1か月前
NTN株式会社
転がり軸受
14日前
NTN株式会社
転がり軸受
1日前
NTN株式会社
転がり軸受
1か月前
NTN株式会社
荷積込装置
1日前
NTN株式会社
転がり軸受
今日
NTN株式会社
深溝玉軸受
1か月前
NTN株式会社
転がり軸受
1か月前
NTN株式会社
球面滑り軸受
1か月前
NTN株式会社
等速自在継手
20日前
NTN株式会社
円筒ころ軸受
22日前
NTN株式会社
状態監視装置
7日前
NTN株式会社
回転伝達装置
6日前
NTN株式会社
シール付軸受
6日前
NTN株式会社
回転伝達装置
1日前
NTN株式会社
回転伝達装置
1日前
NTN株式会社
円筒ころ軸受
1か月前
続きを見る
他の特許を見る