TOP
|
特許
|
意匠
|
商標
特許ウォッチ
Twitter
他の特許を見る
10個以上の画像は省略されています。
公開番号
2025152924
公報種別
公開特許公報(A)
公開日
2025-10-10
出願番号
2024055108
出願日
2024-03-28
発明の名称
ポート配置決定装置、手術ロボットシステムおよびその制御方法
出願人
川崎重工業株式会社
代理人
個人
,
個人
,
個人
,
個人
主分類
A61B
34/10 20160101AFI20251002BHJP(医学または獣医学;衛生学)
要約
【課題】手術ロボットの性能を最大限に活用し得る最適なポート配置を決定すること。
【解決手段】
システム10は、それぞれのアーム3の駆動軸の数が、手術器具40を制御するための最小の自由度よりも大きい複数のアーム3と、手術器具40を制御する操作者Sの操作入力を受付ける操作装置2と、操作入力に基づいて複数のアーム3を制御する制御装置4であって、複数の駆動軸の少なくとも1つを冗長な駆動軸と規定し、冗長な駆動軸を操作入力及び冗長な駆動軸に関する拘束条件に基づいて制御する制御装置4とを備える。メモリ302は操作者Sが操作装置2を操作して手術器具40を用いて行う所要の手術に関する情報及び拘束条件に関する情報を記憶している。プロセッサ301はメモリ302から取得した所要の手術に関する情報及び拘束条件に関する情報に基づいて拘束条件を調整しながら所要の手術のための最適なポート配置を決定する。
【選択図】図1
特許請求の範囲
【請求項1】
手術ロボットシステムを用いた手術において患者の体壁に設置される複数のポート部材のための最適なポート配置を決定するためのポート配置決定装置であって、
前記手術ロボットシステムは、
各々に手術器具が装着される複数のロボットアームであって、前記複数のロボットアームのそれぞれは複数の駆動軸を有し、前記複数の駆動軸の数が、前記手術器具の位置および姿勢を制御するために必要な最小の自由度よりも大きい、複数のロボットアームと、
前記手術器具の位置および姿勢を制御するための操作者の操作入力を受け付ける操作装置と、
前記操作入力に基づいて前記複数のロボットアームを制御する制御装置であって、前記複数の駆動軸のうちの少なくとも1つを冗長な駆動軸として規定し、前記冗長な駆動軸を、前記操作入力および前記冗長な駆動軸に関する拘束条件に基づいて制御する、制御装置と、を備える、ポート配置決定装置において、
プロセッサと、
メモリと、を備え、
前記メモリは、前記操作者が前記操作装置を操作して前記手術器具を用いて行う所要の手術に関する情報および前記拘束条件に関する情報を記憶しており、
前記プロセッサは、前記メモリから取得した前記所要の手術に関する情報および前記拘束条件に関する情報に基づいて、前記拘束条件を調整しながら前記所要の手術のための前記最適なポート配置を探索することによって前記最適なポート配置を決定する、ポート配置決定装置。
続きを表示(約 2,000 文字)
【請求項2】
前記所要の手術に関する情報は、前記所要の手術を行うために必要な術野に関する情報を含む、請求項1記載のポート配置決定装置。
【請求項3】
前記メモリは、前記必要な術野の仮想モデル、前記ロボットアームの仮想モデル、および前記手術器具の仮想モデルを記憶しており、
前記プロセッサは、前記メモリから取得した、前記必要な術野の仮想モデル、前記ロボットアームの仮想モデル、および前記手術器具の仮想モデルを用いて、前記拘束条件を調整しながら、前記ロボットアームの前記仮想モデルに、前記必要な術野の前記仮想モデル内における前記手術器具の前記仮想モデルの動作可能範囲を最大化する所要の動作を行わせることによって実行されたシミュレーションの結果に基づいて前記最適なポート配置を決定する、請求項2記載のポート配置決定装置。
【請求項4】
前記メモリは、患者の人体に関する仮想モデルをさらに記憶しており、
前記プロセッサは、前記患者の人体に関する仮想モデルをさらに用いて前記最適なポート配置を決定する、請求項3記載のポート配置決定装置。
【請求項5】
前記ロボットアームの前記仮想モデルの前記所要の動作は、前記ロボットアームの前記仮想モデル同士の干渉を回避する動作を含む、請求項3または4に記載のポート配置決定装置。
【請求項6】
前記手術器具は、長手軸線を有し、
前記冗長な駆動軸は、前記手術器具の少なくとも一部を前記長手軸線周りに回転させる、請求項1ないし4のいずれか一項に記載のポート配置決定装置。
【請求項7】
前記ロボットアームは、先端部と、基端部と、前記基端部に配置されたねじり関節と、前記先端部と前記基端部との間に配置された曲げ関節と、を有し、
前記制御装置は、
前記ロボットアームを制御して、前記曲げ関節の回転軸線を、前記長手軸線を含む参照平面と交差させ、且つ前記参照平面に対する前記曲げ関節の回転軸線の向きを固定し、
所定の中心点を設定し、前記ねじり関節の回転軸線の延長線または前記延長線の直交方向にオフセットして配置される線である参照線上に参照点を設定し、前記ロボットアームを制御して、前記長手軸線を前記中心点に位置付け且つ前記参照平面を前記参照点に位置付け、
前記延長線の直交方向における前記参照点のオフセット量を変更して前記冗長な駆動軸の動作方向および動作量を制御する、請求項6記載のポート配置決定装置。
【請求項8】
前記手術ロボットシステムは、前記複数のロボットアームが装着されたアームベースをさらに備え、
前記複数のロボットアームはそれぞれ、前記アームベースに装着された基端部と、前記手術器具が装着される先端部と、前記基端部と前記先端部とを連結し且つ互いに連結される複数のリンクとを含み、前記基端部に隣接する前記リンクは前記基端部とねじり関節を介して接続されており、
前記制御装置は、前記ねじり関節の回転軸の軸方向と平行な方向から見たときに、前記複数のリンクのうちの、前記基端部に連結された前記リンクと前記先端部に連結された前記リンクとの間にある前記リンクの第1部分が、前記基端部の第2部分と前記先端部の第3部分との間に位置するように、前記ロボットアームを動作させる、請求項1ないし4のいずれか一項に記載のポート配置決定装置。
【請求項9】
前記手術器具は、器具ベースと、前記器具ベースから延在するシャフト部と、前記シャフト部の先端に設けられたエンドエフェクタと、を有し、
前記ロボットアームは、前記器具ベースが装着される直動関節を有し、前記直動関節は、前記手術器具を前記シャフト部の軸方向に移動させ、
前記制御装置は、
前記手術器具の運動の中心である遠隔中心を記憶し、
前記遠隔中心に基づいて前記ロボットアームの動作を制御し、前記ロボットアームの動作において、前記シャフト部が、患者の体壁に挿通されたポート部材に挿通され且つ前記エンドエフェクタが前記患者の体腔内に在るときに、前記遠隔中心から前記手術器具の遠位端部までの前記手術器具の体腔内長さをLとし、前記直動関節の原点位置から前記軸方向と平行な直動変位可能量をT0とし、前記直動関節の原点位置から現在位置までの前記軸方向と平行な直動変位量をT1とし、L≦T0の場合に、L及びT1の関係がT1≧Lである、請求項1ないし4のいずれか一項に記載のポート配置決定装置。
【請求項10】
請求項1ないし4のいずれか一項に記載のポート配置決定装置を備えた手術ロボットシステム。
(【請求項11】以降は省略されています)
発明の詳細な説明
【技術分野】
【0001】
この開示は、ポート配置決定装置、並びに、手術ロボットシステムおよびその制御方法に関する。
続きを表示(約 2,000 文字)
【背景技術】
【0002】
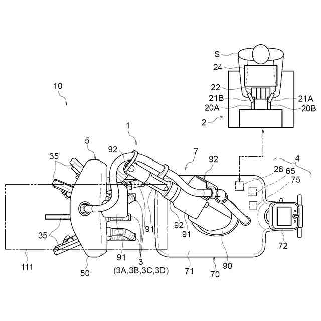
従来、手術器具を外科医が直接手に取って操作する手術方式に代えて、ロボットを利用して手術器具を操作して外科手術を行うための手術ロボットシステムが開示されている。手術ロボットシステムは、例えば、外科手術を受ける患者への負担を軽減することができる低侵襲外科手術(minimally invasive surgery)において使用される。
【0003】
手術ロボットシステムは、一般に、患者の傍に配置された手術ロボットと、外科医がリモートで手術ロボットを操作するための操作装置とを備えている。外科医が操作する操作装置は、例えば、患者が載置された手術ベッドが配置されている手術室の内部に配置される。手術ロボットは、ロボットアームを有し、ロボットアームには、手術器具が着脱可能に装着される。ロボットアームに装着される手術器具は、例えば、患者に設けられたポート部材に挿通可能な構成を備えている。ポート部材は、例えばトロカーまたはカニューレである。手術器具の種類は、鉗子、電気メス、ステープラー、内視鏡等であり、それらの中から手術の術式等に応じて適宜選択される。手術ロボットが複数のロボットアームを備えている場合には、ロボットアーム毎に異なる種類の手術器具を装着する場合もあるし、同じ種類の手術器具を2本またはより多くのロボットアームに装着する場合もある。例えば、1本のロボットアームに内視鏡を装着し、他の2本またはより多くのロボットアームに鉗子を装着する。
【0004】
外科医(操作者)は、操作装置を操作して手術ロボットを操作することによって、ロボットアームに装着された手術器具の位置および姿勢を制御することができる。鉗子のように手術器具自身が関節等の可動部を有している場合には、手術器具の可動部の操作も操作装置によって行うことができる。これにより、手術器具の位置および姿勢(可動部を有する場合は可動部についても)を、外科医は、操作装置によって制御することができる。例えば、手術器具が、シャフト部の先端に一対のジョーを設けた構成を備える場合、外科医は、操作装置を操作することによって、手術器具全体の位置および姿勢を制御すると共に、一対のジョーの開閉操作、あるいはピッチ軸および/またはヨー軸回りの回転操作を制御することができる。また、シャフト部自身がその長手軸線周りに回転可能に構成されている場合には、外科医は、操作装置を操作することによって、手術器具のシャフト部の回転操作(ロール軸回りの操作)を行うことができる。
【0005】
従来の手術ロボットシステムにおける手術ロボットは、一般に、そのロボットアームが複数の駆動軸(関節)を備えている。手術ロボットのロボットアームの複数の駆動軸(関節)は、一般に、回転関節を含んでおり、また直動関節を設ける場合もある。ロボットアームが備える駆動軸(関節)の数、すなわちロボットアームの自由度は、少なくとも、手術器具の位置および姿勢を制御するために必要な自由度と同じ自由度が必要となる。
【0006】
従来の手術ロボットシステムの中には、手術器具の位置および姿勢を制御するために必要な自由度よりも大きな自由度を持つロボットアームを有する手術ロボットを備えたものがある(例えば、特許文献1参照)。
【先行技術文献】
【特許文献】
【0007】
国際公開第2021/112193号
【発明の概要】
【発明が解決しようとする課題】
【0008】
特許文献1には、外科手術システムおよび外科手術マニピュレータアームの制御方法が記載されており、マニピュレータアームを動作させる際の、隣のマニピュレータアーム等の外科手術システムの他の機器や周囲の環境等との干渉の問題を解決するための発明が記載されている。しかしながら、特許文献1に記載の発明は、さらに改善する余地がある。
【0009】
特に、従来の手術ロボットシステムおよびその制御方法においては、患者の体壁に挿入される複数のポート部材の配置(ポート配置)を、手術ロボットの制御方法を検討する際の所与の条件として位置付けており、手術ロボットの性能を最大限に活用し得る最適なポート配置を探索するという視点が欠落している。
【0010】
この開示は、上記のような課題を解決するためになされたものであり、この開示の1つの目的は、手術ロボットの性能を最大限に活用し得る最適なポート配置を決定することができるポート配置決定装置、並びに同ポート配置決定装置を備えた手術ロボットシステムおよびその制御方法を提供することである。
【課題を解決するための手段】
(【0011】以降は省略されています)
この特許をJ-PlatPat(特許庁公式サイト)で参照する
関連特許
川崎重工業株式会社
ハンド
1日前
川崎重工業株式会社
断熱配管
1日前
川崎重工業株式会社
塗装システム
1日前
川崎重工業株式会社
監視システム
2日前
川崎重工業株式会社
配管の支持構造
2日前
川崎重工業株式会社
ロボットシステム
2日前
川崎重工業株式会社
ロボットシステム
2日前
川崎重工業株式会社
ワーク搬送ロボット
1日前
川崎重工業株式会社
締結方法及び締結装置
8日前
川崎重工業株式会社
極低温流体用配管設備
3日前
川崎重工業株式会社
ロボットの診断システム
2日前
川崎重工業株式会社
支援システムおよび支援方法
1日前
株式会社キッツ
逆流防止弁
2日前
川崎重工業株式会社
経路作成方法及び経路作成装置
1日前
川崎重工業株式会社
ガス燃料供給システムおよび船舶
8日前
川崎重工業株式会社
アンモニア回収システム及び方法
1日前
川崎重工業株式会社
ロボットシステム及びその動作方法
3日前
川崎重工業株式会社
配管の接続構造および配管システム
4日前
川崎重工業株式会社
手術支援システムおよび手術支援方法
1日前
川崎重工業株式会社
ロボットハンドおよびロボットシステム
1日前
川崎重工業株式会社
手術ロボットシステムおよびその制御方法
1日前
川崎重工業株式会社
手術ロボットシステムおよびその制御方法
1日前
川崎重工業株式会社
手術ロボットシステムおよびその制御方法
1日前
川崎重工業株式会社
手術ロボットシステムおよびその制御方法
1日前
川崎重工業株式会社
ワーク搬送ロボットおよびロボット制御方法
1日前
川崎重工業株式会社
油圧ショベルの油圧システムおよびブーム制御弁
4日前
川崎重工業株式会社
ロボットシステムの制御方法及びロボットシステム
2日前
川崎重工業株式会社
船舶の推進システム、制御プログラムおよび制御方法
1日前
川崎重工業株式会社
手術支援システム、手術支援方法および情報提供方法
1日前
川崎重工業株式会社
ワーク搬送ロボットおよびワーク搬送ロボットの制御方法
1日前
川崎重工業株式会社
ポート配置決定装置、手術ロボットシステムおよびその制御方法
1日前
川崎重工業株式会社
極低温用圧縮設備、及びそれを備えるボイルオフガス液化システム
3日前
川崎重工業株式会社
手術支援ロボット、手術支援システムおよび手術支援ロボットの制御方法
3日前
個人
健康器具
7か月前
個人
短下肢装具
2か月前
個人
歯茎みが品
8か月前
続きを見る
他の特許を見る