TOP
|
特許
|
意匠
|
商標
特許ウォッチ
Twitter
他の特許を見る
10個以上の画像は省略されています。
公開番号
2025151896
公報種別
公開特許公報(A)
公開日
2025-10-09
出願番号
2024053522
出願日
2024-03-28
発明の名称
配管の支持構造
出願人
川崎重工業株式会社
代理人
弁理士法人三協国際特許事務所
主分類
F16L
3/11 20060101AFI20251002BHJP(機械要素または単位;機械または装置の効果的機能を生じ維持するための一般的手段)
要約
【課題】液化空気の発生が想定される配管の支持構造において、当該配管の支持体の液化空気との接触を抑制する。
【解決手段】配管の支持構造1は、極低温流体が通過する配管10を支持するための構造である。支持構造1は、配管10を、当該配管10の管軸方向Fに離間した2点で吊り支持する第1支持材2と、基礎面BSに立設され、第1支持材2を支持する第2支持材3とを備える。支持構造1は、配管10を吊り支持した第1支持材2を、さらに第2支持材3で支持する構造である。つまり、配管10の直下に、当該配管10を支持する部材が存在しない支持構造である。このため、配管10の表面において液化空気LAが発生しても、当該液化空気LAが配管10を支持する第1支持材2および第2支持材3に接触し難い。
【選択図】図1
特許請求の範囲
【請求項1】
極低温流体が通過する配管の支持構造であって、
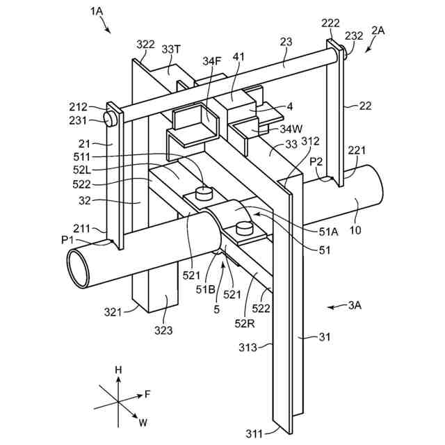
前記配管の管軸方向に延びる支持フレームを有し、前記配管を1点または前記管軸方向に離間した複数点で吊り支持する第1支持材と、
所定の支持体に固定され、前記第1支持材を支持する第2支持材と、
を備える配管の支持構造。
続きを表示(約 1,200 文字)
【請求項2】
請求項1に記載の配管の支持構造において、
前記第1支持材は、前記管軸方向に離間した2点のみで吊り支持する、配管の支持構造。
【請求項3】
請求項1に記載の配管の支持構造において、
前記第1支持材は、前記支持フレームから下方に延びる吊り材で前記配管を吊り支持し、
前記第2支持材は、前記吊り材を挟んだ少なくとも2点で、前記支持フレームを支持する、配管の支持構造。
【請求項4】
請求項1に記載の配管の支持構造において、
前記第1支持材は、前記第2支持材に対して前記管軸方向に移動可能に支持されている、配管の支持構造。
【請求項5】
請求項1に記載の配管の支持構造において、
前記第1支持材は、
上下方向に延び、前記配管の第1点を吊り支持する第1フレームと、
上下方向に延び、前記第1点に対して前記管軸方向に離間した第2点で前記配管を吊り支持する第2フレームと、
水平方向に延び、前記第1フレームと前記第2フレームとを連結する、前記支持フレームとしての連結フレームと、を含み、
前記第2支持材は、前記連結フレームを摺動可能に支持する、配管の支持構造。
【請求項6】
請求項5に記載の配管の支持構造において、
前記第1フレームおよび前記第2フレームは、それぞれ上端部に貫通孔を有し、
前記連結フレームは、棒状の部材であり、前記貫通孔に挿通された状態で前記第1フレームおよび前記第2フレームに固定される一端および他端を有する、配管の支持構造。
【請求項7】
請求項5に記載の配管の支持構造において、
前記第1フレームおよび前記第2フレームは各々、前記配管の外周に取り付けられる保持材と、前記連結フレームから垂下される吊りフレーム片と、前記保持材と前記吊りフレーム片とを前記管軸方向に移動可能に連結する連結部とを有する、配管の支持構造。
【請求項8】
請求項1~7のいずれか1項に記載の配管の支持構造において、
前記第2支持材が、互いに離間して前記支持体から立設される第1垂直梁および第2垂直梁と、前記第1垂直梁の上部と前記第2垂直梁の上部とを繋ぐ水平梁とを含み、
前記第1支持材は、前記水平梁で支持されている、配管の支持構造。
【請求項9】
請求項8に記載の配管の支持構造において、
前記第1垂直梁と前記第2垂直梁との間であって前記配管の下方に配置され、前記配管の表面で発生する液体を受けるトレイをさらに備える、配管の支持構造。
【請求項10】
請求項1~7のいずれか1項に記載の配管の支持構造において、
前記第2支持材による前記第1支持材の支持部分に配置され、前記第1支持材から前記第2支持材への伝熱を抑制する断熱材をさらに備える、配管の支持構造。
(【請求項11】以降は省略されています)
発明の詳細な説明
【技術分野】
【0001】
本開示は、極低温流体が通過する配管の支持構造に関する。
続きを表示(約 1,800 文字)
【背景技術】
【0002】
液化水素のような極低温流体を移送する配管の支持構造として、特許文献1の支持構造が知られている。特許文献1には、船舶の構造材の上方に配置された配管と、前記構造材から立設され前記配管を支持する支持脚とを備えた支持構造が開示されている。極低温流体を扱うプラント等では、前記配管として真空断熱多重管が用いられるが、一部の枝管等では単管が用いられることもある。
【先行技術文献】
【特許文献】
【0003】
特開2022-103902号公報
【発明の概要】
【発明が解決しようとする課題】
【0004】
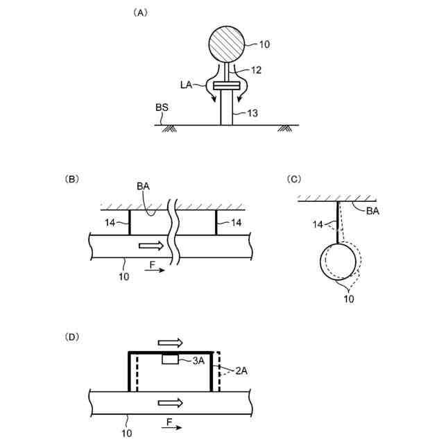
移送する極低温流体が液化空気を発生させる流体、例えば液化水素である場合、配管表面から液化空気が発生することがある。配管が断熱対策の施されていない単管等である場合、液化空気の発生は顕著となる。配管から発生した液化空気は、上掲の支持脚が存在する箇所では、当該支持脚を伝って下方に流れる。この場合、例えば、液化空気との接触によって、前記支持脚が低温脆化する問題が生じ得る。
【0005】
本開示の目的は、液化空気の発生が想定される配管の支持構造において、当該配管の支持体の液化空気との接触を抑制することにある。
【課題を解決するための手段】
【0006】
本開示の一局面に係る配管の支持構造は、極低温流体が通過する配管の支持構造であって、前記配管の管軸方向に延びる支持フレームを有し、前記配管を1点または前記管軸方向に離間した複数点で吊り支持する第1支持材と、所定の支持体に固定され、前記第1支持材を支持する第2支持材と、を備える。
【0007】
本開示の他の局面に係る配管の支持構造は、極低温流体が通過する配管の支持構造であって、前記配管を、前記管軸方向に離間した複数点で吊り支持する第1支持材と、所定の支持体に固定され、前記第1支持材を支持する第2支持材と、を備える。
【発明の効果】
【0008】
本開示によれば、液化空気の発生が想定される配管の支持構造において、当該配管の支持体の液化空気との接触を抑制することができる。
【図面の簡単な説明】
【0009】
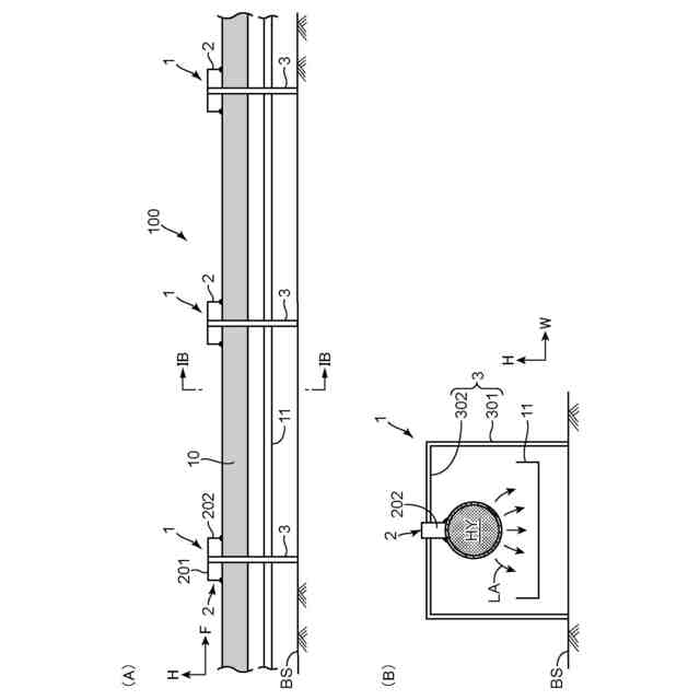
図1(A)は、本開示の第1実施形態に係る配管の支持構造を備えた配管システムの概略図、図1(B)は、図1(A)のIB-IB線断面図である。
図2は、本開示の第2実施形態に係る配管の支持構造を示す斜視図である。
図3は、第2実施形態に係る配管の支持構造を、配管の管軸方向から見た平面図である。
図4は、図3のIV-IV線断面図である。
図5(A)~(C)は、比較例の配管の支持構造の不具合を説明するための図、図5(D)は、本実施形態の利点を示す断面図である。
図6は、第3実施形態に係る配管の支持構造を、配管の管軸方向から見た平面図である。
図7は、図6のVII-VII線断面図である。
図8は、第4実施形態に係る配管の支持構造を、配管の管軸方向から見た平面図である。
図9は、図8のIX-IX線断面図である。
図10は、第5実施形態に係る配管の支持構造を示す図である。
【発明を実施するための形態】
【0010】
以下、図面に基づいて、本開示に係る配管の支持構造の各種実施形態を詳細に説明する。本開示において支持対象となる配管は、極低温流体が通過する配管である。極低温流体は、極低温流体は、周囲の空気を液化させる温度域の流体、または、周囲の空気に含まれる酸素や窒素を液化させる温度域の流体である。例えば、液化水素(LH
2
)、液体ヘリウム(LHe)、もしくはこれらの液化ガスが蒸発したボイルオフガスを、極低温流体として例示できる。本開示の配管の支持構造は、支持ベースとなる所定の支持体に対して組み付けられる。所定の支持体としては、液化水素運搬船の甲板やフレーム構造体、液化水素貯蔵設備や荷役設備等の水素を扱うプラントの地面や基盤、グレーチング等の各種のフレームを例示することができる。
(【0011】以降は省略されています)
この特許をJ-PlatPat(特許庁公式サイト)で参照する
関連特許
川崎重工業株式会社
ハンド
今日
川崎重工業株式会社
断熱配管
今日
川崎重工業株式会社
塗装システム
今日
川崎重工業株式会社
監視システム
1日前
川崎重工業株式会社
配管の支持構造
1日前
川崎重工業株式会社
ロボットシステム
1日前
川崎重工業株式会社
ロボットシステム
1日前
川崎重工業株式会社
ワーク搬送ロボット
今日
川崎重工業株式会社
極低温流体用配管設備
2日前
川崎重工業株式会社
締結方法及び締結装置
7日前
川崎重工業株式会社
ロボットの診断システム
1日前
株式会社キッツ
逆流防止弁
1日前
川崎重工業株式会社
支援システムおよび支援方法
今日
川崎重工業株式会社
経路作成方法及び経路作成装置
今日
川崎重工業株式会社
アンモニア回収システム及び方法
今日
川崎重工業株式会社
配管の接続構造および配管システム
3日前
川崎重工業株式会社
ロボットシステム及びその動作方法
2日前
川崎重工業株式会社
手術支援システムおよび手術支援方法
今日
川崎重工業株式会社
ロボットハンドおよびロボットシステム
今日
川崎重工業株式会社
手術ロボットシステムおよびその制御方法
今日
川崎重工業株式会社
手術ロボットシステムおよびその制御方法
今日
川崎重工業株式会社
手術ロボットシステムおよびその制御方法
今日
川崎重工業株式会社
手術ロボットシステムおよびその制御方法
今日
川崎重工業株式会社
ワーク搬送ロボットおよびロボット制御方法
今日
川崎重工業株式会社
油圧ショベルの油圧システムおよびブーム制御弁
3日前
川崎重工業株式会社
ロボットシステムの制御方法及びロボットシステム
1日前
川崎重工業株式会社
船舶の推進システム、制御プログラムおよび制御方法
今日
川崎重工業株式会社
手術支援システム、手術支援方法および情報提供方法
今日
川崎重工業株式会社
ワーク搬送ロボットおよびワーク搬送ロボットの制御方法
今日
川崎重工業株式会社
ポート配置決定装置、手術ロボットシステムおよびその制御方法
今日
川崎重工業株式会社
極低温用圧縮設備、及びそれを備えるボイルオフガス液化システム
2日前
川崎重工業株式会社
手術支援ロボット、手術支援システムおよび手術支援ロボットの制御方法
2日前
個人
鍋虫ねじ
1か月前
個人
ホース保持具
5か月前
個人
回転伝達機構
2か月前
個人
紛体用仕切弁
1か月前
続きを見る
他の特許を見る