TOP
|
特許
|
意匠
|
商標
特許ウォッチ
Twitter
他の特許を見る
公開番号
2025137057
公報種別
公開特許公報(A)
公開日
2025-09-19
出願番号
2024036037
出願日
2024-03-08
発明の名称
吸収性物品
出願人
日本製紙クレシア株式会社
,
学校法人渡辺学園
代理人
個人
,
個人
主分類
A61F
13/476 20060101AFI20250911BHJP(医学または獣医学;衛生学)
要約
【課題】下着の形状や糊の強さに左右されることなく、着用し易く、着用時も快適で、剥がし易い吸収性物品を提供する。
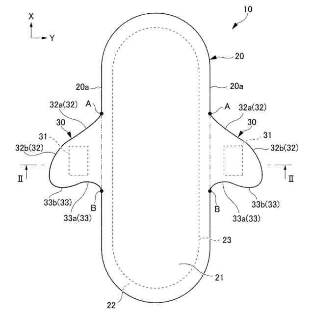
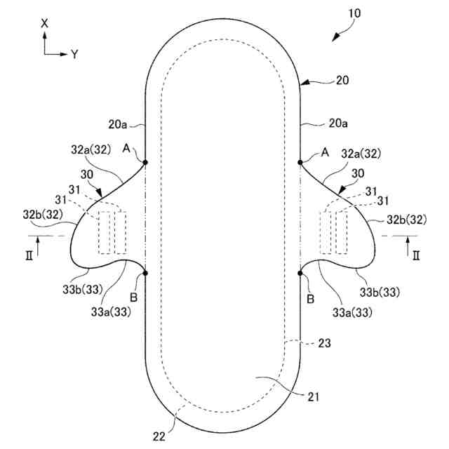
【解決手段】本開示の吸収性物品10は、吸収性本体20と、粘着層を有する左右のウィング30とを備え、ウィング30の前方起点Aから延びてウィング30に前側から接する第1仮想直線VL1と、後方起点Bから前方起点Aを通過して前方へ延びる第2仮想直線VL2との間の角度θ1は、100度以上145度以下であり、左右のウィング30の双方の後方起点Bを通過する第3仮想直線VL3よりも前方へ円弧状に凹む第2凹状領域33aが後方起点Bから連続して延び、前方起点Aと後方起点Bとを結ぶ線分を2等分した点Cからの第4仮想直線VL4と吸収性本体20の中心線CLとの交点Eから吸収性本体20の前端D1までの長さL2は、60mm以上150mm以下であり、粘着層の面積は、150mm
2
以上600mm
2
以下である。
【選択図】図4
特許請求の範囲
【請求項1】
液透過性のトップシートと、液不透過性のバックシートと、前記トップシートと前記バックシートの間に配置される吸収体とを有する吸収性本体と、
下着に対して止着可能な粘着層を有し、前記吸収性本体の幅方向の両側の側縁から幅方向の外側へ突出する左右のウィングと、を備え、
前記吸収性本体の前記側縁からの前記ウィングの前方起点から延びて前記ウィングに対して前側から接する第1仮想直線と、前記吸収性本体の前記側縁からの前記ウィングの後方起点から前記前方起点を通過して前方へ延びる第2仮想直線との間の角度は、100度以上145度以下であり、
前記ウィングの外縁のうち前記後方起点から連続して延びる少なくとも一部の領域は、前記左右のウィングの双方の前記後方起点を通過する第3仮想直線よりも前方へ円弧状に凹む凹状領域であり、
前記吸収性本体の前端と後端とを結び前記吸収性本体の幅方向の中央を通る中心線に対して、前記ウィングの前記前方起点と前記後方起点とを結ぶ線分を2等分した点から直角に交わるように第4仮想直線を延ばした場合、前記中心線と前記第4仮想直線との交点から前記吸収性本体の前記前端までの前記中心線に沿った長さは、60mm以上150mm以下であり、
前記左右のウィングのそれぞれの前記粘着層の面積は、150mm
2
以上600mm
2
以下である
ことを特徴とする吸収性物品。
続きを表示(約 360 文字)
【請求項2】
前記前方起点と前記後方起点とを結ぶ線分の長さは、50mm以上80mm以下であり、
前記後方起点から前記ウィングの幅方向の外端までの前記第3仮想直線に沿った長さは、30mm以上50mm以下である
ことを特徴とする請求項1に記載の吸収性物品。
【請求項3】
前記ウィングの外縁の前記凹状領域の頂点から前記第3仮想直線まで延ばした垂線の長さは、3mm以上5mm以下であり、
前記ウィングの外縁は、前記凹状領域から幅方向の外側へ連続して延びて後方へ円弧状に突出する凸状領域を有し、
前記凹状領域と前記凸状領域との変曲点から前記後方起点までの直線距離は、15mm以上20mm以下である
ことを特徴とする請求項1又は請求項2に記載の吸収性物品。
発明の詳細な説明
【技術分野】
【0001】
本開示は、ウィング付きの吸収性物品に関する。
続きを表示(約 1,900 文字)
【背景技術】
【0002】
特許文献1には、生理用ナプキンが開示されている。この生理用ナプキンは、トップシートと、バックシートと、これらのシート間に介在しティッシュで全体が被覆された吸収体とによりナプキン本体が形成され、また、このナプキン本体を使用する際に、下着等に固定するための接着剤面が塗設された一対のウィングを備えている。
【先行技術文献】
【特許文献】
【0003】
特開2004-290602号公報
【発明の概要】
【発明が解決しようとする課題】
【0004】
ところで、下着のクロッチ幅はデザインによって様々である。特にクロッチ幅の細い下着においては、ウィング付きの吸収性物品のうちウィング部分を除いた吸収性本体の幅とクロッチの幅とが大きく異なり、これに加えて足ぐり部分のカーブが急であることが多い。このため、ウィングの装着時に吸収性本体が巻き込まれたり、ウィングを本来折られるべき部分で折ることができなかったりする。このような状態で吸収性物品を装着した場合、吸収性本体の変形や下着への接着強度の低下を招き、体液の漏れの発生や着用快適性の低下を招くおそれがある。また、装着時に左右のウィング同士が重なる場合には、着脱がし難く、装着後に肌にこすれて着用感を損ねる。
【0005】
ウィング付きの吸収性物品は、交換時等にウィングを下着から剥がす際に、ウィングが破断したり、ウィングの接着剤が下着に残ったりするおそれがある。
【0006】
特許文献1に記載の生理用ナプキンでは、様々な下着の形状に対する検討がなされておらず、クロッチ幅が狭い下着に装着する場合、装着時に左右のウィング同士が重なったり、ウィングが正しい位置で折られずに接着強度の低下や吸収性本体の変形を引き起こしたりする場合がある。
【0007】
そこで、本開示は、下着の形状や糊の強さに左右されることなく、着用し易く、着用時も快適で、剥がし易い吸収性物品の提供を目的とする。
【課題を解決するための手段】
【0008】
上記課題を解決するため、本発明の第1の態様の吸収性物品は、液透過性のトップシートと、液不透過性のバックシートと、前記トップシートと前記バックシートの間に配置される吸収体とを有する吸収性本体と、下着に対して止着可能な粘着層を有し、前記吸収性本体の幅方向の両側の側縁から幅方向の外側へ突出する左右のウィングと、を備え、前記吸収性本体の前記側縁からの前記ウィングの前方起点から延びて前記ウィングに対して前側から接する第1仮想直線と、前記吸収性本体の前記側縁からの前記ウィングの後方起点から前記前方起点を通過して前方へ延びる第2仮想直線との間の角度は、100度以上145度以下であり、前記ウィングの外縁のうち前記後方起点から連続して延びる少なくとも一部の領域は、前記左右のウィングの双方の前記後方起点を通過する第3仮想直線よりも前方へ円弧状に凹む凹状領域であり、前記吸収性本体の前端と後端とを結び前記吸収性本体の幅方向の中央を通る中心線に対して、前記ウィングの前記前方起点と前記後方起点とを結ぶ線分を2等分した点から直角に交わるように第4仮想直線を延ばした場合、前記中心線と前記第4仮想直線との交点から前記吸収性本体の前記前端までの前記中心線に沿った長さは、60mm以上150mm以下であり、前記左右のウィングのそれぞれの前記粘着層の面積は、150mm
2
以上600mm
2
以下である。
【0009】
本発明の第2の態様は、上記第1の態様の吸収性物品であって、前記前方起点と前記後方起点とを結ぶ線分の長さは、50mm以上80mm以下であり、前記後方起点から前記ウィングの幅方向の外端までの前記第3仮想直線に沿った長さは、30mm以上50mm以下である。
【0010】
本発明の第3の態様は、上記第1の態様又は上記第2の態様の吸収性物品であって、前記ウィングの外縁の前記凹状領域の頂点から前記第3仮想直線まで延ばした垂線の長さは、3mm以上5mm以下であり、前記ウィングの外縁は、前記凹状領域から幅方向の外側へ連続して延びて後方へ円弧状に突出する凸状領域を有し、前記凹状領域と前記凸状領域との変曲点から前記後方起点までの直線距離は、15mm以上20mm以下である。
【発明の効果】
(【0011】以降は省略されています)
この特許をJ-PlatPat(特許庁公式サイト)で参照する
関連特許
日本製紙クレシア株式会社
吸収性物品
12日前
日本製紙クレシア株式会社
ローションティシューペーパー包装体
20日前
日本製紙クレシア株式会社
キッチンタオルロール
12日前
日本製紙クレシア株式会社
キッチンロールタオル製品
12日前
個人
健康器具
7か月前
個人
短下肢装具
2か月前
個人
鼾防止用具
7か月前
個人
洗井間専家。
6か月前
個人
白内障治療法
6か月前
個人
前腕誘導装置
2か月前
個人
脈波測定方法
7か月前
個人
脈波測定方法
7か月前
個人
嚥下鍛錬装置
2か月前
個人
ホバーアイロン
5か月前
個人
矯正椅子
4か月前
個人
胸骨圧迫補助具
26日前
個人
バッグ式オムツ
3か月前
個人
歯の修復用材料
3か月前
個人
汚れ防止シート
2日前
個人
アイマスク装置
1か月前
個人
湿布連続貼り機。
1か月前
個人
歯の保護用シール
4か月前
個人
シャンプー
5か月前
個人
口内洗浄具
7か月前
個人
哺乳瓶冷まし容器
2か月前
三生医薬株式会社
錠剤
6か月前
個人
車椅子持ち上げ器
6か月前
個人
陣痛緩和具
2か月前
株式会社結心
手袋
6か月前
株式会社八光
剥離吸引管
4か月前
個人
性行為補助具
2か月前
個人
服薬支援装置
6か月前
個人
治療用酸化防御装置
20日前
個人
エア誘導コルセット
1か月前
株式会社大野
骨壷
3か月前
株式会社ダリヤ
毛髪化粧料
7か月前
続きを見る
他の特許を見る