TOP
|
特許
|
意匠
|
商標
特許ウォッチ
Twitter
他の特許を見る
公開番号
2025133167
公報種別
公開特許公報(A)
公開日
2025-09-11
出願番号
2024030943
出願日
2024-03-01
発明の名称
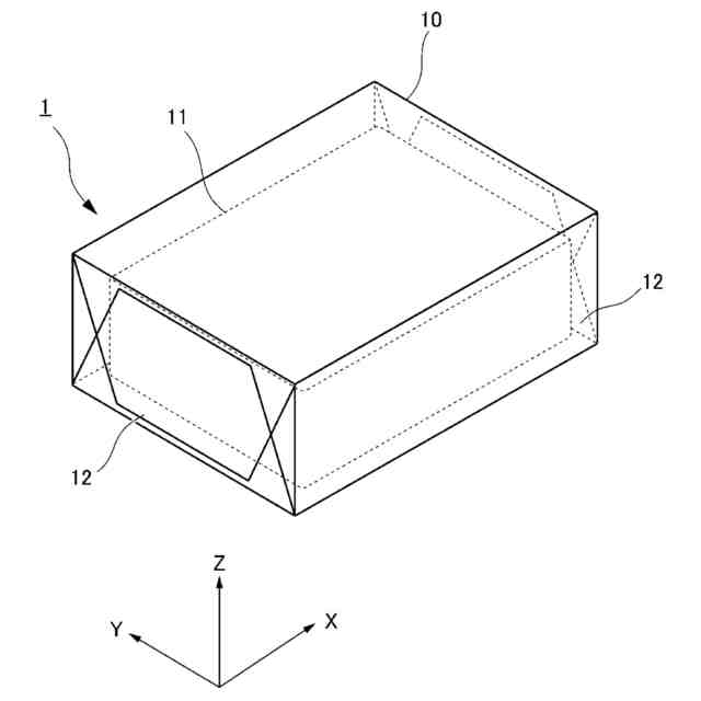
ローションティシューペーパー包装体
出願人
日本製紙クレシア株式会社
代理人
個人
,
個人
主分類
B65D
83/08 20060101AFI20250904BHJP(運搬;包装;貯蔵;薄板状または線条材料の取扱い)
要約
【課題】包装体の中で積層体が折れ曲がってシワが発生することなく美粧性が良好なローションティシューペーパー包装体を提供する。
【解決手段】ローションティシューペーパーを積層したローションティシュー積層体が、少なくともフィルム基材を含む包装基材で覆われ、シール部によりローションティシュー積層体が封止されている、ローションティシューペーパー包装体であって、包装基材による包装形式がキャラメル包装であり、ローションティシューペーパーが、3プライのローションティシューペーパーであり、かつ、エンボスパターンを有し、包装基材は、坪量が15g/m
2
以上100g/m
2
以下であり、かつ、厚さが16μm以上115μm以下であり、包装基材とローションティシューペーパーの静摩擦係数が0.15以上0.27以下であることを特徴とする。
【選択図】図1
特許請求の範囲
【請求項1】
ローションティシューペーパーを積層したローションティシュー積層体が、少なくともフィルム基材を含む包装基材で覆われ、シール部により前記ローションティシュー積層体が封止されている、ローションティシューペーパー包装体であって、
前記包装基材による包装形式がキャラメル包装であり、
前記ローションティシューペーパーが、3プライのローションティシューペーパーであり、かつ、エンボスパターンを有し、
前記包装基材は、坪量が15g/m
2
以上100g/m
2
以下であり、かつ、厚さが16μm以上115μm以下であり、
前記包装基材と前記ローションティシューペーパーの静摩擦係数が0.15以上0.27以下であることを特徴とする、ローションティシューペーパー包装体。
続きを表示(約 960 文字)
【請求項2】
前記包装基材と前記ローションティシューペーパーの動摩擦係数が0.11以上0.23以下であることを特徴とする、請求項1に記載のローションティシューペーパー包装体。
【請求項3】
(前記包装基材の周長(A)/前記ローションティシュー積層体の周長(B))×100(%)が99%以上110%以下であることを特徴とする、請求項1又は2に記載のローションティシューペーパー包装体。
【請求項4】
前記ローションティシューペーパーの3プライ当たりの坪量が33g/m
2
以上61g/m
2
以下であることを特徴とする、請求項1又は2に記載のローションティシューペーパー包装体。
【請求項5】
前記ローションティシューペーパーの3プライ当たりの紙厚が0.18mm以上0.34mm以下であることを特徴とする、請求項1又は2に記載のローションティシューペーパー包装体。
【請求項6】
前記ローションティシュー積層体の高さが23mm以上62mm以下であることを特徴とする、請求項1又は2に記載のローションティシューペーパー包装体。
【請求項7】
前記ローションティシューペーパーにおけるローションの含有量が、10%以上22%以下であることを特徴とする、請求項1又は2に記載のローションティシューペーパー包装体。
【請求項8】
前記ローションティシューペーパーにおける3プライ当たりのローションの含有量が、4.3g/m
2
以上9.6g/m
2
以下であることを特徴とする、請求項1又は2に記載のローションティシューペーパー包装体。
【請求項9】
前記ローションティシュー積層体において、前記ローションティシューペーパーがV字折りされて積層されていることを特徴とする、請求項1又は2に記載のローションティシューペーパー包装体。
【請求項10】
前記ローションティシュー積層体に含まれる前記ローションティシューペーパーの組数が60組以上150組以下であることを特徴とする、請求項1又は2に記載のローションティシューペーパー包装体。
発明の詳細な説明
【技術分野】
【0001】
本発明は、ローションティシューペーパー包装体に関する。
続きを表示(約 1,200 文字)
【背景技術】
【0002】
ティシュー等の薄葉紙は、通常、複数枚を積層したものを包装した形態で販売されている。
【0003】
そのような薄葉紙の販売パッケージは、剛性のある紙による箱型カートンの他に、柔らかい紙やプラスチックフィルムによるソフトパックが販売されており、そのようなソフトパックは持ち運びに便利である。中でも高級品といわれるローションティシューは、キャラメル包装形式のソフトパックで販売されることがある。
【0004】
キャラメル包装は、包装体の形態(見た目)が良好であり、また、包装体の両端部をヒートシールするため、ローションティシューの残りの量が少なくなってもソフトパック包装体の形態を維持でき、ローションティシューが無くなる最後まで使用しやすい特徴を有する。
【0005】
そのようなキャラメル包装による薄葉紙の包装体として、例えば、特許文献1には、複数枚の保湿性シートが積層されたシート積層体と、シート積層体を包装する包装袋とを有し、シート積層体が積層方向に圧縮率50%以上80%以下で圧縮された状態で包装袋に収容されている、シート包装体が開示されている。また、シート積層体がキャラメル包装されている旨も記載されている。
【0006】
しかし、キャラメル包装は、包装体の形態が良好である一方で包装が困難である。包装が困難になるのは、シート(ティシュー)の原反が上巻のときは上巻になるほど積層体の高さが高くなり、下巻のときは下巻になるほど積層体の高さが低くなるためである。
【0007】
積層体の高さが高すぎると、タイトになりすぎて包装時に包装袋(フィルム)と積層体が干渉(接触)して強い摩擦が生じ、シート(ティシュー)がめくれやすくなって折れ曲がり、しわになりやすく、美粧性に欠け、不良品になりやすくなる。一方、積層体の高さが低すぎると、包装袋(フィルム)と積層体の間に隙間ができるため、包装袋(フィルム)の中で積層体が動きやすく、折れ曲がってしわになるなどして、操業性と美粧性に欠けてしまう。
【0008】
また、包装基材のフィルムの厚みを厚くしすぎると、フィルムが所望の位置で曲げにくくなり包装しづらくなる。一方、フィルムの厚みを薄くしすぎると、フィルム同士がくっついてしまい、操業性が悪くなる。
【0009】
特にティシューとして、エンボスを有するローションティシューを用いた場合、摩擦が変動して操業性が顕著に劣る場合があり、シワが入りやすく美粧性が劣る場合があった。
【先行技術文献】
【特許文献】
【0010】
特開2021-113085号公報
【発明の概要】
【発明が解決しようとする課題】
(【0011】以降は省略されています)
この特許をJ-PlatPat(特許庁公式サイト)で参照する
関連特許
日本製紙クレシア株式会社
吸収性物品
16日前
日本製紙クレシア株式会社
複合型不織布
27日前
日本製紙クレシア株式会社
ペット用吸収性物品
1か月前
日本製紙クレシア株式会社
トイレットロール包装体
1か月前
日本製紙クレシア株式会社
キッチンタオルロール包装体
26日前
日本製紙クレシア株式会社
ローションティシューペーパー包装体
24日前
日本製紙クレシア株式会社
ローションティシューペーパー包装体
26日前
日本製紙クレシア株式会社
キッチンタオルロール
16日前
日本製紙クレシア株式会社
キッチンロールタオル製品
16日前
個人
箱
11か月前
個人
ゴミ箱
11か月前
個人
収容箱
2か月前
個人
コンベア
4か月前
個人
ゴミ収集器
6か月前
個人
段ボール箱
6か月前
個人
容器
8か月前
個人
段ボール箱
6か月前
個人
土嚢運搬器具
7か月前
個人
楽ちんハンド
4か月前
個人
パウチ補助具
11か月前
個人
バンド
1か月前
個人
宅配システム
6か月前
個人
角筒状構造体
4か月前
個人
閉塞装置
9か月前
個人
廃棄物収容容器
1か月前
個人
包装容器
16日前
個人
お薬の締結装置
5か月前
個人
コード類収納具
7か月前
株式会社コロナ
梱包材
4か月前
個人
ゴミ処理機
8か月前
個人
貯蔵サイロ
6か月前
個人
蓋閉止構造
3か月前
株式会社和気
包装用箱
8か月前
個人
蓋閉止構造
3か月前
個人
積み重ね用補助具
2か月前
個人
把手付米袋
3か月前
続きを見る
他の特許を見る