TOP
|
特許
|
意匠
|
商標
特許ウォッチ
Twitter
他の特許を見る
公開番号
2025137120
公報種別
公開特許公報(A)
公開日
2025-09-19
出願番号
2024036135
出願日
2024-03-08
発明の名称
バルブおよび真空ポンプ
出願人
樫山工業株式会社
代理人
個人
,
個人
主分類
F16K
15/18 20060101AFI20250911BHJP(機械要素または単位;機械または装置の効果的機能を生じ維持するための一般的手段)
要約
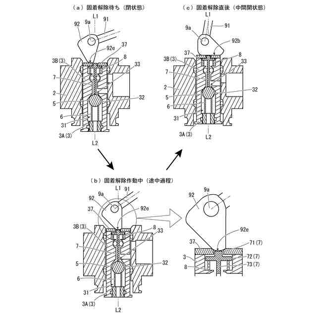
【課題】いざ使用時となった際に弁体が固着してしまっている虞を低減させた逆流防止機能を有するバルブを提供する。
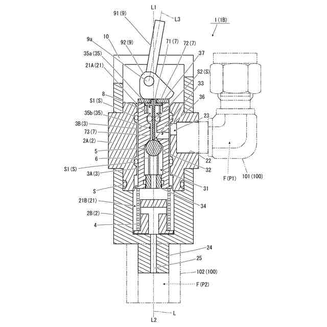
【解決手段】逆流防止機能を有するバルブ1は、弁座32に囲まれた弁座口33が形成されており、弁座口33を介して上流側の流路と連通する弁室31を画定している逆流防止下流側枠体3Aと、弁座32に接する状態と弁座32から離れた状態との間で移動可能に弁室31内に配置された弁体5と、逆流防止下流側枠体3Aの壁を貫通させて先端が弁体5と接触可能に配置され、逆流防止下流側枠体3Aの外側からの加力を受けて弁体5を弁座32から離れる方向へ押し込むことが可能な固着解除体7と、オペレータがバルブ1を使用状態にする際の操作と連動する部材であり、固着解除体7と接触可能に配置されて、オペレータによる操作過程において固着解除体7に対して一時的に加力を強めることが可能な形態を有する使用操作連動部材92と、を備える。
【選択図】図7
特許請求の範囲
【請求項1】
内部に流体が流れる流路が形成された逆流防止機能を有するバルブであって、
端部に流路径が絞られ弁座に囲まれた弁座口が形成されている枠形状を有し、前記弁座口を介して上流側の流路と連通する内部空間である弁室を内壁面によって画定している逆流防止下流側枠体と、
前記弁座に接する状態と前記弁座から離れた状態との間で移動可能に前記弁室内に配置され、前記弁座に接する状態で前記弁座口を塞ぐ形態を有する弁体と、
前記逆流防止下流側枠体の壁を貫通させて先端が前記弁体と接触可能に配置され、前記逆流防止下流側枠体の外側からの加力を受けて前記弁体を前記弁座から離れる方向へ押し込むことが可能な固着解除体と、
少なくともオペレータがバルブを使用状態にする際の操作と連動する部材であるとともに、前記固着解除体と接触可能に配置されており、前記オペレータによる操作過程において前記固着解除体に対して一時的に加力を強めることが可能な形態を有する使用操作連動部材と、
を備える、ことを特徴とするバルブ。
続きを表示(約 1,500 文字)
【請求項2】
請求項1に記載のバルブにおいて、
前記弁室内に配置されており、前記弁体に対し、前記弁座に向けて常に付勢する弁体付勢部材を更に備える、バルブ。
【請求項3】
請求項1に記載のバルブにおいて、
前記逆流防止下流側枠体の上流側に位置し流体を導入するために周壁を貫通する導入口が形成されている枠形状を有し、前記弁座口を介して前記弁室と連通する内部空間である上流室を内壁面によって画定している逆流防止上流側枠体を更に備え、
前記固着解除体は、ピン形状を有し、一端側が前記弁座口から前記弁室内に突出可能になるよう前記弁座口を貫通し、他端側の端面が前記使用操作連動部材と対面するよう、前記上流室の外側から見て露出する状態で、前記逆流防止上流側枠体内を移動可能に配置されており、
前記上流室の一部が前記導入口から前記弁座口へと流体を流す流路の一部となっているバルブ。
【請求項4】
請求項3に記載のバルブにおいて、
前記上流室内に配置されており、前記固着解除体に対し、前記使用操作連動部材に向けて常に付勢する固着解除体付勢部材を更に備える、バルブ。
【請求項5】
請求項3に記載のバルブにおいて、
前記弁室および前記上流室は、それぞれ、回転対称形状の内壁面によって、一直線に延びる仮想の軸線を中心に同軸で画定されており、
前記弁体は、回転対称形状で、前記弁座に接する状態では重心が前記軸線上に配置され、
前記固着解除体は、少なくとも前記上流室内に位置する部分が回転対称形状で、重心が前記軸線上または重心が前記軸線上から僅かに外れた位置に配置されて前記軸線に沿って移動可能である、バルブ。
【請求項6】
請求項5に記載のバルブにおいて、
前記固着解除体は、一端側の先端部が回転非対称形状であり、最先端の位置が前記軸線上から外れている、バルブ。
【請求項7】
請求項3に記載のバルブにおいて、
外部から流体導入用の導入管を接続するために接続部が形成されている枠形状を有し、貫通孔である引込口を介して前記接続部に接続された前記導入管と連通する内部空間であるピストン室を内壁面によって画定しているピストン枠を更に備え、
前記逆流防止下流側枠体および前記逆流防止上流側枠体は、一体化されて、前記ピストン室内に配置されるピストンとして構成されており、
前記ピストンは、外壁面が少なくとも前記引込口周りの内壁面と密着した状態で当該内壁面に沿って往復運動可能な形状で、移動に伴って前記導入口が前記引込口と重なった状態および重ならない状態に切り替わるよう配置されており、
前記ピストン枠の前記引込口と前記ピストンの前記導入口とが重なった状態または重ならない状態に切り替わることで流路開閉機能を更に有する、バルブ。
【請求項8】
請求項7に記載のバルブにおいて、
前記ピストン枠の前記引込口と前記ピストンの前記導入口との重なり具合により、流れる流体の流量を変更可能な流量変更機能を更に有する、バルブ。
【請求項9】
請求項7に記載のバルブにおいて、
前記ピストン室に配置されており、前記ピストンに対し、前記使用操作連動部材に向けて常に付勢するピストン付勢部材を更に備える、バルブ。
【請求項10】
請求項7に記載のバルブにおいて、
前記固着解除体、前記弁体、および、前記ピストンのそれぞれの中心軸が同軸である、バルブ。
(【請求項11】以降は省略されています)
発明の詳細な説明
【技術分野】
【0001】
本発明は、バルブおよび真空ポンプに関し、更に詳しくは、逆流防止機能を有し、弁体の固着防止構造に特徴があるバルブ、および、係るバルブが搭載されている真空ポンプに関する。
続きを表示(約 2,000 文字)
【背景技術】
【0002】
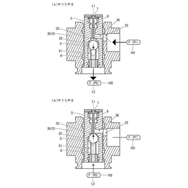
真空ポンプ等の流体機器において、流体の流れを一方向のみ流すようにする逆流防止機能を有するバルブ(逆止弁、チェック弁、チャッキ弁とも呼ばれる。)が用いられている。このような逆流防止機能を有するバルブは、内部に形成された流路内に弁体が配置されており、流路途中に、順流の場合には弁体に塞がれず、逆流の場合には弁体に塞がれる開口(本明細書では「弁座口」という。)が形成されている。
【0003】
このような逆流防止機能を有するバルブでは、水分やスラッジ等により弁体が弁座口周りの弁座に固着して、設計上の弁体が開くようになる(弁座口を塞がなくなる)上流側と下流側との圧力差(「クラッキング圧力」とも呼ばれる。)で、弁体が開かなくなることがある。このような弁体の固着を防止するための手段を備えるバルブも提案されている(例えば、特許文献1および特許文献2参照。)。
【0004】
特許文献1で開示されているバルブとしての逆止弁は、弁体としてのボール(26)が着座して塞ぐ弁座口としての開口(38)より低い位置に沈降したスラリの固形成分を溜めるためのポケット部(50)が形成されている。これにより、特許文献1で開示されている逆止弁は、スラリ固形成分がボールの周囲に堆積して、ボール(26)を固着させてしまうことを防止している。
【0005】
特許文献2で開示されているバルブ(逆止弁付保圧弁20)は、弁体(バルブ30)が流路を囲むシール面(23c)を塞ぐ弁座(32)と、シール面(23c)に直交する方向に延びる円筒形の弁棒(34)と、弁体の外周面に取り付けられその外周面がバルブガイド孔(24a)の内面と摺動する中空円筒形状であって、自己潤滑性樹脂からなる樹脂製パッド(36)とを有している。自己潤滑性樹脂によりバルブガイド孔(24a)との摺動摩擦を低減でき、弁体(バルブ30)とバルブガイド孔(24a)との固着を大幅に抑制することができる。
【先行技術文献】
【特許文献】
【0006】
特開2006-046409号公報
特開2016-044787号公報
【発明の概要】
【発明が解決しようとする課題】
【0007】
特許文献1で開示されている弁体の固着防止構造は、弁体よりも高い位置から低い位置へ流体を流すバルブにしか適用できず、採用できるバルブが限られてしまう。また、特許文献2で開示されている弁体の固着防止構造は、弁体と弁座との固着を防止することができない。いずれにせよ、特に真空ポンプで使用される逆流防止機能を有するバルブでは、大気圧とポンプ内の圧力との差圧が小さく、ちょっとした固着でも弁体が開かなくなってしまうため、弁体の固着防止には、ピン等を用いて強制的に弁体を弁座から離すよう押し出す作業を行なう手法が有効である。
【0008】
しかしながら、従来、ピン等を用いて強制的に弁体を弁座から離すよう押し出す作業については、整備点検等、バルブを使用状態にする操作とは連動せずに行われるものであったため、作業忘れや作業がなされていたとしても使用迄の時間経過により、いざ使用時となった際に弁体が固着してしまっている虞があった。
【0009】
本発明の目的は、このような点に鑑みてなされたものであり、いざ使用時となった際に弁体が固着してしまっている虞を低減させた逆流防止機能を有するバルブを提供することにある。また、係るバルブが搭載されていることにより、バルブの不作動による不具合を起こし難い真空ポンプを提供することにある。
【課題を解決するための手段】
【0010】
上記課題を解決すべく、本発明に係るバルブは、
内部に流体が流れる流路が形成された逆流防止機能を有するバルブであって、
端部に流路径が絞られ弁座に囲まれた弁座口が形成されている枠形状を有し、弁座口を介して上流側の流路と連通する内部空間である弁室を内壁面によって画定している逆流防止下流側枠体と、
弁座に接する状態と弁座から離れた状態との間で移動可能に弁室内に配置され、弁座に接する状態で弁座口を塞ぐ形態を有する弁体と、
逆流防止下流側枠体の壁を貫通させて先端が弁体と接触可能に配置され、逆流防止下流側枠体の外側からの加力を受けて弁体を弁座から離れる方向へ押し込むことが可能な固着解除体と、
少なくともオペレータがバルブを使用状態にする際の操作と連動する部材であるとともに、固着解除体と接触可能に配置されており、オペレータによる操作過程において固着解除体に対して一時的に加力を強めることが可能な形態を有する使用操作連動部材と、
を備える、ことを特徴としている。
(【0011】以降は省略されています)
この特許をJ-PlatPat(特許庁公式サイト)で参照する
関連特許
樫山工業株式会社
真空ポンプ
7日前
樫山工業株式会社
バルブおよび真空ポンプ
26日前
樫山工業株式会社
真空ポンプおよび真空ポンプ冷却システム
7日前
個人
留め具
1日前
個人
鍋虫ねじ
1か月前
個人
紛体用仕切弁
1か月前
個人
回転伝達機構
2か月前
個人
ホース保持具
6か月前
個人
トーションバー
6か月前
個人
差動歯車用歯形
3か月前
個人
ジョイント
26日前
個人
給排気装置
8日前
株式会社不二工機
電磁弁
5か月前
個人
地震の揺れ回避装置
2か月前
株式会社不二工機
電磁弁
3か月前
個人
ナット
27日前
個人
吐出量監視装置
1か月前
柿沼金属精機株式会社
分岐管
2か月前
カヤバ株式会社
緩衝器
3か月前
カヤバ株式会社
ダンパ
3か月前
カヤバ株式会社
ダンパ
3か月前
カヤバ株式会社
緩衝器
3か月前
カヤバ株式会社
緩衝器
7日前
株式会社奥村組
制振機構
16日前
日東電工株式会社
断熱材
6か月前
株式会社奥村組
制振機構
16日前
株式会社ノーリツ
分配弁
12日前
個人
固着具と固着具の固定方法
6か月前
株式会社ニフコ
クリップ
12日前
株式会社フジキン
ボールバルブ
4か月前
株式会社タカギ
水栓装置
2か月前
株式会社ノーリツ
分配弁
5か月前
株式会社ノーリツ
分配弁
5か月前
株式会社ノーリツ
分配弁
5か月前
株式会社不二工機
電動弁
8日前
個人
固着具と固着具の固定方法
4か月前
続きを見る
他の特許を見る