TOP
|
特許
|
意匠
|
商標
特許ウォッチ
Twitter
他の特許を見る
公開番号
2025148682
公報種別
公開特許公報(A)
公開日
2025-10-08
出願番号
2024048933
出願日
2024-03-26
発明の名称
真空ポンプおよび真空ポンプ冷却システム
出願人
樫山工業株式会社
代理人
個人
,
個人
主分類
F04C
25/02 20060101AFI20251001BHJP(液体用容積形機械;液体または圧縮性流体用ポンプ)
要約
【課題】ケースとロータとのクリアランスをできるだけ小さく設定できるよう、ケースとロータとの温度差を縮めるための冷却構造を有する真空ポンプを提供する。
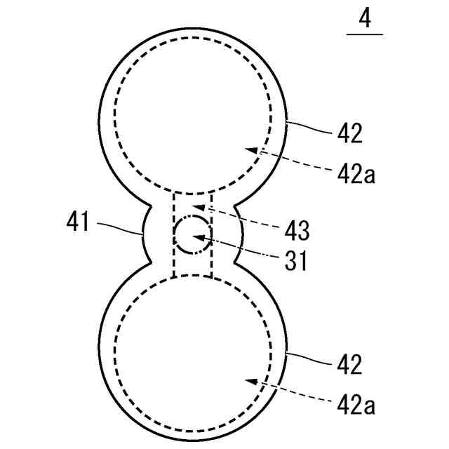
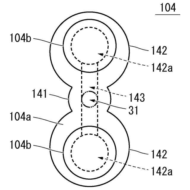
【解決手段】この真空ポンプ1は、回転軸3が軸線方向に延びるよう設けられた両端が開口する回転軸流路31を有し、ロータ4が、中央に位置するロータ中央部41と、ロータ中央部51から径方向に張り出し、内壁面で囲まれた葉部内部空洞42aを画定している2葉または3葉の中空形状の葉部42と、回転軸流路31と葉部内部空洞42aとの間を連通させるよう形成されたロータ流路43とを有し、回転軸流路31の一端側から、回転軸流路31、ロータ流路43、および、葉部内部空洞42aに冷媒を流すことでケース5を介さずにロータ4を内部から冷却可能とする冷却構造を有する。
【選択図】図1
特許請求の範囲
【請求項1】
回転出力するモータ、前記モータの回転出力が伝達されて回転する主動回転軸、前記主動回転軸と平行に配置された従動回転軸、前記主動回転軸および前記従動回転軸のそれぞれと一体形状で形成されている、または前記主動回転軸および前記従動回転軸のそれぞれに連結されている少なくとも一対のロータ、一対の前記ロータが配置される少なくとも一つのロータ室を区画するケース、並びに、前記主動回転軸および前記従動回転軸に連結し前記従動回転軸と反対方向に同期回転させるギアを備える真空ポンプであって、
前記主動回転軸および前記従動回転軸は、両端部が外部から配管を接続できるよう、前記モータおよび前記ギアよりも軸線方向における外側に突出しているとともに、周壁面に囲まれて前記軸線方向に延びるよう設けられた両端が開口する回転軸流路を有し、
各前記ロータは、中央に位置するロータ中央部と、前記ロータ中央部から径方向に張り出し、内壁面で囲まれた葉部内部空洞を画定している2葉または3葉の中空形状の葉部と、前記回転軸流路と前記葉部内部空洞との間を連通させるように形成された周壁面に囲まれたロータ流路とを有し、
前記回転軸流路の一端側から、前記回転軸流路、前記ロータ流路、および、前記葉部内部空洞に冷媒を流すことで前記ケースを介さずに前記ロータを内部から冷却可能とする冷却構造を有する、ことを特徴とする真空ポンプ。
続きを表示(約 1,200 文字)
【請求項2】
請求項1に記載の真空ポンプにおいて、
前記冷媒として気体が用いられる、真空ポンプ。
【請求項3】
請求項2に記載の真空ポンプにおいて、
前記気体として、窒素が用いられる、真空ポンプ。
【請求項4】
請求項1に記載の真空ポンプにおいて、
前記ロータは、前記葉部に前記軸線方向に貫通する葉部貫通穴が設けられているとともに、前記葉部貫通穴の開口を塞ぐロータキャップを有しており、前記葉部貫通穴の周壁面と前記ロータキャップの端面とで囲まれた前記葉部内部空洞を画定している、真空ポンプ。
【請求項5】
請求項1に記載の真空ポンプにおいて、
前記主動回転軸の下流側の端部を覆うエンドハウジングと、
前記エンドハウジングの温度を計測する計測部と、
前記回転軸流路または前記回転軸流路に接続される流路途中に設置され、内部を流れる前記冷媒の流量を変更可能な流量可変バルブと、
前記計測部および前記流量可変バルブと電気的に接続し、前記計測部の計測値に応じて前記流量可変バルブを流れる前記冷媒の流量を制御する制御部と、
を更に備える、真空ポンプ。
【請求項6】
請求項1に記載の真空ポンプにおいて、
前記主動回転軸の下流側の端部を覆うエンドハウジングと、
前記エンドハウジングの温度を計測する計測部と、
前記計測部および前記モータと電気的に接続し、前記計測部の計測値に応じてモータ電流またはモータ回転数を制御する制御部と、
を更に備える、真空ポンプ。
【請求項7】
メカニカルブースターポンプとして利用される請求項1~6のいずれか一項に記載の真空ポンプ。
【請求項8】
真空ポンプ、および、前記真空ポンプに冷媒を供給する冷媒供給装置を備える真空ポンプ冷却システムであって、
前記真空ポンプとして、請求項7に記載の真空ポンプが用いられ、
前記冷媒供給装置は、前記真空ポンプのパージ用の窒素ガスを供給可能な装置であるとともに、前記回転軸流路とロータ冷媒供給用配管を介して接続しており、前記真空ポンプの冷却構造で用いられる冷媒として、前記ロータ冷媒供給用配管を介して前記回転軸流路に窒素ガスを供給可能である、ことを特徴とする真空ポンプ冷却システム。
【請求項9】
請求項8に記載の真空ポンプ冷却システムであって、
前記真空ポンプの後段に前記回転軸流路とロータ冷媒排出用配管を介して接続している後段ポンプを更に備え、
前記後段ポンプには、パージ用窒素ガスとして、前記ロータ冷媒排出用配管を介して前記回転軸流路から排出された高温の窒素ガスを供給可能な、真空ポンプ冷却システム。
発明の詳細な説明
【技術分野】
【0001】
本発明は、真空ポンプおよび真空ポンプ冷却システムに関し、更に詳しくは、内部に配置されたロータの冷却構造を有する真空ポンプ、および、係る真空ポンプを冷却するための装置を含む真空ポンプ冷却システムに関する。
続きを表示(約 2,300 文字)
【背景技術】
【0002】
半導体製造現場等において、真空チャンバーを真空引きする際のメカニカルブースターポンプに、例えばルーツ型真空ポンプといった真空ポンプが多く用いられている。この真空ポンプは、ケース内の区画された繭玉形状のロータ室に配置された2つの例えばプロペラ形状のロータがギアを介して互いに反対方向に同期回転することで吸入した気体を圧送して排出する。メカニカルブースターポンプの運転に際しては、ガス負荷によりポンプの温度、特にロータの温度が上昇してしまうため、真空ポンプについては、さまざまなロータ周りの冷却構造が提案されている。
【0003】
例えば特許文献1では、ケース(シリンダ本体11)に貫通孔(11a)が形成されており、貫通孔(11a)に冷却管(51)を挿通し、冷却管(51)に冷媒を流すことで、ケース(シリンダ本体11)を内部から冷却することが可能な冷却構造を有する真空ポンプが開示されている。
【0004】
また、例えば特許文献2では、ロータ室(17~21)間を繋ぐ流体流路(38~41)がケース内部に形成されており、流体流路(38~41)に隣接して水冷ジャケット(42)が設けられて流体流路(38~41)を通過する圧縮流体を効率よく冷却することが可能な冷却構造を有する多段ルーツ式真空ポンプが開示されている。この多段ルーツ式真空ポンプは、更に最終段の内部空間(ロータ室21)に冷却気体導入通路(43)が設けられており、冷却気体導入通路(43)から最終段の内部空間(ロータ室21)に冷却用気体を導入することにより圧縮流体を直接冷却する冷却構造を有している。
【先行技術文献】
【特許文献】
【0005】
特開2014-055580号公報
特開2023-088357号公報
【発明の概要】
【発明が解決しようとする課題】
【0006】
ここで、特にメカニカルブースターポンプにおいては、ガス負荷によりポンプの温度、特にロータの温度が上昇してしまうと、ケースに対しロータの熱膨張が大きくなり、ケースとロータとのクリアランスが小さくなり、最悪、両者が接触してポンプが停止してしまうという虞がある。この虞を回避するために、高温時の熱膨張差を考慮して、両者のイニシャルのクリアランスを拡大させる対策もあるが、この対策は、ポンプ性能の低下を伴う。また、ポンプ外面に冷却プレートを設置してロータを冷却する対策もあるが、ケースの温度も低下するため、ケースとロータとの温度差が縮みにくい。また、特許文献1および特許文献2で開示されている冷却構造は、ケース内部を冷却できるものではあるが、この冷却構造でも、ポンプ外面に冷却プレートを設置する対策と同様、ロータがケースの冷却に伴い冷却されることになるため、ケースとロータとの温度差が縮みにくい。
【0007】
本発明の目的は、このような点に鑑みてなされたものであり、ケースとロータとのクリアランスをできるだけ小さく設定できるよう、ケースとロータとの温度差を縮めるための冷却構造を有する真空ポンプを提供することにある。また、係る真空ポンプを冷却するための装置を含む真空ポンプ冷却システムを提供することにある。
【課題を解決するための手段】
【0008】
上記課題を解決すべく、本発明に係る真空ポンプは、回転出力するモータ、モータの回転出力が伝達されて回転する主動回転軸、主動回転軸と平行に配置された従動回転軸、主動回転軸および従動回転軸のそれぞれと一体形状で形成されている、または主動回転軸および従動回転軸のそれぞれに連結されている少なくとも一対のロータ、一対のロータが配置される少なくとも一つのロータ室を区画するケース、並びに主動回転軸および従動回転軸に連結し従動回転軸を主動回転軸と反対方向に同期回転させるギア、を備える真空ポンプである。
この真空ポンプにおいては、
主動回転軸および従動回転軸は、両端部が外部から配管を接続できるよう、モータおよびギアよりも軸線方向における外側に突出しているとともに、周壁面に囲まれて軸線方向に延びるよう設けられた両端が開口する回転軸流路を有し、
各ロータは、中央に位置するロータ中央部と、ロータ中央部から径方向に張り出し、内壁面で囲まれた葉部内部空洞を画定している2葉または3葉の中空形状の葉部と、回転軸流路と葉部内部空洞との間を連通させるように形成された周壁面に囲まれたロータ流路とを有し、
回転軸流路の一端側から、回転軸流路、ロータ流路、および、葉部内部空洞に冷媒を流すことでケースを介さずにロータを内部から冷却可能とする冷却構造を有する、ことを特徴としている。
【0009】
また、この真空ポンプにおいては、冷媒として気体が用いられることが好ましい。特に、パージガスとして既に使用されている窒素が冷媒に用いられることが新たな設備が不要である点も含め更に好ましい。
【0010】
また、この真空ポンプにおいては、ロータの製作を容易にすべく、ロータは、葉部に軸線方向に貫通する葉部貫通穴が設けられているとともに、葉部貫通穴の開口を塞ぐロータキャップを有しており、葉部貫通穴の周壁面およびロータキャップの端面で囲まれた葉部内部空洞を画定している構造であってもよい。
(【0011】以降は省略されています)
この特許をJ-PlatPat(特許庁公式サイト)で参照する
関連特許
樫山工業株式会社
真空ポンプ
7日前
樫山工業株式会社
バルブおよび真空ポンプ
26日前
樫山工業株式会社
真空ポンプおよび真空ポンプ冷却システム
7日前
個人
海流製造装置。
28日前
株式会社スギノマシン
圧縮機
6日前
株式会社ツインバード
送風装置
26日前
株式会社ツインバード
送風装置
26日前
カヤバ株式会社
電動ポンプ
2か月前
ビッグボーン株式会社
送風装置
1か月前
株式会社不二越
蓄圧装置
2か月前
株式会社酉島製作所
ポンプ
3か月前
株式会社ノーリツ
ロータリ圧縮機
1か月前
サンデン株式会社
スクロール圧縮機
12日前
サンデン株式会社
スクロール圧縮機
12日前
樫山工業株式会社
真空ポンプ
7日前
株式会社ノーリツ
ロータリー圧縮機
3か月前
株式会社坂製作所
スクロール圧縮機
3か月前
株式会社不二越
ベーンポンプ
2か月前
サンデン株式会社
スクロール圧縮機
12日前
小倉クラッチ株式会社
ルーツブロア
2か月前
株式会社アイシン
ポンプケース
19日前
株式会社チロル
送風機、送風機付衣服
1か月前
株式会社島津製作所
真空ポンプ
1か月前
エドワーズ株式会社
真空ポンプ
20日前
株式会社島津製作所
真空ポンプ
26日前
株式会社豊田自動織機
流体機械
1か月前
株式会社豊田自動織機
電動圧縮機
1か月前
NTN株式会社
電動オイルポンプ
13日前
株式会社豊田自動織機
電動圧縮機
2か月前
株式会社ナノバブル研究所
気液駆動装置
20日前
株式会社豊田自動織機
電動圧縮機
2か月前
株式会社豊田自動織機
電動圧縮機
2か月前
株式会社豊田自動織機
電動圧縮機
1か月前
株式会社豊田自動織機
電動圧縮機
1か月前
株式会社豊田自動織機
電動圧縮機
3か月前
已久工業股ふん有限公司
空気圧縮機構造
2か月前
続きを見る
他の特許を見る