TOP
|
特許
|
意匠
|
商標
特許ウォッチ
Twitter
他の特許を見る
10個以上の画像は省略されています。
公開番号
2025137671
公報種別
公開特許公報(A)
公開日
2025-09-19
出願番号
2025121430,2024122273
出願日
2025-07-18,2012-09-18
発明の名称
半導体装置
出願人
株式会社半導体エネルギー研究所
代理人
主分類
H10D
86/40 20250101AFI20250911BHJP()
要約
【課題】微細化しても高いオン電流を得ることができるトランジスタを用いた、半導体装
置。
【解決手段】トランジスタが、絶縁表面上の一対の第1導電膜と、一対の第1導電膜上の
半導体膜と、一対の第1導電膜にそれぞれ接続されている一対の第2導電膜と、半導体膜
上の絶縁膜と、絶縁膜上において、半導体膜と重なる位置に設けられた第3導電膜とを有
する。また、半導体膜上における第3導電膜の端部と、一対の第2導電膜が設けられた領
域とは、離隔している。
【選択図】図1
特許請求の範囲
【請求項1】
第1のトランジスタと、第2のトランジスタと、容量素子と、を一の回路に有し、
前記第1のトランジスタのソース電極又はドレイン電極の一方は、前記第2のトランジスタのゲート電極と電気的に接続され、
前記第1のトランジスタのソース電極又はドレイン電極の一方は、前記容量素子の一方の電極と電気的に接続され、
前記容量素子の他方の電極には、信号が入力される半導体装置であって、
前記第2のトランジスタのチャネル形成領域との重なりを有する第1の導電膜と、
第2の導電膜と、
前記第1の導電膜の上層に配置され、前記第2の導電膜の上層に配置され、かつ、前記第1のトランジスタのチャネル形成領域を有する酸化物半導体膜と、
前記酸化物半導体膜の上層に配置され、前記第1の導電膜と電気的に接続され、かつ、前記第1のトランジスタのソース電極又はドレイン電極の一方としての機能を有する第3の導電膜と、
前記酸化物半導体膜の上層に配置され、前記第2の導電膜と電気的に接続され、かつ、前記第1のトランジスタのソース電極又はドレイン電極の他方としての機能を有する第4の導電膜と、
前記酸化物半導体膜の上層に配置され、前記第1のトランジスタのゲート電極としての機能を有する第5の導電膜と、を有し、
前記第3の導電膜は、前記容量素子の一方の電極としての機能を有し、
前記第3の導電膜は、前記酸化物半導体膜の上面と接する領域を有し、
前記第4の導電膜は、前記酸化物半導体膜の上面と接する領域を有し、
平面視において、前記第5の導電膜は、前記第3の導電膜及び前記第4の導電膜と離隔している、
半導体装置。
続きを表示(約 2,400 文字)
【請求項2】
第1のトランジスタと、第2のトランジスタと、容量素子と、を一の回路に有し、
前記第1のトランジスタのソース電極又はドレイン電極の一方は、前記第2のトランジスタのゲート電極と電気的に接続され、
前記第1のトランジスタのソース電極又はドレイン電極の一方は、前記容量素子の一方の電極と電気的に接続され、
前記容量素子の他方の電極には、信号が入力される半導体装置であって、
前記第2のトランジスタのチャネル形成領域との重なりを有する第1の導電膜と、
第2の導電膜と、
前記第1の導電膜の上層に配置され、前記第2の導電膜の上層に配置され、かつ、前記第1のトランジスタのチャネル形成領域を有する酸化物半導体膜と、
前記酸化物半導体膜の上層に配置され、前記第1の導電膜と接する領域を有し、かつ、前記第1のトランジスタのソース電極又はドレイン電極の一方としての機能を有する第3の導電膜と、
前記酸化物半導体膜の上層に配置され、前記第2の導電膜と接する領域を有し、かつ、前記第1のトランジスタのソース電極又はドレイン電極の他方としての機能を有する第4の導電膜と、
前記酸化物半導体膜の上層に配置され、前記第1のトランジスタのゲート電極としての機能を有する第5の導電膜と、を有し、
前記第3の導電膜は、前記容量素子の一方の電極としての機能を有し、
前記第3の導電膜は、前記酸化物半導体膜の上面と接する領域を有し、
前記第4の導電膜は、前記酸化物半導体膜の上面と接する領域を有し、
平面視において、前記第5の導電膜は、前記第3の導電膜及び前記第4の導電膜と離隔している、
半導体装置。
【請求項3】
第1のトランジスタと、第2のトランジスタと、容量素子と、を一の回路に有し、
前記第1のトランジスタのソース電極又はドレイン電極の一方は、前記第2のトランジスタのゲート電極と電気的に接続され、
前記第2のトランジスタのソース電極又はドレイン電極の一方には、第1の電位が与えられ、
前記第1のトランジスタのソース電極又はドレイン電極の一方は、前記容量素子の一方の電極と電気的に接続され、
前記容量素子の他方の電極には、信号が入力される半導体装置であって、
前記第2のトランジスタのチャネル形成領域との重なりを有する第1の導電膜と、
第2の導電膜と、
前記第1の導電膜の上層に配置され、前記第2の導電膜の上層に配置され、かつ、前記第1のトランジスタのチャネル形成領域を有する酸化物半導体膜と、
前記酸化物半導体膜の上層に配置され、前記第1の導電膜と電気的に接続され、かつ、前記第1のトランジスタのソース電極又はドレイン電極の一方としての機能を有する第3の導電膜と、
前記酸化物半導体膜の上層に配置され、前記第2の導電膜と電気的に接続され、かつ、前記第1のトランジスタのソース電極又はドレイン電極の他方としての機能を有する第4の導電膜と、
前記酸化物半導体膜の上層に配置され、前記第1のトランジスタのゲート電極としての機能を有する第5の導電膜と、を有し、
前記第3の導電膜は、前記容量素子の一方の電極としての機能を有し、
前記第3の導電膜は、前記酸化物半導体膜の上面と接する領域を有し、
前記第4の導電膜は、前記酸化物半導体膜の上面と接する領域を有し、
平面視において、前記第5の導電膜は、前記第3の導電膜及び前記第4の導電膜と離隔している、
半導体装置。
【請求項4】
第1のトランジスタと、第2のトランジスタと、容量素子と、を一の回路に有し、
前記第1のトランジスタのソース電極又はドレイン電極の一方は、前記第2のトランジスタのゲート電極と電気的に接続され、
前記第2のトランジスタのソース電極又はドレイン電極の一方には、第1の電位が与えられ、
前記第1のトランジスタのソース電極又はドレイン電極の一方は、前記容量素子の一方の電極と電気的に接続され、
前記容量素子の他方の電極には、信号が入力される半導体装置であって、
前記第2のトランジスタのチャネル形成領域との重なりを有する第1の導電膜と、
第2の導電膜と、
前記第1の導電膜の上層に配置され、前記第2の導電膜の上層に配置され、かつ、前記第1のトランジスタのチャネル形成領域を有する酸化物半導体膜と、
前記酸化物半導体膜の上層に配置され、前記第1の導電膜と接する領域を有し、かつ、前記第1のトランジスタのソース電極又はドレイン電極の一方としての機能を有する第3の導電膜と、
前記酸化物半導体膜の上層に配置され、前記第2の導電膜と接する領域を有し、かつ、前記第1のトランジスタのソース電極又はドレイン電極の他方としての機能を有する第4の導電膜と、
前記酸化物半導体膜の上層に配置され、前記第1のトランジスタのゲート電極としての機能を有する第5の導電膜と、を有し、
前記第3の導電膜は、前記容量素子の一方の電極としての機能を有し、
前記第3の導電膜は、前記酸化物半導体膜の上面と接する領域を有し、
前記第4の導電膜は、前記酸化物半導体膜の上面と接する領域を有し、
平面視において、前記第5の導電膜は、前記第3の導電膜及び前記第4の導電膜と離隔している、
半導体装置。
【請求項5】
請求項1乃至請求項4のいずれか一において、
前記酸化物半導体膜は、酸化インジウムを含む、
半導体装置。
発明の詳細な説明
【技術分野】
【0001】
本発明は、絶縁ゲート型電界効果トランジスタを用いた半導体装置に関する。
続きを表示(約 2,400 文字)
【背景技術】
【0002】
近年、ポリシリコンや微結晶シリコンによって得られる高い移動度と、アモルファスシリ
コンによって得られる均一な素子特性とを兼ね備えた新たな半導体材料として、酸化物半
導体と呼ばれる、半導体特性を示す金属酸化物に注目が集まっている。金属酸化物は様々
な用途に用いられており、例えば、よく知られた金属酸化物である酸化インジウムは、液
晶表示装置などで透明電極材料として用いられている。半導体特性を示す金属酸化物とし
ては、例えば、酸化タングステン、酸化錫、酸化インジウム、酸化亜鉛などがあり、この
ような半導体特性を示す金属酸化物をチャネル形成領域に用いるトランジスタが、既に知
られている(特許文献1及び特許文献2)。
【先行技術文献】
【特許文献】
【0003】
特開2007-123861号公報
特開2007-96055号公報
【発明の概要】
【発明が解決しようとする課題】
【0004】
ところで、シリコンを用いたトランジスタでは、半導体膜への微量の不純物の添加による
価電子制御が行われている。しかし、酸化物半導体を用いたトランジスタでは、シリコン
を用いたトランジスタとは異なり、不純物の添加による価電子制御の技術が確立されてい
ない。よって、酸化物半導体を用いたトランジスタは、ソース電極またはドレイン電極と
して機能する導電膜を、半導体膜のチャネル形成領域に直接接続させる構成を採る場合が
多い。そのため、酸化物半導体を用いたトランジスタでは、半導体膜とソース電極または
ドレイン電極の間における接触抵抗が大きく、それによりオン電流の向上が妨げられてい
る。
【0005】
また、シリコンを用いたトランジスタでは、ゲート電極やレジストをマスクとして用い、
半導体膜に不純物を添加することで、ソース領域及びドレイン領域を形成する。よって、
ゲート電極やレジストのサイズを調整することで、チャネル長を制御することができる。
一方、酸化物半導体を用いたトランジスタでは、チャネル長の制御は、ソース電極とドレ
イン電極の間隔を調整することにより行う。そのため、トランジスタを微細化するには、
ソース電極とドレイン電極の間隔を短くする必要があり、ゲート電極のサイズによっては
、ゲート電極とソース電極またはドレイン電極とが部分的に重なりうる。
【0006】
ゲート電極が半導体膜の上に位置するトップゲート型のトランジスタの場合、ソース電極
及びドレイン電極は半導体膜の下に設けることが望ましい。しかし、ソース電極及びドレ
イン電極の端部における、半導体膜の被覆性(ステップカバレッジ)を確保するためには
、ソース電極及びドレイン電極の膜厚を小さくすることが必要であるが、膜厚を小さくす
るとソース電極及びドレイン電極の抵抗が高まる。そのため、ステップカバレッジの確保
に努めると、トランジスタのオン電流を高めることが難しい。
【0007】
上述したような技術的背景のもと、本発明は、トランジスタのオン電流を高めることがで
きる半導体装置の提供を、課題の一つとする。
【課題を解決するための手段】
【0008】
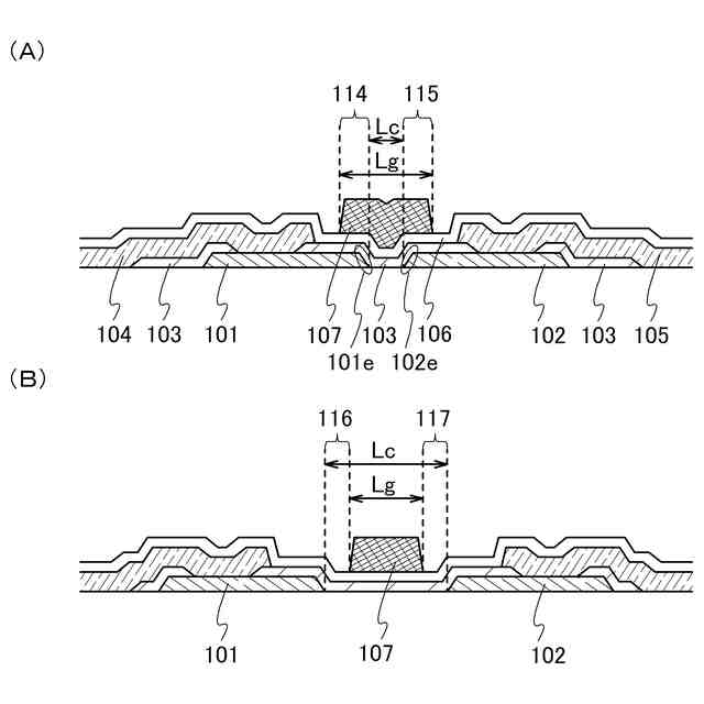
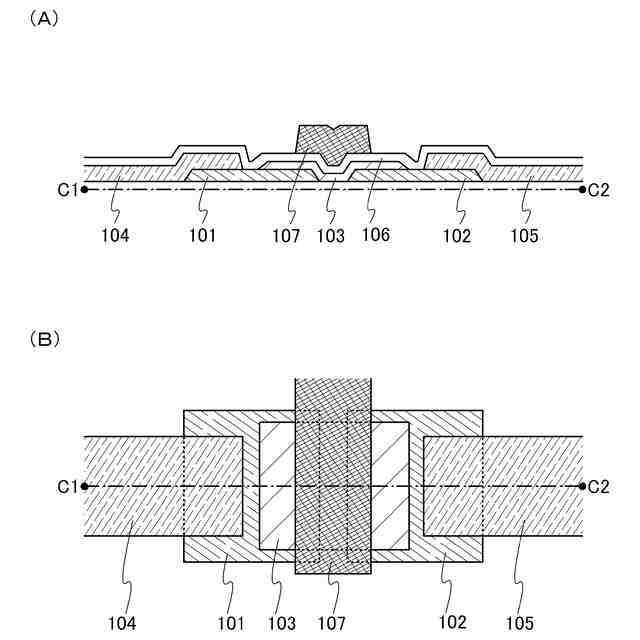
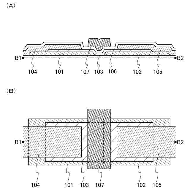
本発明の一態様に係る半導体装置では、トランジスタが、絶縁表面上の一対の第1導電膜
と、一対の第1導電膜上の半導体膜と、一対の第1導電膜にそれぞれ接続されている一対
の第2導電膜と、半導体膜上の絶縁膜と、絶縁膜上において、半導体膜と重なる位置に設
けられた第3導電膜とを有する。一対の第1導電膜及び一対の第2導電膜はソース電極ま
たはドレイン電極として機能させることができ、第3導電膜はゲート電極として機能させ
ることができる。
【0009】
本発明の一態様では、半導体膜内でキャリアが移動する方向、すなわちチャネル長方向に
おけるソース電極とドレイン電極の間隔を、一対の第1導電膜の間隔により定めることが
できる。そのため、一対の第2導電膜の間隔が、一対の第1導電膜の間隔よりも長くなる
ように、一対の第2導電膜の配置を定めることができる。よって、本発明の一態様では、
トランジスタの微細化によりソース電極とドレイン電極の間隔を短くする必要が生じた場
合、一対の第1導電膜の間隔を短くすれば良く、一対の第2導電膜と第3導電膜とを、半
導体膜上において重ならないように、一対の第2導電膜の間隔を長くすることができる。
具体的には、半導体膜上における第3導電膜を挟むように、かつ離間して、一対の第2導
電膜を設けることができる。したがって、トランジスタを微細化しても、第3導電膜から
半導体膜に与えられる電界が、一対の第2導電膜により妨げられにくいため、高いオン電
流を得ることができる。
【0010】
また、本発明の一態様では、半導体膜の下に一対の第1導電膜が存在し、半導体膜の上に
第3導電膜が存在する。そのため、トランジスタの微細化により、一対の第1導電膜の間
隔が短くなることで、ゲート電極として機能する第3導電膜と一対の第1導電膜とが重な
っても、第3導電膜から半導体膜に与えられる電界は、一対の第1導電膜により妨げられ
にくい。よって、トランジスタを微細化しても、高いオン電流を得ることができる。
(【0011】以降は省略されています)
この特許をJ-PlatPat(特許庁公式サイト)で参照する
関連特許
エイブリック株式会社
半導体装置
1か月前
エイブリック株式会社
半導体装置
今日
富士電機株式会社
半導体装置
1か月前
富士電機株式会社
半導体装置
3日前
富士電機株式会社
半導体装置
21日前
富士電機株式会社
半導体装置
1か月前
富士電機株式会社
半導体装置
1か月前
富士電機株式会社
半導体装置
1か月前
三菱電機株式会社
半導体装置
1か月前
AGC株式会社
太陽電池モジュール
6日前
三菱電機株式会社
半導体装置
1か月前
国立大学法人 和歌山大学
光検出器
1か月前
キヤノン株式会社
有機発光素子
13日前
株式会社半導体エネルギー研究所
半導体装置
1か月前
株式会社半導体エネルギー研究所
半導体装置
1か月前
株式会社半導体エネルギー研究所
半導体装置
22日前
ミツミ電機株式会社
半導体装置
今日
ミツミ電機株式会社
センサ装置
1か月前
日亜化学工業株式会社
発光装置
21日前
日亜化学工業株式会社
発光素子
1日前
株式会社半導体エネルギー研究所
発光デバイス
1か月前
ローム株式会社
窒化物半導体装置
27日前
ローム株式会社
半導体装置
1日前
ローム株式会社
TVSダイオード
1日前
ローム株式会社
TVSダイオード
1日前
株式会社東芝
熱電変換装置
1日前
ローム株式会社
窒化物半導体装置
1か月前
ローム株式会社
窒化物半導体装置
21日前
TDK株式会社
光検知装置
今日
住友電気工業株式会社
半導体装置
13日前
住友電気工業株式会社
半導体装置
13日前
株式会社カネカ
太陽電池モジュール
1日前
日亜化学工業株式会社
発光素子
24日前
三菱電機株式会社
半導体装置
7日前
個人
半導体装置
23日前
株式会社カネカ
太陽光発電システム
22日前
続きを見る
他の特許を見る