TOP
|
特許
|
意匠
|
商標
特許ウォッチ
Twitter
他の特許を見る
10個以上の画像は省略されています。
公開番号
2025137691
公報種別
公開特許公報(A)
公開日
2025-09-19
出願番号
2025122236,2021126145
出願日
2025-07-22,2021-07-30
発明の名称
ラベル貼付装置
出願人
ブラザー工業株式会社
代理人
主分類
B65C
9/18 20060101AFI20250911BHJP(運搬;包装;貯蔵;薄板状または線条材料の取扱い)
要約
【課題】ユーザがラベルに被着体を適切に押し当ててラベルを被着体に貼付することができるラベル貼付装置を提供する。
【解決手段】ラベル巻付装置は、ラベル、及び、ラベルの一方の面である粘着面に貼付された剥離材を有するテープの何れかの部分に印刷を行う印刷部と、テープの搬送方向の下流側に配置され、印刷部により印刷がされたラベル10Aを、剥離材から剥離する剥離部と、剥離部により剥離材から全部が剥離されたラベルを支持する支持部32と、剥離部に対して、ラベル10Aの搬送方向Y2の下流側に配置され、支持部32により支持されたラベル10Aをケーブルに貼付する貼付部と、印刷部、剥離部、及び貼付部を収容し、所定の設置面にて設置される筐体とを備える。支持部32は、ラベル10Aのうち、粘着面Urと反対側の面である反対面Usを、設置面側から支持する。
【選択図】図23
特許請求の範囲
【請求項1】
ラベル、及び、前記ラベルの一方の面である粘着面に貼付された剥離材を有するテープの何れかの部分に印刷を行う印刷部と、
前記テープの搬送方向の下流側に配置され、前記印刷部により印刷がされた前記ラベルを、前記剥離材から剥離する剥離部と、
前記剥離部により前記剥離材から全部が剥離された前記ラベルを支持する支持部と、
前記剥離部に対して、前記ラベルの搬送方向の下流側に配置され、前記支持部により支持された前記ラベルを被着体に貼付する貼付部と、
前記印刷部、前記剥離部、及び前記貼付部を収容し、所定の設置面にて設置される筐体と、
を備え、
前記支持部は、
前記ラベルのうち、前記粘着面と反対側の面である反対面を、前記設置面側から支持することを特徴とするラベル貼付装置。
続きを表示(約 1,000 文字)
【請求項2】
前記支持部により支持された前記ラベルに対し、前記貼付部と反対側に設けられ、前記支持部により支持された前記ラベルの前記粘着面に向けて前記被着体を案内する案内部材を備えたことを特徴とする請求項1に記載のラベル貼付装置。
【請求項3】
前記案内部材による前記被着体の案内方向の延長線上に、前記設置面が配置されることを特徴とする請求項2に記載のラベル貼付装置。
【請求項4】
前記案内部材は、前記ラベルの搬送方向と平行な方向の力を前記被着体に付与することで、前記被着体を案内することを特徴とする請求項2又は3に記載のラベル貼付装置。
【請求項5】
前記支持部は、前記設置面に対して前記ラベルが平行となる状態で、前記ラベルを支持することを特徴とする請求項1から4の何れかに記載のラベル貼付装置。
【請求項6】
前記支持部により支持される前記ラベルの前記粘着面を覆う位置と覆わない位置とに可動可能な開閉部を備えたことを特徴とする請求項1から5の何れかに記載のラベル貼付装置。
【請求項7】
前記貼付部は、
前記支持部に支持された前記ラベル、及び前記被着体が進入し、前記ラベルが貼付される貼付位置にて前記被着体を保持する挿入部を有し、
前記ラベルは、前記支持部により支持された状態で前記挿入部の開口部を全て覆うことを特徴とする請求項1から6の何れかに記載のラベル貼付装置。
【請求項8】
前記剥離部により前記ラベルから剥離された前記剥離材の搬送経路は、前記剥離部により前記剥離材から剥離された前記ラベルの搬送経路に対し、前記設置面と反対側に位置することを特徴とする請求項1から7の何れかに記載のラベル貼付装置。
【請求項9】
前記剥離部により前記剥離材が剥離された前記ラベルを搬送する第2搬送部を備え、
前記第2搬送部は、
前記ラベルの前記反対面側に接触して前記ラベルを搬送する第2ローラを備え、
前記ラベルの前記粘着面に接触し、前記第2ローラとの間で前記ラベルを挟持する第2拍車を更に備えたことを特徴とする請求項1から8の何れかに記載のラベル貼付装置。
【請求項10】
前記筐体のうち、前記ラベルの搬送方向の下流側の端部、又は、前記筐体のうち前記設置面と反対側の端部に、操作部を備えたことを特徴とする請求項1から9の何れかに記載のラベル貼付装置。
(【請求項11】以降は省略されています)
発明の詳細な説明
【技術分野】
【0001】
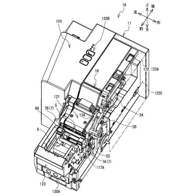
本発明は、被着体にラベルを貼付するラベル貼付装置に関する。
続きを表示(約 1,500 文字)
【背景技術】
【0002】
被着体にラベルを貼付するための装置が知られている。特許文献1はラベル印刷装置を開示する。ラベル印刷装置は、包装物の内容物に合わせた表示事項をラベル紙に印刷し、その後、印刷済みのラベル紙を、剥離ローラにより台紙から剥がす。ラベル印刷装置は、台紙から剥がされた印刷済みのラベル紙を、印刷領域に合わせて切断する。ラベル印刷装置は、切断された印刷済みのラベル紙を、案内ベルトによりコンベアに向けて搬送する。
ラベル印刷装置は、案内ベルトにより搬送された印刷済みのラベル紙を、コンベアにより搬送される包装物に対して貼付する。
【先行技術文献】
【特許文献】
【0003】
特開2020-63087号公報
【発明の概要】
【発明が解決しようとする課題】
【0004】
コンベア等で搬送される被着体に装置がラベルを貼付するのに代えて、ユーザが自身で被着体をラベルに押し当ててラベルを被着体に貼付する構成とする場合がある。この場合、ラベルの粘着面がユーザから見え難いと、ユーザはラベルに被着体を押し当てる操作を適切に行うことができない場合があるという問題点がある。
【0005】
本発明の目的は、ユーザがラベルに被着体を適切に押し当ててラベルを被着体に貼付することができるラベル貼付装置を提供することである。
【課題を解決するための手段】
【0006】
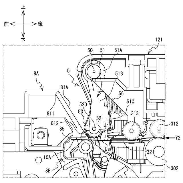
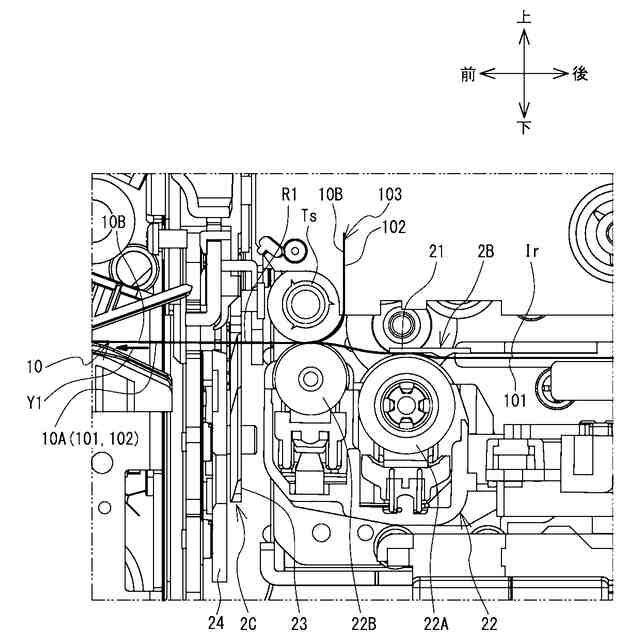
本発明に係るラベル貼付装置は、ラベル、及び、前記ラベルの一方の面である粘着面に貼付された剥離材を有するテープの何れかの部分に印刷を行う印刷部と、前記テープの搬送方向の下流側に配置され、前記印刷部により印刷がされた前記ラベルを、前記剥離材から剥離する剥離部と、前記剥離部により前記剥離材から全部が剥離された前記ラベルを支持する支持部と、前記剥離部に対して、前記ラベルの搬送方向の下流側に配置され、前記支持部により支持された前記ラベルを被着体に貼付する貼付部と、前記印刷部、前記剥離部、及び前記貼付部を収容し、所定の設置面にて設置される筐体と、を備え、前記支持部は、前記ラベルのうち、前記粘着面と反対側の面である反対面を、前記設置面側から支持することを特徴とする。
【0007】
ラベル貼付装置では、ラベルの反対面が設置面側から支持される。このとき、ラベルの粘着面側は、設置面側と反対側を向く。従って、ユーザはラベルの粘着面を視認し、ユーザがラベルに被着体を適切に押し当ててラベルを被着体に貼付することが可能となる。
【0008】
本発明において、前記支持部により支持された前記ラベルに対し、前記貼付部と反対側に設けられ、前記支持部により支持された前記ラベルの前記粘着面に向けて前記被着体を案内する案内部材を備えてもよい。ユーザは、案内部材を用いて被着体をラベルの粘着面に向けて案内することで、被着体をラベルに適切に押し当てることができる。
【0009】
本発明において、前記案内部材による前記被着体の案内方向の延長線上に、前記設置面が配置されてもよい。ラベル貼付装置は、案内部材による被着体の案内時において作用する力を、設置面にて受けることができる。従って、案内部材による被着体の案内時においてラベル貼付装置の状態を安定化できる。
【0010】
本発明において前記案内部材は、前記ラベルの搬送方向と平行な方向の力を前記被着体に付与することで、前記被着体を案内してもよい。ラベル貼付装置は、案内部材により案内される被着体をラベルに適切に接触させ、被着体にラベルを貼付できる。
(【0011】以降は省略されています)
この特許をJ-PlatPat(特許庁公式サイト)で参照する
関連特許
ブラザー工業株式会社
空調機
16日前
ブラザー工業株式会社
空調機
16日前
ブラザー工業株式会社
空調機
16日前
ブラザー工業株式会社
空調機
16日前
ブラザー工業株式会社
空調機
16日前
ブラザー工業株式会社
カセット
16日前
ブラザー工業株式会社
搬送装置
4日前
ブラザー工業株式会社
制御装置
6日前
ブラザー工業株式会社
画像形成装置
16日前
ブラザー工業株式会社
画像形成装置
16日前
ブラザー工業株式会社
画像形成装置
16日前
ブラザー工業株式会社
液体吐出装置
10日前
ブラザー工業株式会社
液体吐出装置
10日前
ブラザー工業株式会社
画像形成装置
10日前
ブラザー工業株式会社
画像形成装置
6日前
ブラザー工業株式会社
画像形成装置
2日前
ブラザー工業株式会社
画像形成装置
2日前
ブラザー工業株式会社
画像形成装置
2日前
ブラザー工業株式会社
画像形成装置
2日前
ブラザー工業株式会社
画像形成装置
3日前
ブラザー工業株式会社
液体吐出ヘッド
2日前
ブラザー工業株式会社
液体吐出ヘッド
6日前
ブラザー工業株式会社
サポートプログラム
9日前
ブラザー工業株式会社
システム及び管理装置
4日前
ブラザー工業株式会社
システム及びプログラム
4日前
ブラザー工業株式会社
システム及びプログラム
4日前
ブラザー工業株式会社
システムおよび画像形成装置
10日前
ブラザー工業株式会社
システムおよび画像形成装置
10日前
ブラザー工業株式会社
プログラム及び情報処理装置
6日前
ブラザー工業株式会社
システムおよび画像形成装置
10日前
ブラザー工業株式会社
システムおよび画像形成装置
10日前
ブラザー工業株式会社
システムおよび画像形成装置
10日前
ブラザー工業株式会社
プリンタ、及び切断ユニット
6日前
ブラザー工業株式会社
仮想プリンタ管理プログラム
2日前
ブラザー工業株式会社
カシメ装置及び缶製品作製装置
10日前
ブラザー工業株式会社
プログラムおよび情報処理装置
6日前
続きを見る
他の特許を見る