TOP
|
特許
|
意匠
|
商標
特許ウォッチ
Twitter
他の特許を見る
公開番号
2025138079
公報種別
公開特許公報(A)
公開日
2025-09-25
出願番号
2024036864
出願日
2024-03-11
発明の名称
ヒータの製造方法及びガスセンサの製造方法
出願人
日本特殊陶業株式会社
代理人
弁理士法人グランダム特許事務所
主分類
G01N
27/12 20060101AFI20250917BHJP(測定;試験)
要約
【課題】発熱部を精度良く形成できるヒータの製造方法及びガスセンサの製造方法を提供する。
【解決手段】ヒータ10の製造方法は、第1半導体層21、第1絶縁層22、第2半導体層23の順に積層された基材20のうちの第2半導体層23の一部に不純物をドープすることで発熱部30を形成する工程と、基材20における第2半導体層23側の表面上に第2絶縁層40を形成する工程と、第1半導体層21の一部を第1絶縁層22が露出するまでエッチングする工程と、露出した第1絶縁層22の一部を、第2半導体層23における発熱部30に隣接する隣接部31が露出するまでエッチングする工程と、露出した隣接部31をエッチングする工程と、を含む。
【選択図】図4
特許請求の範囲
【請求項1】
第1半導体層、第1絶縁層、第2半導体層の順に積層された基材のうちの前記第2半導体層の一部に不純物をドープすることで発熱部を形成する工程と、
前記基材における前記第2半導体層側の表面上に第2絶縁層を形成する工程と、
前記第1半導体層の一部を前記第1絶縁層が露出するまでエッチングする工程と、
露出した前記第1絶縁層の一部を、前記第2半導体層における前記発熱部に隣接する隣接部が露出するまでエッチングする工程と、
露出した前記隣接部をエッチングする工程と、
を含む、ヒータの製造方法。
続きを表示(約 610 文字)
【請求項2】
前記発熱部を形成する工程では、シリコン層である前記第2半導体層の一部にホウ素(B)をドープすることで前記発熱部を形成する、
請求項1に記載のヒータの製造方法。
【請求項3】
前記第2絶縁層を形成する工程では、前記第2半導体層に対して酸化シリコン層、窒化シリコン層の順に積層する、
請求項1又は請求項2に記載のヒータの製造方法。
【請求項4】
請求項1又は請求項2に記載のヒータの製造方法を用いて製造されたヒータと、
互いに離隔して配される一対の電極と、
前記ヒータによる加熱対象であって、一対の前記電極と電気的に接続され、測定ガスの濃度に応じて電気的特性が変化する感応膜と、を備えるガスセンサの製造方法であって、
請求項1又は請求項2に記載のヒータの製造方法を用いて前記ヒータを製造する工程と、
前記第2絶縁層における前記発熱部とは反対側の表面に一対の前記電極を形成する工程と、
一対の前記電極と電気的に接続する前記感応膜を形成する工程と、
を含む、ガスセンサの製造方法。
【請求項5】
シリコン層である前記第1半導体層を酸化して酸化シリコン層である前記第1絶縁層を形成した後、前記第2半導体層を形成し、前記基材を形成する工程を含む、
請求項1又は請求項2に記載のヒータの製造方法。
発明の詳細な説明
【技術分野】
【0001】
本発明は、ヒータの製造方法及びガスセンサの製造方法に関する。
続きを表示(約 1,800 文字)
【背景技術】
【0002】
特許文献1に開示されるマイクロヒータの製造方法では、まず、シリコン基板にホウ素を高濃度に熱拡散させ、高濃度ホウ素添加単結晶シリコン層である発熱体を形成する。その後、発熱体を含む上面全体にSiO
2
の膜を形成する。その後、シリコン基板を裏面からエッチングして穴を形成し、穴の上にSiO
2
の架橋と発熱体が残るようにする。
【先行技術文献】
【特許文献】
【0003】
特開平6-84604号公報
【発明の概要】
【発明が解決しようとする課題】
【0004】
特許文献1のマイクロヒータの製造方法では、シリコン基板の裏面に穴を形成する際、発熱体が露出するまで一気にシリコン基板をエッチングしている。そのため、オーバーエッチング等により、発熱体の厚み面内ばらつきが大きくなるおそれがある。
【0005】
本開示は、発熱部を精度良く形成できるヒータの製造方法及びガスセンサの製造方法を提供する。
【課題を解決するための手段】
【0006】
本開示のヒータの製造方法は、
第1半導体層、第1絶縁層、第2半導体層の順に積層された基材のうちの前記第2半導体層の一部に不純物をドープすることで発熱部を形成する工程と、
前記基材における前記第2半導体層側の表面上に第2絶縁層を形成する工程と、
前記第1半導体層の一部を前記第1絶縁層が露出するまでエッチングする工程と、
露出した前記第1絶縁層の一部を、前記第2半導体層における前記発熱部に隣接する隣接部が露出するまでエッチングする工程と、
露出した前記隣接部をエッチングする工程と、
を含む。
【発明の効果】
【0007】
本開示に係る技術は、発熱部を精度良く形成できる。
【図面の簡単な説明】
【0008】
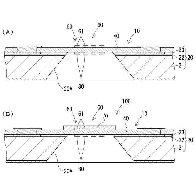
図1は、第1実施形態のヒータを概略的に示す側断面図である。
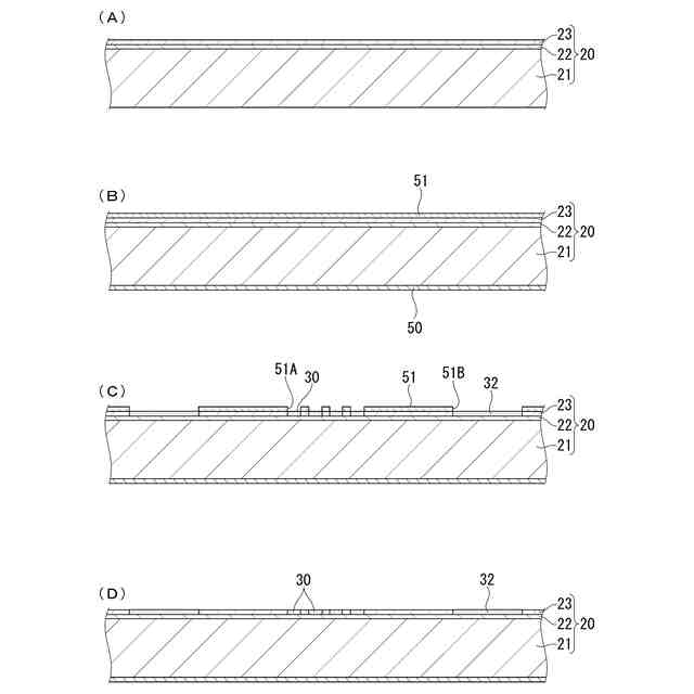
図2は、図1のヒータの製造工程を説明する工程図である。
図3は、図2に続くヒータの製造工程を説明する工程図である。
図4は、図3に続くヒータの製造工程を説明する工程図である。
図5は、第1実施形態のガスセンサを概略的に示す側断面図である。
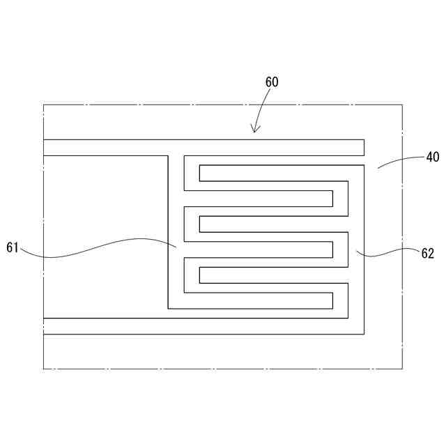
図6は、第2絶縁層上に形成された第1電極及び第2電極を概略的に示す平面図である。
図7は、図5のガスセンサの製造工程を説明する工程図である。
図8は、第2実施形態のマイクロリアクターを概略的に示す側断面図である。
【発明を実施するための形態】
【0009】
以下では、本開示の実施形態が列記されて例示される。
〔1〕第1半導体層、第1絶縁層、第2半導体層の順に積層された基材のうちの前記第2半導体層の一部に不純物をドープすることで発熱部を形成する工程と、
前記基材における前記第2半導体層側の表面上に第2絶縁層を形成する工程と、
前記第1半導体層の一部を前記第1絶縁層が露出するまでエッチングする工程と、
露出した前記第1絶縁層の一部を、前記第2半導体層における前記発熱部に隣接する隣接部が露出するまでエッチングする工程と、
露出した前記隣接部をエッチングする工程と、
を含む、ヒータの製造方法。
【0010】
この構成によれば、基材における第1半導体層側(発熱部とは反対側)からエッチングを行うため、発熱部の表面側(第2絶縁層側)に凹凸が生じ難くなる。その上で、第1半導体層の一部を第1絶縁層が露出するまでエッチングする工程、露出した第1絶縁層の一部を第2半導体層における発熱部に隣接する隣接部が露出するまでエッチングする工程、露出した隣接部をエッチングする工程によって、段階的に基材における発熱部の裏面側(第1半導体層側)をエッチングできる。そのため、1回のエッチングで基材から発熱部を露出させる場合に比べて、隣接部をエッチングする際のエッチング時間を短くでき、発熱部の裏面側(第1半導体層側)の高さ(厚さ)のばらつきを抑制できる。したがって、このヒータの製造方法では、発熱部を精度良く形成できる。
(【0011】以降は省略されています)
この特許をJ-PlatPat(特許庁公式サイト)で参照する
関連特許
個人
計量スプーン
23日前
個人
微小振動検出装置
1か月前
株式会社イシダ
X線検査装置
1か月前
日本精機株式会社
位置検出装置
1日前
日本精機株式会社
位置検出装置
1日前
日本精機株式会社
位置検出装置
1日前
大和製衡株式会社
組合せ秤
6日前
大和製衡株式会社
組合せ秤
6日前
アズビル株式会社
圧力センサ
今日
株式会社東芝
センサ
1か月前
アンリツ株式会社
分光器
29日前
株式会社東芝
センサ
6日前
アンリツ株式会社
分光器
29日前
トヨタ自動車株式会社
表示装置
15日前
株式会社ユーシン
操作検出装置
3日前
ダイハツ工業株式会社
測定用具
27日前
トヨタ自動車株式会社
検査装置
3日前
エイブリック株式会社
磁気センサ回路
今日
株式会社東芝
センサ
6日前
TDK株式会社
磁気センサ
23日前
株式会社ナリス化粧品
角層細胞採取用具
13日前
株式会社精工技研
光電圧プローブ
1か月前
TDK株式会社
ガスセンサ
1か月前
個人
粘塑性を用いた有限要素法の定式化
15日前
TDK株式会社
磁気センサ
1か月前
株式会社カワタ
サンプリング装置
1か月前
TDK株式会社
ガスセンサ
今日
東レエンジニアリング株式会社
計量装置
3日前
株式会社ヨコオ
コンタクタ
27日前
富士電機株式会社
エンコーダ
今日
富士電機株式会社
半導体パッケージ
23日前
大同特殊鋼株式会社
超音波探傷方法
23日前
株式会社関電工
検相器用治具
21日前
中国電力株式会社
異常箇所検出装置
14日前
三菱マテリアル株式会社
温度センサ
13日前
三菱マテリアル株式会社
温度センサ
13日前
続きを見る
他の特許を見る