TOP
|
特許
|
意匠
|
商標
特許ウォッチ
Twitter
他の特許を見る
公開番号
2025138256
公報種別
公開特許公報(A)
公開日
2025-09-25
出願番号
2024037243
出願日
2024-03-11
発明の名称
制御装置、制御方法、およびプログラム
出願人
本田技研工業株式会社
代理人
個人
,
個人
,
個人
主分類
G08G
1/0968 20060101AFI20250917BHJP(信号)
要約
【課題】移動体の乗員(例えばドライバ)にとっての利便性を向上させること。
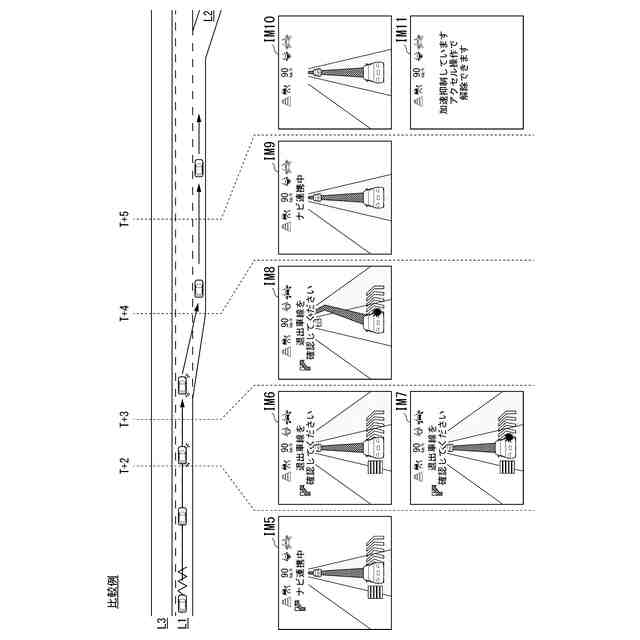
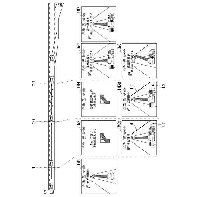
【解決手段】制御装置は、移動体の周辺の状況を認識する認識部と、前記認識部により認識された前記周辺の状況に含まれる車線を表示部に表示させ、前記移動体の目標経路が、前記移動体が走行する第1車線に隣接する車線側である場合に、前記隣接する車線のオブジェクトの画像に前記車線側への移動体の移動を表す移動表示のオブジェクトの画像を重ねた画像を前記表示部に表示させる制御部と、を備え、前記隣接する車線が、前記移動体が走行している位置よりも前記移動体の進行方向の前方で前記第1車線に接続して増加する第2車線である場合に、前記制御部は、前記移動表示のオブジェクトの画像を前記表示部にさせるときに前記認識部が前記第2車線を認識していない場合であっても、前記第2車線のオブジェクトの画像を前記表示部に表示させる。
【選択図】図1
特許請求の範囲
【請求項1】
移動体の周辺の状況を認識する認識部と、
前記認識部により認識された前記周辺の状況に含まれる車線を表示部に表示させ、
前記移動体の目標経路が、前記移動体が走行する第1車線に隣接する車線側である場合に、前記隣接する車線のオブジェクトの画像に前記車線側への移動体の移動を表す移動表示のオブジェクトの画像を重ねた画像を前記表示部に表示させる制御部と、を備え、
前記隣接する車線が、前記移動体が走行している位置よりも前記移動体の進行方向の前方で前記第1車線に接続して増加する第2車線である場合に、
前記制御部は、前記移動表示のオブジェクトの画像を前記表示部にさせるときに前記認識部が前記第2車線を認識していない場合であっても、前記第2車線のオブジェクトの画像を前記表示部に表示させる、
制御装置。
続きを表示(約 1,800 文字)
【請求項2】
前記制御部は、道路情報に基づいて、前記第2車線が前記移動体の進行方向に存在することを特定して前記第2車線のオブジェクトの画像を前記表示部に表示させる、
請求項1に記載の制御装置。
【請求項3】
前記制御部は、前記第2車線のオブジェクトの画像と前記移動表示のオブジェクトの画像とを同時に前記表示部に表示させる、
請求項1に記載の制御装置。
【請求項4】
前記制御部は、前記第2車線のオブジェクトの画像を前記表示部に表示させた後に前記移動表示のオブジェクトの画像を前記表示部に表示させる、
請求項1に記載の制御装置。
【請求項5】
前記移動体を前記第2車線に自動で車線変更させる自動車線変更制御を実行する自動車線変更制御部を、更に備え、
前記制御部は、前記自動車線変更制御が実行されている場合に前記第2車線のオブジェクトの画像と前記移動表示のオブジェクトの画像とを重畳して前記表示部に表示させる、
請求項1に記載の制御装置。
【請求項6】
前記制御部は、
前記移動体が前記第2車線の始点から所定距離手前に存在することにより前記認識部が前記第2車線を認識することができない場合であっても、前記移動体が前記第2車線に車線変更する予定であり、且つ前記移動体の乗員に前記第2車線への車線変更を通知する場合に、前記移動体のオブジェクトの第1画像と、前記第2車線のオブジェクトの第2画像と、前記第1画像と前記第2画像とに対応付けた前記移動表示のオブジェクトの第3画像とを含む画像を、前記表示部に表示させる、
請求項1に記載の制御装置。
【請求項7】
前記制御部は、
前記認識部が認識した車線のオブジェクトの画像を表示部に表示させ、
前記移動体を自動で車線変更させる自動車線変制御部に自動で車線変更させる指示を前記移動体の乗員が行っている場合において、
前記第2車線から第1距離の位置に到達したときに、前記認識部が認識した車線に前記第2車線が含まれない場合であっても、
ナビゲーション装置から取得した前記第2車線が存在することを示す情報に基づいて、
前記第2車線のオブジェクトの画像を表示部に表示させた後に前記移動体が前記第2車線に移動することを示す移動表示のオブジェクトの画像を前記表示部に表示させる、または
前記第2車線のオブジェクトの画像を表示させるタイミングで前記移動表示のオブジェクトの画像を前記表示部に表示させる、
請求項6に記載の制御装置。
【請求項8】
コンピュータが、
移動体の周辺の状況を認識する処理と、
前記周辺の状況に含まれる車線を表示部に表示させる処理と、
前記移動体の目標経路が、前記移動体が走行する第1車線に隣接する車線側である場合に、前記隣接する車線のオブジェクトの画像に前記車線側への移動体の移動を表す移動表示のオブジェクトの画像を重ねた画像を前記表示部に表示させる処理と、
前記隣接する車線が、前記移動体が走行している位置よりも前記移動体の進行方向の前方で前記第1車線に接続して増加する第2車線である場合に、
前記移動表示のオブジェクトの画像を前記表示部にさせるときに前記認識する処理で前記第2車線を認識していない場合であっても、前記第2車線のオブジェクトの画像を前記表示部に表示させる処理と、
を実行する制御方法。
【請求項9】
コンピュータに、
移動体の周辺の状況を認識する処理と、
前記周辺の状況に含まれる車線を表示部に表示させる処理と、
前記移動体の目標経路が、前記移動体が走行する第1車線に隣接する車線側である場合に、前記隣接する車線のオブジェクトの画像に前記車線側への移動体の移動を表す移動表示のオブジェクトの画像を重ねた画像を前記表示部に表示させる処理と、
前記隣接する車線が、前記移動体が走行している位置よりも前記移動体の進行方向の前方で前記第1車線に接続して増加する第2車線である場合に、
前記移動表示のオブジェクトの画像を前記表示部にさせるときに前記認識する処理で前記第2車線を認識していない場合であっても、前記第2車線のオブジェクトの画像を前記表示部に表示させる処理と、
を実行させるためのプログラム。
発明の詳細な説明
【技術分野】
【0001】
本発明は、制御装置、制御方法、およびプログラムに関する。
続きを表示(約 1,600 文字)
【背景技術】
【0002】
近年、種々の状況に配慮した持続可能な輸送システムを提供する取り組みが活発化している。この実現に向けて運転支援技術に関する研究開発を通して交通の安全性や利便性をより一層改善する研究開発に注力している。経路情報に基づいて、車線変更の推奨の判断がされた場合に、車線変更を案内する第1コンテンツを表示させ、車線変更後に推奨される運転操作を案内する第2コンテンツを、第1コンテンツの表示終了前に表示させる表示制御装置が開示されている(例えば特許文献1参照)。
【先行技術文献】
【特許文献】
【0003】
特開2021-094965号公報
【発明の概要】
【発明が解決しようとする課題】
【0004】
従来の技術では、移動体の制御に応じた情報を表示部に表示することができず、利用者の利便性が低い場合があった。例えば、道路が存在しない場合に、車線変更先の道路を表示することができず、車線変更の案内を表示するタイミングが遅れたり、道路が存在しない位置に案内表示が表示されたりすることがあり、利用者に対して違和感を与えることがあった。これにより利用者の利便性が低いことがあった。
【0005】
本発明は、このような事情を考慮してなされたものであり、移動体の乗員(例えばドライバ)にとっての利便性を向上させることができる制御装置、制御方法、およびプログラムを提供することを目的の一つとする。延いては持続可能な輸送システムの発展に寄与するものである。具体化には適切なタイミングで案内表示を表示させ、更に違和感を与えない表示を行うことができる。
【課題を解決するための手段】
【0006】
この発明に係る制御装置、制御方法、およびプログラムは、以下の構成を採用した。
(1):この発明の一態様に係る制御装置は、移動体の周辺の状況を認識する認識部と、前記認識部により認識された前記周辺の状況に含まれる車線を表示部に表示させ、前記移動体の目標経路が、前記移動体が走行する第1車線に隣接する車線側である場合に、前記隣接する車線のオブジェクトの画像に前記車線側への移動体の移動を表す移動表示のオブジェクトの画像を重ねた画像を前記表示部に表示させる制御部と、を備え、前記隣接する車線が、前記移動体が走行している位置よりも前記移動体の進行方向の前方で前記第1車線に接続して増加する第2車線である場合に、前記制御部は、前記移動表示のオブジェクトの画像を前記表示部にさせるときに前記認識部が前記第2車線を認識していない場合であっても、前記第2車線のオブジェクトの画像を前記表示部に表示させる。
【0007】
(2):上記(1)の態様において、前記制御部は、道路情報に基づいて、前記第2車線が前記移動体の進行方向に存在することを特定して前記第2車線のオブジェクトの画像を前記表示部に表示させる。
【0008】
(3):上記(1)の態様において、前記制御部は、前記第2車線のオブジェクトの画像と前記移動表示のオブジェクトの画像とを同時に前記表示部に表示させる。
【0009】
(4):上記(1)のいずれかの態様において、前記制御部は、前記第2車線のオブジェクトの画像を前記表示部に表示させた後に前記移動表示のオブジェクトの画像を前記表示部に表示させる。
【0010】
(5):上記(1)の態様において、前記移動体を前記第2車線に自動で車線変更させる自動車線変更制御を実行する自動車線変更制御部を、更に備え、前記制御部は、前記自動車線変更制御が実行されている場合に前記第2車線のオブジェクトの画像と前記移動表示のオブジェクトの画像とを重畳して前記表示部に表示させる。
(【0011】以降は省略されています)
この特許をJ-PlatPat(特許庁公式サイト)で参照する
関連特許
本田技研工業株式会社
車両
1日前
本田技研工業株式会社
車両
1日前
本田技研工業株式会社
排気装置
1日前
本田技研工業株式会社
排気装置
1日前
本田技研工業株式会社
排気装置
1日前
本田技研工業株式会社
発電セル
1日前
本田技研工業株式会社
除草装置
1日前
本田技研工業株式会社
電極積層体
1日前
本田技研工業株式会社
鞍乗型車両
1日前
本田技研工業株式会社
鞍乗型車両
1日前
本田技研工業株式会社
リアクトル
1日前
本田技研工業株式会社
始動制御装置
1日前
本田技研工業株式会社
車両制御装置
1日前
本田技研工業株式会社
電池製造装置
1日前
本田技研工業株式会社
始動制御装置
1日前
本田技研工業株式会社
燃料電池装置
1日前
本田技研工業株式会社
燃料電池構造
1日前
本田技研工業株式会社
鞍乗り型車両
1日前
本田技研工業株式会社
電気部品冷却構造
1日前
本田技研工業株式会社
燃料電池スタック
1日前
本田技研工業株式会社
固体電池の制御方法
1日前
本田技研工業株式会社
可変ファンネル装置
1日前
本田技研工業株式会社
固体電池の製造方法
1日前
本田技研工業株式会社
コンデンサユニット
1日前
本田技研工業株式会社
再生正極の製造方法
1日前
本田技研工業株式会社
バッテリモジュール
1日前
本田技研工業株式会社
交通安全支援システム
1日前
本田技研工業株式会社
全固体電池の製造方法
1日前
本田技研工業株式会社
蓄電装置及び制御方法
1日前
本田技研工業株式会社
バスバークランプ装置
1日前
本田技研工業株式会社
全固体電池の製造方法
1日前
本田技研工業株式会社
燃料電池および溶接方法
1日前
本田技研工業株式会社
能動型振動騒音制御装置
1日前
本田技研工業株式会社
能動型振動騒音制御装置
1日前
本田技研工業株式会社
燃料電池のマニホルド構造
1日前
本田技研工業株式会社
車両の制御装置及び制御方法
1日前
続きを見る
他の特許を見る