TOP
|
特許
|
意匠
|
商標
特許ウォッチ
Twitter
他の特許を見る
公開番号
2025154930
公報種別
公開特許公報(A)
公開日
2025-10-10
出願番号
2024058233
出願日
2024-03-29
発明の名称
全固体電池の製造方法
出願人
本田技研工業株式会社
代理人
個人
,
個人
,
個人
主分類
H01M
50/105 20210101AFI20251002BHJP(基本的電気素子)
要約
【課題】電極集電体の表面を外装フィルムで被覆する際に、外装フィルムと電極集電体の間に存在するコンタミネーションが電極集電体に埋没して、電極集電体が破壊されることを抑制する全固体電池の製造方法を提供する。
【解決手段】外装フィルムのうち少なくとも電極積層体の積層方向の最表面に対向する部位を加温する加温工程と、前記外装フィルムに前記電極積層体を収容する収容工程と、を有する、全固体電池の製造方法。
【選択図】なし
特許請求の範囲
【請求項1】
外装フィルムのうち少なくとも電極積層体の積層方向の最表面に対向する部位を加温する加温工程と、
前記外装フィルムに前記電極積層体を収容する収容工程と、を有する、全固体電池の製造方法。
続きを表示(約 500 文字)
【請求項2】
前記加温工程において、前記部位を加温する温度が前記部位を構成する樹脂のガラス転移点を超える温度である、請求項1に記載の全固体電池の製造方法。
【請求項3】
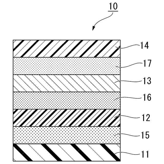
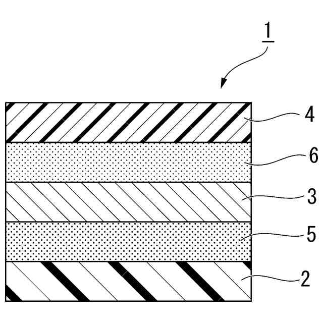
前記外装フィルムは、シーラント樹脂層と、金属層と、外層樹脂層と、を有し、
前記シーラント樹脂層と、前記金属層と、前記外層樹脂層とがこの順に積層された、請求項1に記載の全固体電池の製造方法。
【請求項4】
前記外装フィルムは、シーラント樹脂層と、絶縁樹脂層と、金属層と、外層樹脂層と、を有し、
前記シーラント樹脂層と、前記絶縁樹脂層と、前記金属層と、前記外層樹脂層とがこの順に積層された、請求項1に記載の全固体電池の製造方法。
【請求項5】
前記シーラント樹脂層を構成するシーラント樹脂は、ガラス転移点が45℃未満である、請求項3または4に記載の全固体電池の製造方法。
【請求項6】
前記絶縁樹脂層を構成する絶縁樹脂は、ガラス転移点がシーラント層のガラス転移点を超える温度であり融点が230℃以上である、請求項4に記載の全固体電池の製造方法。
発明の詳細な説明
【技術分野】
【0001】
本発明は、全固体電池の製造方法に関する。
続きを表示(約 1,500 文字)
【背景技術】
【0002】
全固体電池に含まれる電極積層体の電極集電体にタブリードを接合するには、溶接法が用いられる。溶接による接合では、スパッタ(金属異物)が発生し、このスパッタが電極集電体の表面にコンタミネーションとして残存することがある。また、タブリードを切断した際に、切り屑が発生し、この切り屑がタブリードの表面にコンタミネーションとして残存することがある。電極集電体の表面にコンタミネーションが存在する状態で、電極集電体の表面を外装フィルムで被覆すると、外装フィルムが電極集電体の表面にコンタミネーションを押し付ける力が働く。すると、コンタミネーションが電極集電体に埋没して、電極集電体が破壊されることがある。
【0003】
外装フィルムと電極集電体の間にコンタミネーションが存在することに起因する製造時の不良の発生を低減したラミネート電池としては、例えば、電極体と、前記電極体を収容するラミネートケースと、を備え、前記ラミネートケースは、シーラント層と、ガスバリア層と、外層と、前記シーラント層と前記ガスバリア層との間に位置する中間層と、を含む多層構造を有し、前記ガスバリア層は、アルミニウム層であり、前記中間層は、ポリロタキサンを5質量%以上50質量%以下含有するものが知られている(例えば、特許文献1参照)。
【先行技術文献】
【特許文献】
【0004】
特開2019-125487号公報
【発明の概要】
【発明が解決しようとする課題】
【0005】
しかしながら、特許文献1のラミネート電池では、ポリロタキサンを特定量含有する中間層の伸縮性の高さを利用して、アルミニウム層と負極との間の短絡による腐食を抑制しているものの、電極集電体の表面を外装フィルムで被覆する際に、コンタミネーションが電極集電体に埋没して、電極集電体が破壊されることを抑制できなかった。
【0006】
本発明は、上記事情に鑑みてなされたものであって、電極集電体の表面を外装フィルムで被覆する際に、外装フィルムと電極集電体の間に存在するコンタミネーションが電極集電体に埋没して、電極集電体が破壊されることを抑制する全固体電池の製造方法を提供することを目的とし、電池性能の安定化、製造工程における品質管理向上、延いては品質管理の向上に寄与するものである。
【課題を解決するための手段】
【0007】
上記目的を達成するために、本発明は以下の手段を提供する。
[1]外装フィルムのうち少なくとも電極積層体の積層方向の最表面に対向する部位を加温する加温工程と、
前記外装フィルムに前記電極積層体を収容する収容工程と、を有する、全固体電池の製造方法。
【0008】
外装フィルムと電極積層体が接する前に、外装フィルムのうち少なくとも電極積層体の積層方向の最表面に対向する部位を加温により軟化しておくことにより、外装フィルムと電極集電体の間にコンタミネーションが存在している場合にも、外装フィルムがコンタミネーションを吸収しやすくすることができる。
【0009】
[2]前記加温工程において、前記部位を加温する温度が前記部位を構成する樹脂のガラス転移点を超える温度である、[1]に記載の全固体電池の製造方法。
【0010】
前記部位を加温する温度を、前記部位を構成する樹脂のガラス転移点を超える温度とすることにより、外装フィルムの加温により電極積層体が損傷することを抑制できる。
(【0011】以降は省略されています)
この特許をJ-PlatPat(特許庁公式サイト)で参照する
関連特許
個人
フレキシブル電気化学素子
8日前
日新イオン機器株式会社
イオン源
4日前
ローム株式会社
半導体装置
15日前
ローム株式会社
半導体装置
10日前
株式会社ユーシン
操作装置
8日前
太陽誘電株式会社
全固体電池
15日前
株式会社GSユアサ
蓄電装置
15日前
オムロン株式会社
電磁継電器
9日前
株式会社ホロン
冷陰極電子源
15日前
株式会社GSユアサ
蓄電設備
8日前
太陽誘電株式会社
コイル部品
8日前
株式会社GSユアサ
蓄電設備
8日前
株式会社ホロン
冷陰極電子源
2日前
トヨタ自動車株式会社
蓄電装置
8日前
ノリタケ株式会社
熱伝導シート
8日前
日本特殊陶業株式会社
保持装置
15日前
日本特殊陶業株式会社
保持装置
15日前
TDK株式会社
電子部品
15日前
日東電工株式会社
積層体
9日前
サクサ株式会社
電池の固定構造
8日前
トヨタ自動車株式会社
バッテリ
9日前
SMK株式会社
キートップ及びスイッチ
10日前
トヨタ自動車株式会社
電池パック
1日前
株式会社トクヤマ
シリコンエッチング液
2日前
株式会社ダイヘン
搬送装置
8日前
古河電気工業株式会社
端子
8日前
ベストテック株式会社
装置支持具
8日前
東レエンジニアリング株式会社
実装装置
15日前
日東電工株式会社
電子装置
11日前
株式会社トクヤマ
シリコンエッチング液
2日前
TDK株式会社
コイル部品
15日前
ローム株式会社
半導体装置
10日前
トヨタ自動車株式会社
電池パック
1日前
日本特殊陶業株式会社
電極
15日前
東レエンジニアリング株式会社
実装装置
9日前
ローム株式会社
半導体装置
10日前
続きを見る
他の特許を見る