TOP
|
特許
|
意匠
|
商標
特許ウォッチ
Twitter
他の特許を見る
10個以上の画像は省略されています。
公開番号
2025154864
公報種別
公開特許公報(A)
公開日
2025-10-10
出願番号
2024058107
出願日
2024-03-29
発明の名称
燃料電池および溶接方法
出願人
本田技研工業株式会社
代理人
個人
,
個人
主分類
H01M
8/0247 20160101AFI20251002BHJP(基本的電気素子)
要約
【課題】一対の金属セパレータの溶接ラインにおける接触を、確実に確保することができる燃料電池の提供。
【解決手段】一対の接合セパレータ12の間に膜電極接合体が配置される燃料電池において、接合セパレータ12は、一対の金属セパレータ12a,12bを溶接ライン51,52に沿って溶接接合して形成される。第2金属セパレータ12bには、対向する第1金属セパレータ12aの方向に突出する凸部120が溶接ライン51,52に沿って形成されている。
【選択図】図6
特許請求の範囲
【請求項1】
一対の接合セパレータの間に膜電極接合体が配置される燃料電池において、
前記接合セパレータは、一対の金属セパレータを溶接ラインに沿って溶接接合して形成され、
一対の前記金属セパレータの一方には、対向する他方の前記金属セパレータの方向に突出する第1凸部が溶接ラインに沿って形成されていることを特徴とする、燃料電池。
続きを表示(約 1,100 文字)
【請求項2】
請求項1に記載の燃料電池において、
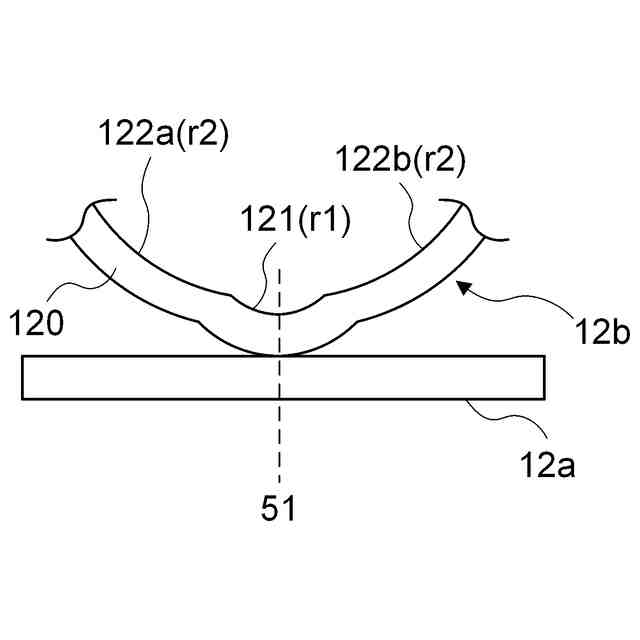
前記第1凸部の溶接ラインに直交する断面における形状は、凸部先端を含む半径r1の第1円弧領域と、該第1円弧領域の両端の各々に連続して設けられた半径r2の第2円弧領域とで構成され、
半径r2は半径r1よりも大きく設定されていることを特徴とする、燃料電池。
【請求項3】
請求項1に記載の燃料電池において、
前記他方の前記金属セパレータの溶接ラインには、前記第1凸部に対して窪んだ第1凹部が形成されており、
前記第1凸部の溶接ラインに直交する断面における形状は、半径r1の円弧形状であり、
前記第1凹部の溶接ラインに直交する断面における形状は、半径r2の円弧形状であり、
前記半径r2は前記半径r1よりも大きく設定されていることを特徴とする、燃料電池。
【請求項4】
請求項3に記載の燃料電池において、
前記第1凹部の前記溶接ラインに直交する断面における形状は、凹部底部領域を含む半径r2の第1円弧領域と、該第1円弧領域の両端の各々に設けられた半径r3の第2円弧領域とで構成され、
前記半径r3は前記半径r2よりも大きく設定されていることを特徴とする、燃料電池。
【請求項5】
請求項1に記載の燃料電池において、
前記第1凸部の前記溶接ラインに直交する断面における形状は、前記溶接ラインの一方の側においては半径r1の第1円弧領域であって、前記溶接ラインの他方の側においては半径r2の第2円弧領域であり、
前記半径r1と前記半径r2とは異なる値に設定されている、燃料電池。
【請求項6】
請求項1に記載の燃料電池において、
前記第1凸部の前記溶接ラインに直交する断面における形状は、凸部先端を含む半径r1の第1円弧領域と、前記第1円弧領域の一端に連続する半径r2の第2円弧領域と、前記第1円弧領域の他端に連続する半径r3の第3円弧領域と、で構成され、
前記半径r2と前記半径r3とは異なる値に設定されている、燃料電池。
【請求項7】
請求項1に記載の燃料電池における前記接合セパレータの溶接方法であって、
前記接合セパレータを構成する前記一対の金属セパレータの各々は、前記溶接ラインを挟んだ両側に、対向する前記金属セパレータから離間する方向に突出する一対のビード部をそれぞれ備え、
対向配置された前記一対の金属セパレータの対向する前記一対のビード部の少なくとも一方を把持治具で把持しつつ、前記溶接ラインの溶接を行うことを特徴とする、溶接方法。
発明の詳細な説明
【技術分野】
【0001】
本発明は、燃料電池、および、燃料電池の接合セパレータの溶接方法に関する。
続きを表示(約 1,800 文字)
【背景技術】
【0002】
近年、より多くの人が手ごろで信頼でき、持続可能かつ先進的なエネルギへのアクセスを確保できるようにするため、エネルギの効率化に貢献する燃料電池に関する技術開発が行われている。この種の燃料電池に関する技術として、複数の発電セルを積層してなる燃料電池スタックが知られている。発電セルは、膜電極接合体(Membrane Electrode Assembly:MEA)と、MEAを挟むように配置された一対の金属セパレータとを備える。例えば、特許文献1に記載の燃料電池では、隣り合う発電セルの隣接する金属セパレータ同士を溶接して一体化した接合セパレータが用いられている。
【0003】
従来、金属セパレータを溶接接続する際には、うねり等によって溶接部にギャップが生じないように一対の金属セパレータをクランプ治具でクランプしつつ溶接が行われる。その場合、溶接ラインにおける金属セパレータ同士の接触を確保するためには、溶接ラインの両側周辺の平坦部をクランプするのが好ましい。
【先行技術文献】
【特許文献】
【0004】
特開2023-150887号公報
【発明の概要】
【発明が解決しようとする課題】
【0005】
ところで、溶接部の狭小化を図ろうとすると、溶接個所によってはそのようにクランプするスペース的余裕が無い場合がある。例えば、溶接ラインに近接してビード部が設けられている場合には、スペースの関係上、ビード部をクランプして溶接を行う必要がある。しかしながら、ビード部をクランプする場合には、溶接ラインにおける接触の確保が難しいという課題がある。
【課題を解決するための手段】
【0006】
本発明の一態様による燃料電池は、一対の接合セパレータの間に膜電極接合体が配置され、前記接合セパレータは、一対の金属セパレータを溶接ラインに沿って溶接接合して形成され、一対の前記金属セパレータの一方には、対向する他方の前記金属セパレータの方向に突出する第1凸部が溶接ラインに沿って形成されていることを特徴とする。
【発明の効果】
【0007】
本発明によれば、一対の金属セパレータの溶接ラインにおける接触を、確実に確保することができる。
【図面の簡単な説明】
【0008】
図1は、燃料電池スタックを構成する複数の発電セルの一つを示す分解斜視図である。
図2は、図1の破線Cで囲んだ領域の拡大図である。
図3は、図2のA-A断面を示す断面図である。
図4は、第1および第2金属セパレータの溶接領域の形状を説明する図である。
図5は、レーザ溶接の際のクランプ方法を説明する図である。
図6は、ビード部をクランプした場合を説明する図である。
図7は、変形例1を説明する図である。
図8は、変形例1の他の例を示す図である。
図9は、変形例2を説明する図である。
図10は、変形例2の他の例を示す図である。
図11は、一対の金属セパレータの各々に凸部を形成した場合を示すである。
図12は、非対称凸形状の他の例を示す図である。
【発明を実施するための形態】
【0009】
以下、図を参照して本発明を実施するための形態について説明する。以下の記載および図面は、本発明を説明するための例示であって、説明の明確化のため、適宜、省略および簡略化がなされている。また、以下の説明では、同一または類似の要素および処理には同一の符号を付し、重複する説明を省略する場合がある。なお、以下に記載する内容はあくまでも本発明の実施の形態の一例を示すものであって、本発明は以下の実施の形態に限定されるものではなく、他の種々の形態でも実施をすることが可能である。
【0010】
図1は、燃料電池スタック1を構成する複数の発電セル10の一つを示す分解斜視図である。図1に示す例では、複数の発電セル10はx軸方向に積層され、燃料電池スタック1においては積層方向の締付荷重(圧縮荷重)が付与される。燃料電池スタック1は、例えば、車載用燃料電池スタックとして燃料電池の電力により走行する電気自動車に搭載される。
(【0011】以降は省略されています)
この特許をJ-PlatPat(特許庁公式サイト)で参照する
関連特許
本田技研工業株式会社
車両
4日前
本田技研工業株式会社
車両
3日前
本田技研工業株式会社
車両
18日前
本田技研工業株式会社
装置
17日前
本田技研工業株式会社
車両
4日前
本田技研工業株式会社
車両
3日前
本田技研工業株式会社
モータ
14日前
本田技研工業株式会社
移動体
5日前
本田技研工業株式会社
飛行体
4日前
本田技研工業株式会社
バッテリ
11日前
本田技研工業株式会社
排気装置
3日前
本田技研工業株式会社
ステータ
10日前
本田技研工業株式会社
収容装置
4日前
本田技研工業株式会社
保管装置
12日前
本田技研工業株式会社
清掃装置
4日前
本田技研工業株式会社
電気部品
4日前
本田技研工業株式会社
排気装置
3日前
本田技研工業株式会社
電気機器
4日前
本田技研工業株式会社
保管装置
12日前
本田技研工業株式会社
バッテリ
11日前
本田技研工業株式会社
エンジン
4日前
本田技研工業株式会社
排気装置
3日前
本田技研工業株式会社
会話装置
10日前
本田技研工業株式会社
制御装置
3日前
本田技研工業株式会社
電気機器
5日前
本田技研工業株式会社
内燃機関
4日前
本田技研工業株式会社
除草装置
3日前
本田技研工業株式会社
送電装置
12日前
本田技研工業株式会社
固体電池
12日前
本田技研工業株式会社
車両構造
14日前
本田技研工業株式会社
内燃機関
17日前
本田技研工業株式会社
内燃機関
17日前
本田技研工業株式会社
保持装置
11日前
本田技研工業株式会社
電解装置
25日前
本田技研工業株式会社
電気機器
4日前
本田技研工業株式会社
固体電池
5日前
続きを見る
他の特許を見る