TOP
|
特許
|
意匠
|
商標
特許ウォッチ
Twitter
他の特許を見る
公開番号
2025138410
公報種別
公開特許公報(A)
公開日
2025-09-25
出願番号
2024037487
出願日
2024-03-11
発明の名称
樹脂筐体および電子装置
出願人
株式会社デンソー
代理人
個人
,
個人
主分類
B29C
33/12 20060101AFI20250917BHJP(プラスチックの加工;可塑状態の物質の加工一般)
要約
【課題】印字の読み取り性を向上できる電子装置を提供すること。
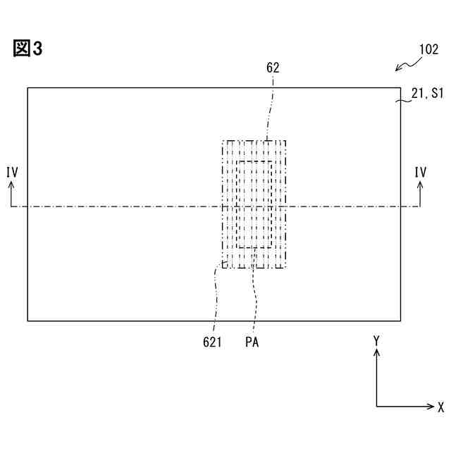
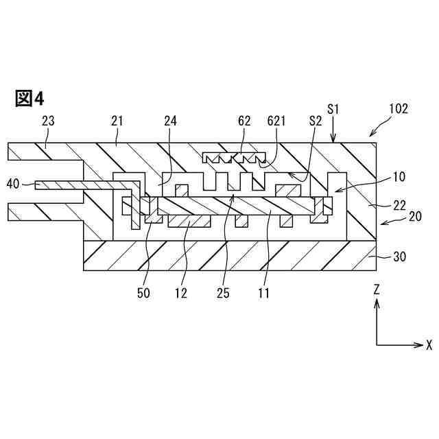
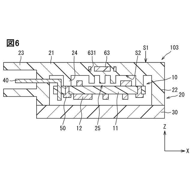
【解決手段】電子装置101は、回路基板10と、基部21を有し回路基板を収容するベース20とカバー30と、を備えている。ベースは、基部21の外表面S1に印字が施される印字領域と、基部の内表面S2における印字領域の対向領域に設けられた凹凸部25とを備えている。さらに、ベースは、印字領域と凹凸部との間に内装され、印字領域の平坦性を保つための補強部材61を備えている。
【選択図】図2
特許請求の範囲
【請求項1】
壁部(21)を備えた樹脂筐体であって、
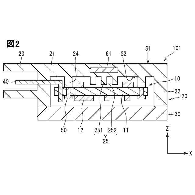
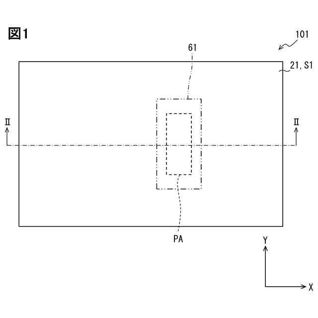
前記壁部の外表面(S1)に設定された印字が施される印字領域(PA)と、
前記壁部の内表面(S2)における前記印字領域の対向領域に設けられた凹凸部(25)と、
前記壁部における前記印字領域と前記凹凸部との間に内装され、前記印字領域の平坦性を保つための補強部材(61~63)と、を備えている樹脂筐体。
続きを表示(約 650 文字)
【請求項2】
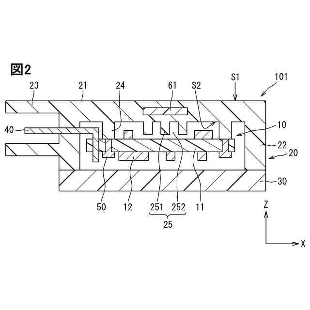
前記補強部材は、前記対向領域よりも広い範囲に設けられている請求項1に記載の樹脂筐体。
【請求項3】
前記補強部材は、前記壁部の構成材料よりも熱収縮率が小さい請求項1または2に記載の樹脂筐体。
【請求項4】
前記補強部材は、金属が主成分である請求項3に記載の樹脂筐体。
【請求項5】
前記補強部材は、前記凹凸部と対向する側に切欠部(621)を有する請求項1または2に記載の樹脂筐体。
【請求項6】
前記補強部材は、前記対向領域の周辺に穴部(631)を有する請求項2に記載の樹脂筐体。
【請求項7】
回路基板(10)と、壁部(21)を有し前記回路基板を収容する樹脂筐体(20,30)と、を備えた電子装置であって、
前記樹脂筐体は、
前記壁部の外表面(S1)に設定された印字が施される印字領域(PA)と、
前記壁部の内表面(S2)における前記印字領域の対向領域に設けられた凹凸部(25)と、
前記壁部における前記印字領域と前記凹凸部との間に内装され、前記印字領域の平坦性を保つための補強部材(61~63)と、を備えている電子装置。
【請求項8】
前記補強部材は、前記対向領域よりも広い範囲に設けられている請求項7に記載の電子装置。
【請求項9】
前記補強部材は、前記壁部の構成材料よりも熱収縮率が小さい請求項7または8に記載の電子装置。
発明の詳細な説明
【技術分野】
【0001】
本開示は、樹脂筐体および電子装置に関する。
続きを表示(約 1,200 文字)
【背景技術】
【0002】
電子装置の一例として特許文献1に開示された電子機器がある。電子機器は、配線基板と筐体とを備えている。筐体は、配線基板と接触するリブを備えている。
【先行技術文献】
【特許文献】
【0003】
特開2018-64040号公報
【発明の概要】
【発明が解決しようとする課題】
【0004】
ところで、電子装置では、外表面に印字がなされた樹脂筐体を備えた構成が考えられる。その樹脂筐体は、特許文献1のようにリブを備えていた場合、外表面の平坦性が損なわれる虞がある。そのため、電子装置および樹脂筐体は、印字の読み取り性が低下する。
【0005】
開示される一つの目的は、印字の読み取り性を向上できる樹脂筐体を提供することである。開示される他の一つの目的は、印字の読み取り性を向上できる電子装置を提供することである。
【課題を解決するための手段】
【0006】
ここに開示された樹脂筐体は、
壁部(21)を備えた樹脂筐体であって、
壁部の外表面(S1)に設定された印字が施される印字領域(PA)と、
壁部の内表面(S2)における印字領域の対向領域に設けられた凹凸部(25)と、
壁部における印字領域と凹凸部との間に内装され、印字領域の平坦性を保つための補強部材(61~63)と、を備えている。
【0007】
このように、樹脂筐体は、補強部材を備えているため印字領域を平坦化できる。そのため、樹脂筐体は、印字を読み取る際における反射光の乱れを抑制でき、印字の読み取り性を向上できる。
【0008】
ここに開示された電子装置は、
回路基板(10)と、壁部(21)を有し回路基板を収容する樹脂筐体(20,30)と、を備えた電子装置であって、
樹脂筐体は、
壁部の外表面(S1)に設定された印字が施される印字領域(PA)と、
壁部の内表面(S2)における印字領域の対向領域に設けられた凹凸部(25)と、
壁部における印字領域と凹凸部との間に内装され、印字領域の平坦性を保つための補強部材(61~63)と、を備えている。
【0009】
このように、電子装置は、上記の樹脂筐体を備えている。そのため、電子装置は、同様の効果を奏することができる。
【0010】
この明細書において開示された複数の態様は、それぞれの目的を達成するために、互いに異なる技術的手段を採用する。請求の範囲およびこの項に記載した括弧内の符号は、後述する実施形態の部分との対応関係を例示的に示すものであって、技術的範囲を限定することを意図するものではない。この明細書に開示される目的、特徴、および効果は、後続の詳細な説明、および添付の図面を参照することによってより明確になる。
【図面の簡単な説明】
(【0011】以降は省略されています)
この特許をJ-PlatPat(特許庁公式サイト)で参照する
関連特許
株式会社デンソー
車載器
1日前
株式会社デンソー
ステータ
1日前
株式会社デンソー
ねじ部材
1日前
株式会社デンソー
ステータ
1日前
株式会社デンソー
半導体装置
1日前
株式会社デンソーテン
車載映像装置
1日前
株式会社デンソー
電子制御装置
1日前
株式会社デンソー
電力変換装置
1日前
株式会社デンソー
移動体制御装置
2日前
株式会社デンソー
圧着ヘッド装置
1日前
株式会社デンソー
自己位置推定装置
1日前
株式会社デンソートリム
エンジン制御装置
1日前
株式会社デンソー
コンパイラドライバ
1日前
株式会社デンソー
マルチレベルインバータ
1日前
株式会社デンソーウェーブ
搬送システム、ロボットハンド
1日前
株式会社デンソー
半導体装置およびその製造方法
1日前
株式会社デンソー
サブ基板構造体及び電子制御装置
1日前
株式会社デンソーウェーブ
ロボットハンド、ロボットシステム
1日前
株式会社デンソーウェーブ
ロボットハンド、ロボットシステム
1日前
株式会社デンソーウェーブ
ロボットハンド、ロボットシステム
1日前
株式会社デンソーウェーブ
ロボットハンド、ロボットシステム
1日前
株式会社デンソーウェーブ
ロボットハンド、ロボットシステム
1日前
株式会社デンソーウェーブ
ロボットハンド、ロボットシステム
1日前
トヨタ自動車株式会社
車両制御装置
1日前
株式会社デンソー
充電システム、車両及び充電スタンド
1日前
株式会社デンソー
中継システム、中継装置、及びプログラム
1日前
株式会社デンソー
中継装置、データ中継方法、及びプログラム
1日前
バンドー化学株式会社
ワイパーブレードラバー
1日前
バンドー化学株式会社
ワイパーブレードラバー
1日前
バンドー化学株式会社
ワイパーブレードラバー
1日前
富士電機株式会社
炭化珪素半導体装置の製造方法
1日前
株式会社デンソー
処理システム、処理装置、処理方法、処理プログラム
1日前
株式会社デンソー
認識システム、認識装置、認識方法、認識プログラム
2日前
株式会社デンソー
通信及びセンシングのための装置、方法、及びプログラム
1日前
株式会社豊田中央研究所
積層造形物および積層造形方法
1日前
株式会社デンソー
通信及びセンシングのための装置、方法、及びプログラム
1日前
続きを見る
他の特許を見る