TOP
|
特許
|
意匠
|
商標
特許ウォッチ
Twitter
他の特許を見る
公開番号
2025144263
公報種別
公開特許公報(A)
公開日
2025-10-02
出願番号
2024043957
出願日
2024-03-19
発明の名称
認識システム、認識装置、認識方法、認識プログラム
出願人
株式会社デンソー
代理人
個人
,
個人
主分類
G08G
1/09 20060101AFI20250925BHJP(信号)
要約
【課題】移動体からの信号機の認識に有効な認識システムの提供。
【解決手段】ホスト移動体からの信号機の認識処理を遂行する認識システムのプロセッサは、ホスト移動体において赤外域カメラにより信号機が撮影されたデータとして、信号機において切り替わる灯色に対応した複数のカラー発光部に関する赤外域撮影データDiを、取得することと、赤外域撮影データDiにおける各カラー発光部の赤外域輝度同士での、時間変化パターンPに相関する灯色を認識した認識データDrを出力することとを、実行するように構成される。
【選択図】図6
特許請求の範囲
【請求項1】
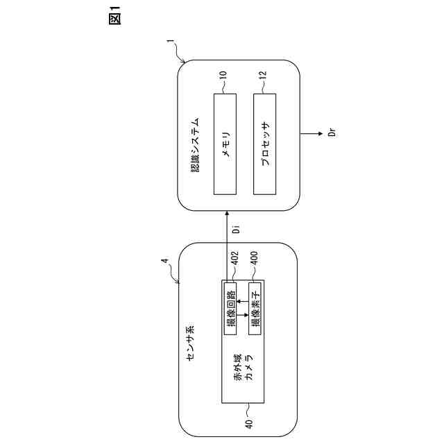
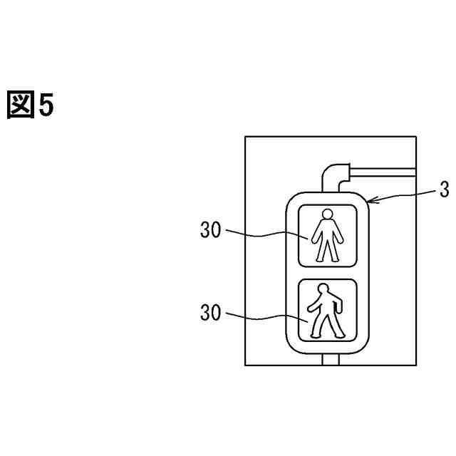
プロセッサ(12)を有し、ホスト移動体(2)からの信号機(3)の認識処理を遂行する認識システムであって、
前記プロセッサは、
前記ホスト移動体において赤外域カメラ(40)により前記信号機が撮影されたデータとして、前記信号機において切り替わる灯色に対応した複数のカラー発光部(30)に関する赤外域撮影データ(Di)を、取得することと、
前記赤外域撮影データにおける各前記カラー発光部の赤外域輝度同士での、時間変化パターン(P,Pf,Pn)に相関する前記灯色を認識した認識データ(Dr)を出力することとを、実行するように構成される認識システム。
続きを表示(約 1,900 文字)
【請求項2】
前記認識データを出力することは、
前記赤外域輝度の時間減少率が漸次変化する前記カラー発光部の前記時間変化パターン(Pf)と、前記赤外域輝度の時間増大率が漸次変化する前記カラー発光部の前記時間変化パターン(Pn)との中から、並行して現出する組み合わせに対応した前記カラー発光部での発光色を前記灯色として認識することを、含む請求項1に記載の認識システム。
【請求項3】
前記認識データを出力することは、
前記赤外域撮影データにおいて各前記カラー発光部別に認識される外形輪郭(300)の内部に、特定される発光画素エリア(301)同士での、前記赤外域輝度の前記時間変化パターンを監視することを、含む請求項1に記載の認識システム。
【請求項4】
前記プロセッサは、
前記ホスト移動体において可視域カメラ(2041)により前記信号機が撮影されたデータとして、各前記カラー発光部に関する可視域撮影データ(Dv)を、取得することを、さらに含み、
前記認識データを出力することは、
前記可視域撮影データにおいて各前記カラー発光部別に認識される外形輪郭(300)の内部に、前記赤外域撮影データにおいて対応する発光画素エリア(301)同士での、前記赤外域輝度の前記時間変化パターンを監視することを、含む請求項1に記載の認識システム。
【請求項5】
前記時間変化パターンを抽出することは、
前記赤外域撮影データにおいて前記赤外域輝度が分布する前記発光画素エリアの中で、最高輝度の前記赤外域輝度が想定される想定箇所での前記時間変化パターンを監視することを、含む請求項3又は4に記載の認識システム。
【請求項6】
前記認識データを出力することは、
特定発光色にて点灯する前記カラー発光部の前記赤外域輝度により減算補正した、各前記カラー発光部の前記赤外域輝度に関する前記時間変化パターンを監視することを、含む請求項1に記載の認識システム。
【請求項7】
前記認識データを出力することは、
前記赤外域撮影データから認識される各前記カラー発光部の点灯順が、各前記カラー発光部に規定された規定順とは異なることに応答して前記灯色の認識エラーを報知するように、前記認識データを出力することを、含む請求項1に記載の認識システム。
【請求項8】
プロセッサ(12)を有し、ホスト移動体(2)に搭載可能に構成され、前記ホスト移動体からの信号機(3)の認識処理を遂行する認識装置であって、
前記プロセッサは、
前記ホスト移動体において赤外域カメラ(40)により前記信号機が撮影されたデータとして、前記信号機において切り替わる灯色に対応した複数のカラー発光部(30)に関する赤外域撮影データ(Di)を、取得することと、
前記赤外域撮影データにおける各前記カラー発光部の赤外域輝度同士での、時間変化パターン(P,Pf,Pn)に相関する前記灯色を認識した認識データ(Dr)を出力することとを、実行するように構成される認識装置。
【請求項9】
ホスト移動体(2)からの信号機(3)の認識処理を遂行するために、プロセッサ(12)により実行される認識方法であって、
前記ホスト移動体において赤外域カメラ(40)により前記信号機が撮影されたデータとして、前記信号機において切り替わる灯色に対応した複数のカラー発光部(30)に関する赤外域撮影データ(Di)を、取得することと、
前記赤外域撮影データにおける各前記カラー発光部の赤外域輝度同士での、時間変化パターン(P,Pf,Pn)に相関する前記灯色を認識した認識データ(Dr)を出力することとを、含む認識方法。
【請求項10】
ホスト移動体(2)からの信号機(3)の認識処理を遂行するために記憶媒体(10)に記憶され、当該認識処理を遂行するプロセッサ(12)に実行させるための命令を含む認識プログラムであって、
前記ホスト移動体において赤外域カメラ(40)により前記信号機が撮影されたデータとして、前記信号機において切り替わる灯色に対応した複数のカラー発光部(30)に関する赤外域撮影データ(Di)を、取得することと、
前記赤外域撮影データにおける各前記カラー発光部の赤外域輝度同士での、時間変化パターン(P,Pf,Pn)に相関する前記灯色を認識した認識データ(Dr)を出力することとを、実行させるための前記命令を含む認識プログラム。
発明の詳細な説明
【技術分野】
【0001】
本開示は、移動体からの信号機の認識処理を遂行する認識技術に、関する。
続きを表示(約 1,800 文字)
【背景技術】
【0002】
特許文献1に開示の技術では、信号機の作動情報が無線送信機から送信されることで、移動体としての車両において当該作動情報が認識されている。
【先行技術文献】
【特許文献】
【0003】
特許第2806801号公報
【発明の概要】
【発明が解決しようとする課題】
【0004】
しかし、特許文献1に開示の技術では、車両と無線送信機との間の無線通信に障害が生じると、車両における信号機の認識は阻害されていまう。
【0005】
本開示の課題は、移動体からの信号機の認識に有効な認識システムを、提供することにある。本開示の別の課題は、移動体からの信号機の認識に有効な認識装置を、提供することにある。本開示のまた別の課題は、移動体からの信号機の認識に有効な認識方法を、提供することにある。本開示のさらに別の課題は、移動体からの信号機の認識に有効な認識プログラムを、提供することにある。
【課題を解決するための手段】
【0006】
以下、課題を解決するための本開示の技術的手段について、説明する。尚、特許請求の範囲及び本欄に記載された括弧内の符号は、後に詳述する実施形態に記載された具体的手段との対応関係を示すものであり、本開示の技術的範囲を限定するものではない。
【0007】
本開示の第一態様は、
プロセッサ(12)を有し、ホスト移動体(2)からの信号機(3)の認識処理を遂行する認識システムであって、
プロセッサは、
ホスト移動体において赤外域カメラ(40)により信号機が撮影されたデータとして、信号機において切り替わる灯色に対応した複数のカラー発光部(30)に関する赤外域撮影データ(Di)を、取得することと、
赤外域撮影データにおける各カラー発光部の赤外域輝度同士での、時間変化パターン(P,Pf,Pn)に相関する灯色を認識した認識データ(Dr)を出力することとを、実行するように構成される。
【0008】
本開示の第二態様は、
プロセッサ(12)を有し、ホスト移動体(2)に搭載可能に構成され、ホスト移動体からの信号機(3)の認識処理を遂行する認識装置であって、
プロセッサは、
ホスト移動体において赤外域カメラ(40)により信号機が撮影されたデータとして、信号機において切り替わる灯色に対応した複数のカラー発光部(30)に関する赤外域撮影データ(Di)を、取得することと、
赤外域撮影データにおける各カラー発光部の赤外域輝度同士での、時間変化パターン(P,Pf,Pn)に相関する灯色を認識した認識データ(Dr)を出力することとを、実行するように構成される。
【0009】
本開示の第三態様は、
ホスト移動体(2)からの信号機(3)の認識処理を遂行するために、プロセッサ(12)により実行される認識方法であって、
ホスト移動体において赤外域カメラ(40)により信号機が撮影されたデータとして、信号機において切り替わる灯色に対応した複数のカラー発光部(30)に関する赤外域撮影データ(Di)を、取得することと、
赤外域撮影データにおける各カラー発光部の赤外域輝度同士での、時間変化パターン(P,Pf,Pn)に相関する灯色を認識した認識データ(Dr)を出力することとを、含む。
【0010】
本開示の第四態様は、
ホスト移動体(2)からの信号機(3)の認識処理を遂行するために記憶媒体(10)に記憶され、当該認識処理を遂行するプロセッサ(12)に実行させるための命令を含む認識プログラムであって、
ホスト移動体において赤外域カメラ(40)により信号機が撮影されたデータとして、信号機において切り替わる灯色に対応した複数のカラー発光部(30)に関する赤外域撮影データ(Di)を、取得することと、
赤外域撮影データにおける各カラー発光部の赤外域輝度同士での、時間変化パターン(P,Pf,Pn)に相関する灯色を認識した認識データ(Dr)を出力することとを、実行させるための命令を含む。
(【0011】以降は省略されています)
この特許をJ-PlatPat(特許庁公式サイト)で参照する
関連特許
株式会社デンソー
車載器
5日前
株式会社デンソー
接合体
19日前
株式会社デンソー
電子装置
今日
株式会社デンソー
電子装置
9日前
株式会社デンソーエレクトロニクス
発音装置
9日前
株式会社デンソー
ステータ
20日前
株式会社デンソー
太陽電池
21日前
株式会社デンソーエレクトロニクス
発音装置
27日前
株式会社デンソー
平滑回路
29日前
株式会社デンソー
光学部材
1か月前
株式会社デンソー
通信装置
1か月前
株式会社デンソー
電子装置
1か月前
株式会社デンソー
駆動装置
1か月前
株式会社デンソー
書込装置
1か月前
株式会社デンソー
測距装置
1か月前
株式会社デンソー
電子装置
1か月前
株式会社デンソー
ステータ
1か月前
株式会社デンソー
電子装置
1か月前
株式会社デンソー
送電装置
1か月前
株式会社デンソー
ステータ
1か月前
株式会社デンソー
電子装置
1か月前
株式会社デンソーウェーブ
携帯端末
1か月前
株式会社デンソー
ねじ部材
5日前
株式会社デンソー
ステータ
20日前
株式会社デンソー
ステータ
5日前
株式会社デンソー
ステータ
5日前
株式会社デンソー
ガスセンサ
1か月前
株式会社デンソー
レーダ装置
9日前
株式会社デンソー
レーダ装置
1か月前
株式会社デンソー
点火プラグ
1か月前
株式会社デンソー
農業用装置
1日前
株式会社デンソー
回転体装置
1か月前
株式会社デンソー
半導体装置
1か月前
株式会社デンソー
熱音響装置
1か月前
株式会社デンソー
センサ素子
1か月前
株式会社デンソー
半導体装置
5日前
続きを見る
他の特許を見る