TOP
|
特許
|
意匠
|
商標
特許ウォッチ
Twitter
他の特許を見る
10個以上の画像は省略されています。
公開番号
2025144597
公報種別
公開特許公報(A)
公開日
2025-10-03
出願番号
2024044316
出願日
2024-03-20
発明の名称
ロボットハンド、ロボットシステム
出願人
株式会社デンソーウェーブ
代理人
個人
主分類
B25J
15/08 20060101AFI20250926BHJP(手工具;可搬型動力工具;手工具用の柄;作業場設備;マニプレータ)
要約
【課題】ロボットシステムの省スペース化を図り、ロボットが従事できる作業を増やすこと。
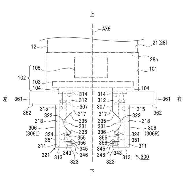
【解決手段】アーム21のフランジ部28に装着されているハンド300は、一対の挟持部材306と、それら挟持部材306を開閉させる開閉機構102とを備えている。挟持部材306は、フランジ部28の回動中心軸線である第6軸AX6の軸線方向に延びるベース部311を有してなる。ベース部311の下端部313には、注射器のプランジャをベース部311と同じ向きとなるようにして挟持するためのプランジャ挟持部323が設けられている。また、ベース部311にてプランジャ挟持部323の上側となる部分には、ベース部311の内面317を凹ませて、シリンジ挟持部322が形成されている。シリンジ挟持部322はベース部311と直交する方向に延びており、ベース部311と直交する方向を向くようにして注射器を挟持可能となっている。
【選択図】 図24
特許請求の範囲
【請求項1】
複数の関節部を有してなるロボットアームに適用され、一対の挟持部材と、それら挟持部材の相対距離を変更するための距離可変機構とを備えているロボットハンドであって、
各前記挟持部材には、
対象物における第1の部分を挟持対象とし、当該対象物を前記ロボットアームの先端に対して第1の向きとなるようにして挟持するための第1挟持部と、
前記対象物における第2の部分を挟持対象とし、当該対象物を前記ロボットアームの先端に対して前記第1の向きとは異なる第2の向きとなるようにして挟持するための第2挟み部と
が設けられているロボットハンド。
続きを表示(約 910 文字)
【請求項2】
複数の関節部を有してなるロボットアームに適用され、シリンジ及びプランジャが組み合わされてなる注射器を挟持するロボットハンドであって、
一対の挟持部材と、
それら挟持部材の相対距離を変更するための距離可変機構と
を備え、
各前記挟持部材は、それら挟持部材の並び方向と交差する方向に延びるベース部を有し、
前記ベース部には、
前記シリンジを挟持対象とし、前記注射器を前記ベース部の長手方向と交差する方向を向くようにして挟持するための第1挟持部と、
前記プランジャの操作部を挟持対象とし、前記注射器を前記ベースの長手方向と同じ方向を向くようにして挟持するための第2挟持部と
が形成されているロボットハンド。
【請求項3】
前記ベース部は、前記ロボットアームの先端部と同じ方向に延びており、
前記第1挟持部及び前記第2挟持部は、前記第2挟持部が前記ベース部の先端側且つ前記第1挟持部が前記ベース部の基端側となるように配設されている請求項2に記載のロボットハンド。
【請求項4】
前記第1挟持部は、前記ベース部にて相対向している対向面に設けられ、前記ベース部にて前記対向面を挟む2つの側面に跨るようにして延びる溝状の凹部であり、
前記第2挟持部は、前記操作部を挟持した状態では、第2挟持部間の隙間を前記操作部よりも小さくすることにより、当該第2挟持部からの前記操作部の脱落を規制可能となっている請求項2に記載のロボットハンド。
【請求項5】
前記プランジャの前記操作部は、当該プランジャの長手方向と交差する方向に拡がる面状をなしており、
前記第2挟持部は、前記操作部の下面に対向し、当該下面に当接又は近接する対向部を有している請求項2に記載のロボットハンド。
【請求項6】
請求項1乃至請求項5のいずれか1つに記載のロボットハンドが装着されたロボットアームと、前記ロボットハンド及び前記ロボットアームの駆動制御を行う駆動制御部とを備えているロボットシステム。
発明の詳細な説明
【技術分野】
【0001】
本発明は、ロボットハンド、ロボットシステムに関する。
続きを表示(約 2,400 文字)
【背景技術】
【0002】
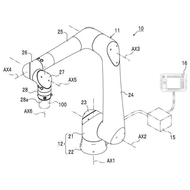
ロボットシステムを構成している人協働ロボット等のロボットには、複数の関節部が形成されたアーム(ロボットアーム)と、ロボットアームの先端部に装着されたハンド(ロボットハンド)とを備えているものがある。ロボットハンドには、例えば一対の可動爪によってワークを挟んだ状態で保持(挟持)可能となるように構成されているものがある(例えば特許文献1参照)。
【先行技術文献】
【特許文献】
【0003】
特開2018-1281号公報
【発明の概要】
【発明が解決しようとする課題】
【0004】
ここで、作業等に応じて挟持の対象が異なる場合には、対象毎にロボットハンドを設け、必要に応じてロボットハンドを自動で換装する構成とすれば、ロボットが従事できる作業を増やすことができる。また、挟持対象の形状や大きさ等に応じ可動爪の形状を定めることにより、挟持対象の脱落等を好適に抑制できる。但し、換装用の治具や各種ロボットハンドをロボットの近傍に設置するにはある程度のスペースが必要になる。例えば研究所や実験室にて卓上にロボットを設置する場合、すなわちロボットシステムの設置領域に限りがある場合には、換装用のロボットハンドの設置によって作業領域が圧迫され得る。これは、ロボットが従事可能な作業を増やす上で妨げになり得る。このような設置領域に係る懸念を解消する上では、ロボットハンドに対をなす可動爪を複数組設け、それら可動爪を作業に応じて使い分ける構成とすれば、交換用のロボットハンドを準備しなくても従事できる作業の数を増やすことができる。しかしながら、このような対応では各組を動作させるための駆動機構が必要になり、ロボットハンドが大きくなると想定される。ロボットハンドが大きくなれば、治具等の周辺構成との衝突を回避する上でロボットの動きに係る制約が強くなる。これは、ロボットが従事する作業を増やす上で好ましくない。このように、限られたスペースでロボットを複数の作業に従事させる上で、ロボットハンドに係る構成には未だ改善の余地がある。
【0005】
本発明は、上記例示した課題等に鑑みてなされたものであり、その主たる目的は、ロボットシステムの省スペース化を図り、ロボットが従事できる作業を増やすことにある。
【課題を解決するための手段】
【0006】
第1の手段.複数の関節部を有してなるロボットアームに適用され、一対の挟持部材と、それら挟持部材の相対距離を変更するための距離可変機構とを備えているロボットハンドであって、
各前記挟持部材には、
対象物における第1の部分を挟持対象とし、当該対象物を前記ロボットアームの先端に対して第1の向きとなるようにして挟持するための第1挟持部と、
前記対象物における第2の部分を挟持対象とし、当該対象物を前記ロボットアームの先端に対して前記第1の向きとは異なる第2の向きとなるようにして挟持するための第2挟み部と
が設けられている。
【0007】
本手段に示すように、対象物の第1の部分用の第1挟持部と第2の部分用の第2挟持部とを挟持部材に併設すれば、対象物に係る作業の内容等に応じてハンドを換装することなく複数の作業を円滑に進めることができる。これは、限られたスペースにてロボットが従事可能な作業を増やす上で好ましい。また、挟持する部分に合わせて挟持部を形成できるため、挟持機能を安定して発揮させることが可能となる。そして、第1の部分を挟持した場合の対象物の向きと第2の部分を挟持した場合の対象物の向きとに制約が生じにくいため、作業に応じて効率の良い姿勢となるように挟持とすることができる。以上の理由から、システムの省スペース化を図りつつ、ロボットが従事できる作業を好適に増やすことができる。
【0008】
第2の手段.複数の関節部を有してなるロボットアームに適用され、シリンジ及びプランジャが組み合わされてなる注射器を挟持するロボットハンドであって、
一対の挟持部材と、
それら挟持部材の相対距離を変更するための距離可変機構と
を備え、
各前記挟持部材は、それら挟持部材の並び方向と交差する方向に延びるベース部を有し、
前記ベース部には、
前記シリンジを挟持対象とし、前記注射器を前記ベース部の長手方向と交差する方向を向くようにして挟持するための第1挟持部と、
前記プランジャの操作部を挟持対象とし、前記注射器を前記ベースの長手方向と同じ方向を向くようにして挟持するための第2挟持部と
が形成されている。
【0009】
本手段に示すように、シリンジ用の第1挟持部とプランジャ(操作部)用の第2挟持部とを挟持部材に併設すれば、注射器に係る作業の内容等に応じてハンドを換装することなく複数の作業を円滑に進めることができる。これは、限られたスペースにてロボットが従事可能な作業を増やす上で好ましい。
【0010】
なお、注射器については、例えばプランジャの操作部を常時挟持対象とすることも可能であるが、操作部を挟持して注射器を移動させる場合にプランジャが動くことは好ましくない。この点では、挟持対象をシリンジとすることには技術的意義がある。一方で、実験等で注射器を複数使用する場合にスタンド等に注射器を立てた状態でセットされることが多く、操作部を挟持対象とすることは注射器の配置を密にして省スペース化を図る上で好ましい。つまり、注射器にて挟持対象とする部分の異なる2つの挟持部を併用することによる恩恵は大きい。
(【0011】以降は省略されています)
この特許をJ-PlatPat(特許庁公式サイト)で参照する
関連特許
個人
固定補助具
1か月前
個人
折りたたみ工具
27日前
川崎重工業株式会社
ロボット
4日前
株式会社三協システム
製函機
25日前
株式会社不二越
ロボット
3日前
株式会社竹中工務店
補助セット
3日前
CKD株式会社
把持装置
26日前
株式会社三協システム
移載装置
24日前
株式会社不二越
ロボットシステム
1か月前
株式会社不二越
ロボット操作装置
1か月前
SMC株式会社
着脱装置
25日前
日本精工株式会社
締結用工具
1か月前
太陽パーツ株式会社
アシストスーツ
27日前
株式会社ミクロブ
把持装置
26日前
株式会社不二越
移動ロボットシステム
6日前
ARMA株式会社
ジョイントフレーム
1か月前
トヨタ自動車株式会社
カプラ接続治具
1か月前
本田技研工業株式会社
装置
9日前
株式会社不二越
ロボットシステム
27日前
株式会社不二越
ロボットシステム
24日前
株式会社不二越
エッジ仕上げ装置
16日前
積水ハウス株式会社
フィルム除去具
2か月前
トヨタ自動車株式会社
歩行ロボット
1か月前
株式会社不二越
垂直多関節ロボット
17日前
大和ハウス工業株式会社
ねじ回転工具
25日前
アネックスツール株式会社
ドライバービット
2日前
シンフォニアテクノロジー株式会社
搬送装置
6日前
ダイハツ工業株式会社
移載治具
1か月前
株式会社不二越
協働ロボットシステム
2か月前
ライオン株式会社
移載システム
18日前
株式会社不二越
ロボットシステム
1か月前
ワールド技研株式会社
ロボットセル装置
3日前
シヤチハタ株式会社
マーキング装置
1か月前
セイコーエプソン株式会社
ロボット
1か月前
NTN株式会社
ハンド
4日前
セイコーエプソン株式会社
ロボット
2日前
続きを見る
他の特許を見る