TOP
|
特許
|
意匠
|
商標
特許ウォッチ
Twitter
他の特許を見る
公開番号
2025146332
公報種別
公開特許公報(A)
公開日
2025-10-03
出願番号
2024047050
出願日
2024-03-22
発明の名称
充電システム、車両及び充電スタンド
出願人
株式会社デンソー
代理人
名古屋国際弁理士法人
主分類
E05B
49/00 20060101AFI20250926BHJP(錠;鍵;窓または戸の付属品;金庫)
要約
【課題】充電対象の車両か否かを適切に判断して充電を実行可能な充電システムを提供する。
【解決手段】充電システム1において、充電スタンドのメモリ74は、車両20Aに対応する携帯機60Aから取得されるキー情報Aを記憶する。充電スタンド40のRF送信機43は、車両20Aへの充電が要求された場合には、メモリ74に記憶されたキー情報Aを車両20Aへと送信し、車両20Aにおいて認証が成立した場合には、車両20Aから送信される認証成立通知をLF受信記42で受信する。CPU41は、LF受信記42が認証成立通知を受信した場合には、車両20Aに対する充電を実行する。
【選択図】図1
特許請求の範囲
【請求項1】
車両(20A,20B,20C)と、充電スタンド(40)と、を含み、
前記車両は、
利用者が所持する携帯機(60A,60B,60C)と無線通信を行って、個々の前記携帯機を識別可能な第1情報を前記携帯機から受信する第1通信部(31,32)と、
第2情報を記憶する第1記憶部(30B)と、
前記第1通信部が受信する前記第1情報と前記第1記憶部が記憶する前記第2情報とに基づいて認証を行う認証部(30A)と、
前記認証部において認証が成立した場合に、前記車両に搭載された制御対象を制御して前記制御対象を作動させる第1制御部(30A)と、
を備え、
前記充電スタンドは、
前記車両に対応する前記携帯機から取得される前記第1情報を記憶する第2記憶部(74)と、
前記車両への充電が要求された場合には、前記車両と無線通信を行って、前記第2記憶部に記憶された前記第1情報を前記車両へと送信し、前記車両において認証が成立した場合には、前記車両と無線通信を行って、前記車両から送信される認証成立通知を受信する第2通信部(42,43)と、
前記第2通信部が前記認証成立通知を受信した場合には、前記車両に対する充電を実行する一方、前記第2通信部が前記認証成立通知を受信しない場合には、前記車両に対する充電を実行しない第2制御部(41)と、
を備え、
前記第1通信部は、前記車両への充電が要求された場合には、前記充電スタンドと無線通信を行って、前記第2記憶部に記憶された前記第1情報を前記充電スタンドから受信するように構成され(S303)、さらに、
前記第1通信部は、前記充電スタンドから受信する前記第1情報と前記第1記憶部が記憶する前記第2情報とに基づく認証が前記認証部によって行われて(S305)、その認証が成立した場合には(S307でYES)、前記充電スタンドと無線通信を行って、前記認証成立通知を前記充電スタンドへと送信する(S311)ように構成されている、
充電システム(1)。
続きを表示(約 3,400 文字)
【請求項2】
請求項1に記載の充電システムであって、
前記第1制御部は、前記車両が備えるドア又はトランクに付設された施錠装置と前記車両に搭載されたエンジン又はモーターとを前記制御対象として、前記施錠装置による前記ドア又は前記トランクの解錠/施錠と前記エンジン又はモーターの始動とを制御可能に構成され、
前記第1制御部、前記第1通信部及び前記認証部は、前記携帯機とともに、前記車両におけるパッシブエントリー/パッシブスタートシステムを構成している、
充電システム。
【請求項3】
請求項1に記載の充電システムであって、
前記第2記憶部は、少なくとも1つの前記車両に対応付けられた複数の前記携帯機それぞれから取得される複数の前記第1情報を記憶可能に構成されている、
充電システム。
【請求項4】
請求項3に記載の充電システムであって、
前記第2通信部は、前記第2記憶部に記憶された複数の前記第1情報を前記車両へと送信し(S403)、
前記第1通信部は、複数の前記第1情報を前記携帯機から受信し(S303)、
前記認証部は、前記第1通信部が受信する複数の前記第1情報それぞれと前記第1記憶部が記憶する前記第2情報とに基づいて複数回にわたって認証を繰り返し(S305)、その複数回にわたる認証のうちの1つの認証が成立した場合には(S307でYES)、前記充電スタンドと無線通信を行って、前記認証成立通知を前記充電スタンドへと送信する(S311)ように構成されている、
充電システム。
【請求項5】
請求項1に記載の充電システムであって、
前記第1通信部は、あらかじめ定められた作動条件が前記車両において成立した場合に、前記充電スタンドとの無線通信を開始するための要求信号を、無線通信で前記充電スタンドへ送信するように構成され、
前記充電スタンドは、前記要求信号を受信した場合に、前記第2記憶部に記憶された前記第1情報を前記車両へと送信するように構成されている、
充電システム。
【請求項6】
請求項5に記載の充電システムであって、
前記車両には、利用者によって充電開始が指示される場合に操作されるスイッチ(34)が設けられ、
前記第1通信部は、前記スイッチが操作された場合に、前記作動条件が前記車両において成立したと判断して、前記充電スタンドとの無線通信を開始するための要求信号を、無線通信で前記充電スタンドへ送信するように構成されている、
充電システム。
【請求項7】
請求項1に記載の充電システムであって、
前記第2制御部は、前記第2通信部が前記認証成立通知を受信しない場合に(S407又はS409でYES)、記録媒体への情報の記録、伝送先への情報の伝送、及び周囲への警報の発報のうちの少なくとも1つを含む防犯処理(S411)を実行するように構成されている、
充電システム。
【請求項8】
請求項1に記載の充電システムであって、
前記第2通信部は、前記第2制御部が前記車両に対する充電を実行している際に、充電の進行状況を前記車両に対して通知するための充電状況通知を送信する(S415)ように構成され、
前記第1通信部は、前記充電状況通知を前記充電スタンドから受信する(S315)ように構成され、
前記第1制御部は、前記第1通信部が前記充電状況通知を受信した場合に(S315でYES)、前記充電状況通知に基づいて、前記充電の進行状況を利用者が認識可能な情報として情報出力部から出力する(S331)ように構成されている、
充電システム。
【請求項9】
充電スタンド(40)とともに充電システム(1)を構成する車両(20A,20B,20C)であって、
前記車両は、
利用者が所持する携帯機(60A,60B,60C)と無線通信を行って、個々の前記携帯機を識別可能な第1情報を前記携帯機から受信する第1通信部(31,32)と、
第2情報を記憶する第1記憶部(30B)と、
前記第1通信部が受信する前記第1情報と前記第1記憶部が記憶する前記第2情報とに基づいて認証を行う認証部(30A)と、
前記認証部において認証が成立した場合に、前記車両に搭載された制御対象を制御して前記制御対象を作動させる第1制御部(30A)と、
を備え、
前記充電スタンドは、
前記車両に対応する前記携帯機から取得される前記第1情報を記憶する第2記憶部(74)と、
前記車両への充電が要求された場合には、前記車両と無線通信を行って、前記第2記憶部に記憶された前記第1情報を前記車両へと送信し、前記車両において認証が成立した場合には、前記車両と無線通信を行って、前記車両から送信される認証成立通知を受信する第2通信部(42,43)と、
前記第2通信部が前記認証成立通知を受信した場合には、前記車両に対する充電を実行する一方、前記第2通信部が前記認証成立通知を受信しない場合には、前記車両に対する充電を実行しない第2制御部(41)と、
を備え、
前記第1通信部は、前記車両への充電が要求された場合には、前記充電スタンドと無線通信を行って、前記第2記憶部に記憶された前記第1情報を前記充電スタンドから受信するように構成され(S303)、さらに、
前記第1通信部は、前記充電スタンドから受信する前記第1情報と前記第1記憶部が記憶する前記第2情報とに基づく認証が前記認証部によって行われて(S305)、その認証が成立した場合には(S307でYES)、前記充電スタンドと無線通信を行って、前記認証成立通知を前記充電スタンドへと送信する(S311)ように構成されている、
車両。
【請求項10】
車両(20A,20B,20C)とともに充電システム(1)を構成する充電スタンド(40)であって、
前記車両は、
利用者が所持する携帯機(60A,60B,60C)と無線通信を行って、個々の前記携帯機を識別可能な第1情報を前記携帯機から受信する第1通信部(31,32)と、
第2情報を記憶する第1記憶部(30B)と、
前記第1通信部が受信する前記第1情報と前記第1記憶部が記憶する前記第2情報とに基づいて認証を行う認証部(30A)と、
前記認証部において認証が成立した場合に、前記車両に搭載された制御対象を制御して前記制御対象を作動させる第1制御部(30A)と、
を備え、
前記充電スタンドは、
前記車両に対応する前記携帯機から取得される前記第1情報を記憶する第2記憶部(74)と、
前記車両への充電が要求された場合には、前記車両と無線通信を行って、前記第2記憶部に記憶された前記第1情報を前記車両へと送信し、前記車両において認証が成立した場合には、前記車両と無線通信を行って、前記車両から送信される認証成立通知を受信する第2通信部(42,43)と、
前記第2通信部が前記認証成立通知を受信した場合には、前記車両に対する充電を実行する一方、前記第2通信部が前記認証成立通知を受信しない場合には、前記車両に対する充電を実行しない第2制御部(41)と、
を備え、
前記第1通信部は、前記車両への充電が要求された場合には、前記充電スタンドと無線通信を行って、前記第2記憶部に記憶された前記第1情報を前記充電スタンドから受信するように構成され(S303)、さらに、
前記第1通信部は、前記充電スタンドから受信する前記第1情報と前記第1記憶部が記憶する前記第2情報とに基づく認証が前記認証部によって行われて(S305)、その認証が成立した場合には(S307でYES)、前記充電スタンドと無線通信を行って、前記認証成立通知を前記充電スタンドへと送信する(S311)ように構成されている、
充電スタンド。
発明の詳細な説明
【技術分野】
【0001】
本開示は、充電システム、車両及び充電スタンドに関する。
続きを表示(約 2,000 文字)
【背景技術】
【0002】
バッテリー電気自動車(以下BEVと略称する。)やプラグインハイブリッド電気自動車(以下PHEVと略称する。)に搭載される駆動用バッテリーを充電可能な充電スタンドが実用化されている。また、下記特許文献1には、充電スタンドと電子キーシステムとを連携させる技術が開示されている。
【0003】
下記特許文献1に記載の技術によれば、電気自動車の充電期間中に車両の利用者が電子キーとなる携帯機を紛失した場合に、充電スタンドに備わる取り外し可能な携帯通信機探索ユニットを利用して携帯機を探索することができる。
【先行技術文献】
【特許文献】
【0004】
特開2014-024458号公報
【発明の概要】
【発明が解決しようとする課題】
【0005】
本件発明者は、上述のような充電スタンドを、自宅の駐車場等に設置するための技術について検討を行っている。このような場所に充電スタンドを設置する場合、自分の車や家族の車には充電ができるようにしたい。その一方、他人の車が、許可無く勝手に充電をするようなことは未然に防止したい。また、場合によっては、友人の車に充電を許可したいことがある。
【0006】
一般に、特定の利用者のみに設備の利用を許可するための仕組みとしては、設備の利用時にパスワードや暗証番号(以下、パスワード等と総称する。)の入力を求め、適正なパスワード等が入力された場合に設備が利用可能となる、といった認証システムを採用する場合がある。
【0007】
しかし、そのような認証システムを採用した場合には、適正な利用者が充電スタンドを利用する場合であっても、充電スタンドを利用するたびにパスワード等の入力が必要となり、その入力操作に相応の手間がかかる。また、パスワード等を忘れないようにすることや、パスワード等を他人に知られないようにすることなど、パスワード等を適切に管理することも必要になる。
【0008】
このような背景の下、本件発明者は、充電スタンドをより簡便に利用できるようにするための仕組みについて検討し、本開示の技術思想に想到した。本開示の一局面においては、充電対象の車両か否かを適切に判断して充電を実行可能な充電システムを提供することが望ましい。
【課題を解決するための手段】
【0009】
本開示の一態様は、充電システム(1)であって、車両(20A,20B,20C)と、充電スタンド(40)と、を含む。車両は、第1通信部(31,32)と、第1記憶部(30B)と、認証部(30A)と、第1制御部(30A)と、を備える。第1通信部は、利用者が所持する携帯機(60A,60B,60C)と無線通信を行って、個々の携帯機を識別可能な第1情報を携帯機から受信する。第1記憶部は、第2情報を記憶する。認証部は、第1通信部が受信する第1情報と第1記憶部が記憶する第2情報とに基づいて認証を行う。第1制御部は、認証部において認証が成立した場合に、車両に搭載された制御対象を制御して制御対象を作動させる。充電スタンドは、第2記憶部(74)と、第2通信部(42,43)と、第2制御部(41)と、を備える。第2記憶部は、車両に対応する携帯機から取得される第1情報を記憶する。第2通信部は、車両への充電が要求された場合には、車両と無線通信を行って、第2記憶部に記憶された第1情報を車両へと送信し、車両において認証が成立した場合には、車両と無線通信を行って、車両から送信される認証成立通知を受信する。第2制御部は、第2通信部が認証成立通知を受信した場合には、車両に対する充電を実行する一方、第2通信部が認証成立通知を受信しない場合には、車両に対する充電を実行しない。第1通信部は、車両への充電が要求された場合には、充電スタンドと無線通信を行って、第2記憶部に記憶された第1情報を充電スタンドから受信するように構成され(S303)、さらに、第1通信部は、充電スタンドから受信する第1情報と第1記憶部が記憶する第2情報とに基づく認証が認証部によって行われて(S305)、その認証が成立した場合には(S307でYES)、充電スタンドと無線通信を行って、認証成立通知を充電スタンドへと送信する(S311)ように構成されている。
【0010】
このように構成される充電システムにおいて、車両及び携帯機は、車両に搭載された制御対象を制御する制御システムを構成している。また、車両及び充電スタンドは、車両への充電が可能な充電システムを構成している。このような充電システムを構成するに当たって、第2記憶部には、車両に対応する携帯機から取得される第1情報が記憶される。
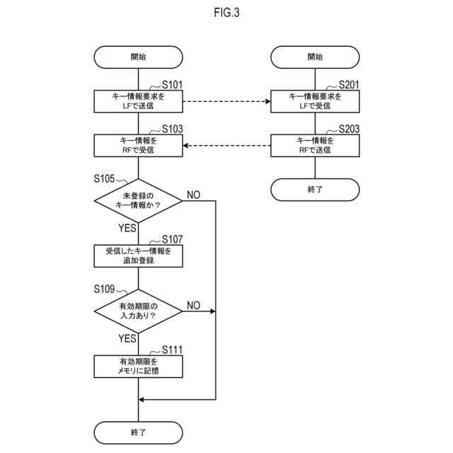
(【0011】以降は省略されています)
この特許をJ-PlatPat(特許庁公式サイト)で参照する
関連特許
株式会社デンソー
接合体
17日前
株式会社デンソー
車載器
3日前
株式会社デンソー
ステータ
18日前
株式会社デンソーエレクトロニクス
発音装置
7日前
株式会社デンソー
書込装置
1か月前
株式会社デンソー
ねじ部材
3日前
株式会社デンソーエレクトロニクス
発音装置
25日前
株式会社デンソー
測距装置
1か月前
株式会社デンソー
電子装置
1か月前
株式会社デンソー
ステータ
18日前
株式会社デンソー
電子装置
7日前
株式会社デンソー
駆動装置
1か月前
株式会社デンソー
光学部材
28日前
株式会社デンソー
太陽電池
19日前
株式会社デンソー
ステータ
3日前
株式会社デンソー
ステータ
3日前
株式会社デンソー
平滑回路
27日前
株式会社デンソー
通信装置
1か月前
株式会社デンソー
半導体装置
3日前
株式会社デンソー
レーダ装置
7日前
株式会社デンソー
回転体装置
1か月前
株式会社デンソー
ガスセンサ
1か月前
株式会社デンソー
センサ素子
1か月前
株式会社デンソー
温度検出装置
1か月前
株式会社デンソー
ステータコア
10日前
株式会社デンソー
電力変換装置
11日前
株式会社デンソー
通信システム
26日前
株式会社デンソー
フィルタ回路
11日前
株式会社デンソー
光位相変調器
17日前
株式会社デンソー
装置及び方法
26日前
株式会社デンソー
電力変換装置
1か月前
株式会社デンソー
電波吸収装置
7日前
株式会社デンソー
電子制御装置
1か月前
株式会社デンソー
電圧変換回路
18日前
株式会社デンソー
電気化学セル
7日前
株式会社デンソー
電力変換装置
1か月前
続きを見る
他の特許を見る