TOP
|
特許
|
意匠
|
商標
特許ウォッチ
Twitter
他の特許を見る
10個以上の画像は省略されています。
公開番号
2025145086
公報種別
公開特許公報(A)
公開日
2025-10-03
出願番号
2024045092
出願日
2024-03-21
発明の名称
中継システム、中継装置、及びプログラム
出願人
株式会社デンソー
代理人
名古屋国際弁理士法人
主分類
H04L
12/46 20060101AFI20250926BHJP(電気通信技術)
要約
【課題】通信速度の異なる複数種類の下位プロトコルを用い、かつ、上位プロトコルの変換を伴う中継システムにおいて通信効率を向上させ。
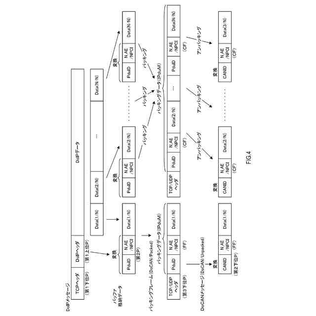
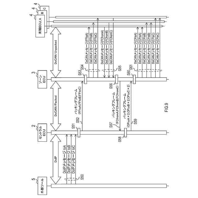
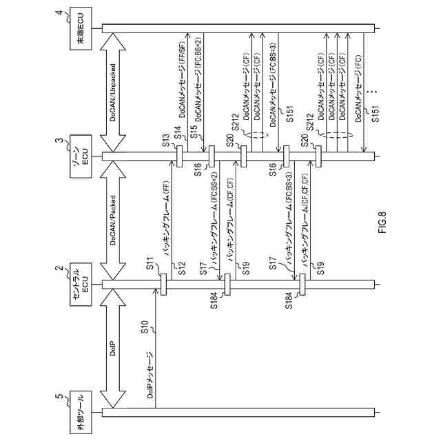
【解決手段】車載システムにおいて、セントラルECU2のプロトコル変換部21、24は、外部ツールとの間で送受信される第1メッセージと、末端ECUとの間で送受信される第2メッセージとを相互に変換する。パッキング部22は、プロトコル変換部21から供給される1つ以上の第2メッセージを結合した結合メッセージを、第3下位プロトコルによってゾーンECU3に送信する。アンパッキング部23は、第3下位プロトコルによってソーンECU3から受信する結合メッセージから、1つ以上の第2メッセージを抽出して、プロトコル変換部24に供給する。
【選択図】図3
特許請求の範囲
【請求項1】
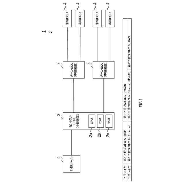
第1電子装置(5)と第2電子装置(4)との通信を中継する中継システムであって、
第1下位プロトコルにより前記第1電子装置と接続され、第1上位プロトコルを用いて前記第1電子装置とのデータの授受を行い、第2上位プロトコルを用いて前記第2電子装置とのデータの授受を行うように構成された第1中継装置(2)と、
第2下位プロトコルにより前記第2電子装置と接続され、前記第2下位プロトコルより長いペイロードを有したフレームを使用する第3下位プロトコルにより前記第1中継装置と接続された第2中継装置(3)と、
を備え、
前記第1中継装置は、
前記第1電子装置との間で送受信される前記第1上位プロトコル及び前記第1下位プロトコルを用いる第1メッセージと、前記第2上位プロトコル及び前記第2下位プロトコルを用いる第2メッセージとを相互に変換するように構成されたプロトコル変換部(21,24)と、
前記プロトコル変換部から供給される1つ以上の前記第2メッセージを結合した結合メッセージを、前記第3下位プロトコルによって前記第2中継装置に送信するように構成された第1パッキング部(22)と、
前記第3下位プロトコルによって前記第2中継装置から受信する前記結合メッセージから、1つ以上の前記第2メッセージを抽出して、前記プロトコル変換部に供給するように構成された第1アンパッキング部(23)と、
を備え、
前記第2中継装置は、
前記第2電子装置から受信する1つ以上の前記第2メッセージを結合した前記結合メッセージを、前記第3下位プロトコルによって前記第1中継装置に送信するように構成された第2パッキング部(32)と、
前記第3下位プロトコルによって前記第1中継装置から受信する前記結合メッセージを分離することで得られる1つ以上の前記第2メッセージを、個別に前記第2電子装置に送信するように構成された第2アンパッキング部(31)と、
を備える、
中継システム。
続きを表示(約 2,000 文字)
【請求項2】
請求項1に記載の中継システムであって、
前記第1上位プロトコルがDoIPであり、
前記第2上位プロトコルがDoCANである、
中継システム。
【請求項3】
請求項1に記載の中継システムであって、
前記第1下位プロトコルが、イーサネットであり、
前記第2下位プロトコルが、CAN又はCAN FDであり、
前記第3下位プロトコルが、CAN FD,CAN XL,イーサネット且つAUTOSARのIPduM、又はイーサネット且つIEEE1722のいずれかである
中継システム。
【請求項4】
請求項1に記載の中継システムであって、
前記第1パッキング部及び前記第2パッキング部は、前記第2メッセージの種類を識別する識別情報に従って、前記第2メッセージの結合の要否を判定するように構成された
中継システム。
【請求項5】
請求項1に記載の中継システムであって、
前記第2アンパッキング部は、復元された複数の前記第2メッセージを、前記第2電子装置へ送信するときに用いる送信間隔を、前記第1中継装置から送信される情報に基づいて変更するように構成された、
中継システム。
【請求項6】
請求項1に記載の中継システムであって、
前記第2パッキング部は、結合される前記第2メッセージの合計長が、上限値に達すること、及び前回の送信から一定時間が経過することのうち、少なくともいずれかが成立した場合に、前記第1中継装置への送信を行うように構成された
中継システム。
【請求項7】
第1下位プロトコルにより第1電子装置と接続され、第2下位プロトコルにより第2電子装置と接続されたサブ中継装置と共に、前記第1電子装置と前記第2電子装置との通信を中継する中継システムを構成する中継装置であって、
前記第1電子装置との間で送受信される第1上位プロトコル及び前記第1下位プロトコルを用いる第1メッセージと、第2上位プロトコル及び前記第2下位プロトコルを用いる第2メッセージとを相互に変換するように構成されたプロトコル変換部と、
前記プロトコル変換部から供給される1つ以上の前記第2メッセージを結合した結合メッセージを、前記第2下位プロトコルより長いペイロードを有したフレームを使用する第3下位プロトコルによって前記サブ中継装置に送信するように構成された第1パッキング部と、
前記第3下位プロトコルによって前記第2中継装置から受信する前記結合メッセージから、1つ以上の前記第2メッセージを抽出して、前記プロトコル変換部に供給するように構成された第1アンパッキング部と、
を備える、中継装置。
【請求項8】
コンピュータを、
第1下位プロトコルにより第1電子装置と接続され、第1上位プロトコルを用いて前記第1電子装置とのデータの授受を行い、第2上位プロトコルを用いて第2電子装置とのデータの授受を行うように構成された第1中継装置と、
第2下位プロトコルにより前記第2電子装置と接続され、前記第2下位プロトコルより長いペイロードを有したフレームを使用する第3下位プロトコルにより前記第1中継装置と接続され、前記第1電子装置と前記第2電子装置との通信を中継する中継システムを前記第1中継装置と共に構成する第2中継装置と、
として機能させるためのプログラムであって、
前記第1中継装置は、
前記第1電子装置との間で送受信される前記第1上位プロトコル及び前記第1下位プロトコルを用いる第1メッセージと、前記第2上位プロトコル及び前記第2下位プロトコルを用いる第2メッセージとを相互に変換するように構成されたプロトコル変換部と、
前記プロトコル変換部から供給される1つ以上の前記第2メッセージを結合した結合メッセージを、前記第3下位プロトコルによって前記第2中継装置に送信するように構成された第1パッキング部と、
前記第3下位プロトコルによって前記第2中継装置から受信する前記結合メッセージから、1つ以上の前記第2メッセージを抽出して、前記プロトコル変換部に供給するように構成された第1アンパッキング部と、
を備え、
前記第2中継装置は、
前記第2電子装置から受信する1つ以上の前記第2メッセージを結合した前記結合メッセージを、前記第3下位プロトコルによって前記第1中継装置に送信するように構成された第2パッキング部と、
前記第3下位プロトコルによって前記第1中継装置から受信する前記結合メッセージを分離することで得られる1つ以上の前記第2メッセージを、個別に前記第2電子装置に送信するように構成された第2アンパッキング部と、
を備える、
プログラム。
発明の詳細な説明
【技術分野】
【0001】
本開示は、複数の電子制御装置間でデータを中継する技術に関する。
続きを表示(約 1,700 文字)
【背景技術】
【0002】
ゾーンアーキテクチャを採用する車載ネットワークでは、CAN通信を利用するECUは、ゾーンECUの配下に接続され、ゾーンECU同士、及びゾーンECUとセントラルECUとは、イーサネットやCAN FD等、CANよりも高速なバスにて接続される。CAN、及びイーサネットは登録商標である。イーサネットやCAN FDにて、低速かつメッセージサイズが小さいCAN通信のフレームを逐次中継すると、通信効率が低下する。
【0003】
下記特許文献1には、複数のCANメッセージをイーサネットフレームにパッキングして中継を行う技術が記載されている。
【先行技術文献】
【特許文献】
【0004】
特開2022-91585号公報
【発明の概要】
【発明が解決しようとする課題】
【0005】
ところで、イーサネットにおける診断通信であるDoIPが普及している。しかしながら、現段階では、車両内には、通信インタフェースとしてCANしか持たないECUが多数存在する。CANは、登録商標である。従って、DoIPを用いるイーサネットの外部ツールで、ECUの診断を行うには、DoIPとDoCANとの間で相互にプロトコル変換を行う必要がある。
【0006】
しかしながら、発明者の詳細な検討の結果、特許文献1に記載の従来技術は、単純にメッセージをパッキングして、下位レイヤのプロトコル(以下、下位プロトコル)を変換するのみである。従って、種々の上位レイヤのプロトコル(以下、上位プロトコル)が使用される中継システムに、従来技術を適用した場合、機能が不十分であるという課題が見出された。
【0007】
本開示の1つの局面は、通信速度の異なる複数種類の下位プロトコルを用い、かつ上位プロトコルの変換を伴う中継システムにおいて通信効率を向上させる技術を提供する。
【課題を解決するための手段】
【0008】
本開示の一態様は、第1電子装置(5)と第2電子装置(4)との通信を中継する中継システムであって、第1中継装置(2)と、第2中継装置(3)と、を備える。第1中継装置は、第1下位プロトコルにより第1電子装置と接続され、第1上位プロトコルを用いて第1電子装置とのデータの授受を行い、第2上位プロトコルを用いて第2電子装置とのデータの授受を行うように構成される。第2中継装置は、第2下位プロトコルにより第2電子装置と接続され、第2下位プロトコルより長いペイロードを有したフレームを使用する第3下位プロトコルにより第1中継装置と接続される。
【0009】
第1中継装置は、プロトコル変換部(21,24)と、第1パッキング部(22)と、第1アンパッキング部(23)と、を備える。プロトコル変換部は、第1電子装置との間で送受信される第1上位プロトコル及び第1下位プロトコルを用いる第1メッセージと、第2上位プロトコル及び第2下位プロトコルを用いる第2メッセージとを相互に変換するように構成される。第1パッキング部は、プロトコル変換部から供給される1つ以上の第2メッセージを結合した結合メッセージを、第3下位プロトコルによって第2中継装置に送信するように構成される。第1アンパッキング部は、第3下位プロトコルによって第2中継装置から受信する結合メッセージから、1つ以上の第2メッセージを抽出して、プロトコル変換部に供給するように構成される。
【0010】
第2中継装置は、第2パッキング部(32)と、第2アンパッキング部(31)と、を備える。第2パッキング部は、第2電子装置から受信する1つ以上の第2メッセージを結合した結合メッセージを、第3下位プロトコルによって第1中継装置に送信するように構成される。第2アンパッキング部は、第3下位プロトコルによって第1中継装置から受信する結合メッセージを分離することで得られる1つ以上の第2メッセージを、個別に第2電子装置に送信するように構成される。
(【0011】以降は省略されています)
この特許をJ-PlatPat(特許庁公式サイト)で参照する
関連特許
株式会社デンソー
車載器
5日前
株式会社デンソー
接合体
19日前
株式会社デンソー
電子装置
今日
株式会社デンソー
光学部材
1か月前
株式会社デンソー
電子装置
9日前
株式会社デンソーエレクトロニクス
発音装置
9日前
株式会社デンソー
ステータ
20日前
株式会社デンソー
ステータ
20日前
株式会社デンソー
太陽電池
21日前
株式会社デンソー
ステータ
5日前
株式会社デンソー
ステータ
5日前
株式会社デンソー
平滑回路
29日前
株式会社デンソーエレクトロニクス
発音装置
27日前
株式会社デンソー
ねじ部材
5日前
株式会社デンソー
駆動装置
1か月前
株式会社デンソー
書込装置
1か月前
株式会社デンソー
通信装置
1か月前
株式会社デンソー
測距装置
1か月前
株式会社デンソー
電子装置
1か月前
株式会社デンソー
ガスセンサ
1か月前
株式会社デンソー
半導体装置
5日前
株式会社デンソー
農業用装置
1日前
株式会社デンソー
センサ素子
1か月前
株式会社デンソー
回転体装置
1か月前
株式会社デンソー
レーダ装置
9日前
株式会社デンソー
制御システム
12日前
株式会社デンソー
電力変換装置
1か月前
株式会社デンソー
電波吸収装置
9日前
株式会社デンソーエアクール
換気空調装置
6日前
株式会社デンソー
電子制御装置
9日前
株式会社デンソー
通信システム
9日前
株式会社デンソー
電気化学セル
9日前
株式会社デンソー
電子制御装置
1か月前
株式会社デンソー
フィルタ回路
13日前
株式会社デンソー
電力変換装置
13日前
株式会社デンソー
中継システム
1か月前
続きを見る
他の特許を見る