TOP
|
特許
|
意匠
|
商標
特許ウォッチ
Twitter
他の特許を見る
10個以上の画像は省略されています。
公開番号
2025139749
公報種別
公開特許公報(A)
公開日
2025-09-29
出願番号
2024038756
出願日
2024-03-13
発明の名称
虚像表示装置及び光学ユニット
出願人
セイコーエプソン株式会社
代理人
個人
,
個人
,
個人
主分類
G02B
27/02 20060101AFI20250919BHJP(光学)
要約
【課題】光学系に組み込まれた波長板の複屈折特性を向上させること。
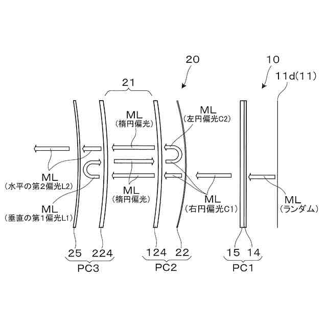
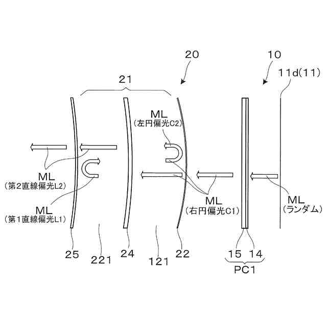
【解決手段】虚像表示装置100Aは、円偏光の映像光MLを射出する表示器10と、映像光MLを反射によって2回折り返して虚像を形成する光学部材20とを備え、光学部材20は、レンズ部材21と、レンズ部材21の表示器10に近い第1光学面21aに対向して設けられる透過型の反射光学素子22と、レンズ部材21の表示器10から遠い第2光学面21bに対向して設けられる、第1偏光L1つまり第1偏光方向の直線偏光である映像光MLを反射する反射型の偏光光学素子25と、反射光学素子22と偏光光学素子25との間に設けられ、光架橋性高分子液晶材料で形成され、反射光学素子22を通過した映像光MLを第1偏光L1つまり第1偏光方向の直線偏光にし、反射光学素子22で反射されて往復する映像光MLを第2偏光方向の第2直線偏光L2にする波長板124,224とを有する。
【選択図】図2
特許請求の範囲
【請求項1】
円偏光の映像光を射出する表示器と、
前記映像光を反射によって2回折り返して虚像を形成する光学部材と、を備え、
前記光学部材は、
レンズ部材と、
前記レンズ部材の前記表示器に近い第1光学面に対向して設けられる透過型の反射光学素子と、
前記レンズ部材の前記表示器から遠い第2光学面に対向して設けられる、第1偏光方向の直線偏光である映像光を反射する反射型の偏光光学素子と、
前記反射光学素子と前記偏光光学素子との間に設けられ、液晶材料で形成され、前記反射光学素子を通過した前記映像光を第1偏光方向の直線偏光にし、前記反射光学素子で反射されて往復する前記映像光を第2偏光方向の直線偏光にする波長板とを有する、
虚像表示装置。
続きを表示(約 610 文字)
【請求項2】
前記液晶材料は、光架橋性高分子液晶材料である、請求項1に記載の虚像表示装置。
【請求項3】
前記光架橋性高分子液晶材料は、紫外線硬化型である、請求項2に記載の虚像表示装置。
【請求項4】
前記波長板は、前記光架橋性液晶材料によって形成された薄膜に偏光状態が制御された紫外線を照射し、前記薄膜をアニールすることによって形成される、請求項2に記載の虚像表示装置。
【請求項5】
前記波長板は、前記第2光学面と前記偏光光学素子との間に設けられる、請求項1に記載の虚像表示装置。
【請求項6】
前記波長板は、前記第1光学面と前記反射光学素子との間に設けられる、請求項1に記載の虚像表示装置。
【請求項7】
前記波長板は、前記第1光学面と前記反射光学素子との間と、前記第2光学面と前記偏光光学素子との間とに分割して設けられる、請求項1に記載の虚像表示装置。
【請求項8】
前記波長板は、前記レンズ部材の内部に埋め込まれる、請求項1に記載の虚像表示装置。
【請求項9】
前記偏光光学素子は、ワイヤーグリッド層を持つ反射偏光子である、請求項1に記載の虚像表示装置。
【請求項10】
前記第1光学面は、凸面である、請求項1に記載の虚像表示装置。
(【請求項11】以降は省略されています)
発明の詳細な説明
【技術分野】
【0001】
本発明は、虚像の観察を可能にする虚像表示装置及び光学ユニットに関し、特に非シースルー型の虚像表示装置等に関する。
続きを表示(約 2,100 文字)
【背景技術】
【0002】
虚像表示装置として、画像を表示する映像素子と、映像光の取出し位置に配置される第1光学部と、第1光学部よりも映像素子側に配置される第2光学部と、第1光学部と第2光学部との接合部に形成されるフレネルタイプのハーフミラーと、第1光学部の光射出側に設けられ、光の偏光状態に応じて透過または反射を選択的に行う透過反射選択部材とを備えるものが公知となっている(特許文献1)。
【先行技術文献】
【特許文献】
【0003】
特開2020-24246号公報
【発明の概要】
【発明が解決しようとする課題】
【0004】
上記特許文献1の装置では、第1光学部と第2光学部との間にフレネルタイプのハーフミラーを組み込むので、光学部の表面形状が複雑化し、ハーフミラーでの反射や通過に際して結像が劣化する可能性がある。
【0005】
なお、上記特許文献1の装置は、フレネルタイプのレンズを内蔵する平板を結像系として用いているが、平板に代えてメニスカスレンズを用いることも考えられる。しかしながら、平板に代えてメニスカスレンズを用いる場合、曲面上に透過反射選択部材を構成する1/4波長板を形成することになり、その湾曲により、1/4波長板の複屈折特性が変化し、所望の位相差効果が得られない可能性がある。また、1/4波長板を貼り付ける際に複屈折特性に影響を与える可能性もある。
【課題を解決するための手段】
【0006】
本発明の一側面における虚像表示装置は、円偏光の映像光を射出する表示器と、映像光を反射によって2回折り返して虚像を形成する光学部材と、を備え、光学部材は、レンズ部材と、レンズ部材の表示器に近い第1光学面に対向して設けられる透過型の反射光学素子と、レンズ部材の表示器から遠い第2光学面に対向して設けられる、第1偏光方向の直線偏光である映像光を反射する反射型の偏光光学素子と、反射光学素子と偏光光学素子との間に設けられ、液晶材料で形成され、反射光学素子を通過した映像光を第1偏光方向の直線偏光にし、反射光学素子で反射されて往復する映像光を第2偏光方向の直線偏光にする波長板とを有する。
【図面の簡単な説明】
【0007】
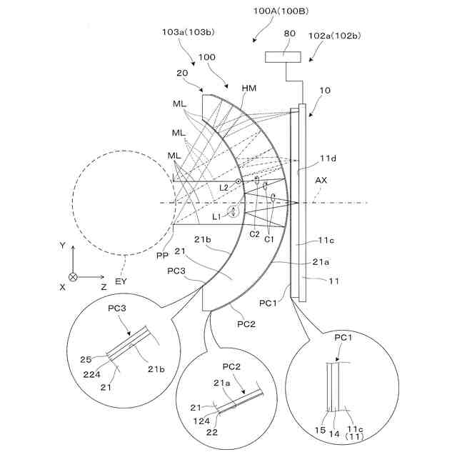
第1実施形態の虚像表示装置の装着状態を説明する外観斜視図である。
表示光学系の光学的構造を説明する側面図である。
第1波長板及び第2波長板の作製を説明する図である。
第1実施形態の虚像表示装置の光学的な動作を説明する概念図である。
第2実施形態の虚像表示装置を説明する図である。
第2実施形態の虚像表示装置の光学的な動作を説明する概念図である。
第3実施形態の虚像表示装置を説明する図である。
第4実施形態の虚像表示装置を説明する図である。
第4実施形態の虚像表示装置の光学的な動作を説明する概念図である。
第5実施形態の虚像表示装置を説明する図である。
第6実施形態の虚像表示装置を説明する図である。
【発明を実施するための形態】
【0008】
〔第1実施形態〕
以下、図1~3を参照して、本発明の第1実施形態に係る虚像表示装置等について説明する。
【0009】
図1は、ヘッドマウントディスプレイ、すなわち頭部装着型表示装置200の装着状態を説明する斜視図である。頭部装着型表示装置(以下、HMDとも称する。)200は、これを装着する観察者又は装着者USに虚像としての映像を認識させる。図1等において、X、Y、及びZは、直交座標系であり、+X方向は、HMD200を装着した観察者又は装着者USの両眼EYの並ぶ横方向に対応し、+Y方向は、装着者USにとっての両眼EYの並ぶ横方向に直交する上方向に相当し、+Z方向は、装着者USにとっての前方向又は正面方向に相当する。±Y方向は、鉛直軸又は鉛直方向に平行になっている。
【0010】
HMD200は、右眼用の第1虚像表示装置100Aと、左眼用の第2虚像表示装置100Bと、虚像表示装置100A,100Bを支持する一対のテンプル100Cと、情報端末であるユーザー端末90とを備える。第1虚像表示装置100Aは、上部に配置される第1表示駆動部102aと、眼前を覆う第1表示光学系103aとで構成される。第2虚像表示装置100Bは、上部に配置される第2表示駆動部102bと、眼前を覆う第2表示光学系103bとで構成される。第1虚像表示装置100Aと、第2虚像表示装置100Bとを組み合わせたHMD200は、広義の虚像表示装置でもある。一対のテンプル100Cは、外観上一体化されている表示駆動部102a,102bを介して一対の表示光学系103a,103bの上端側を支持している。一対の表示駆動部102a,102bを組み合わせたものを駆動装置102と呼ぶ。
(【0011】以降は省略されています)
この特許をJ-PlatPat(特許庁公式サイト)で参照する
関連特許
アイカ工業株式会社
反射防止フィルム
6日前
キヤノン株式会社
映像表示装置
19日前
インターマン株式会社
立体映像表示装置
19日前
スタンレー電気株式会社
照明装置
1日前
日本分光株式会社
赤外顕微鏡
5日前
旭化成株式会社
成形体
5日前
個人
透過型及び反射型顕微鏡
19日前
旭化成株式会社
成形体
5日前
キヤノン株式会社
レンズ装置および撮像装置
7日前
キヤノン株式会社
画像表示装置
5日前
キヤノン株式会社
画像表示装置
27日前
レーザーテック株式会社
検査装置及び検査方法
9日前
キヤノン株式会社
表示装置
12日前
株式会社小糸製作所
画像生成装置
28日前
東レ株式会社
先端に凸面を有する光ファイバ
19日前
株式会社小糸製作所
画像投影装置
19日前
日東電工株式会社
光学積層体
20日前
株式会社小糸製作所
画像投影装置
20日前
キヤノン株式会社
光学系及び撮像装置
13日前
住友化学株式会社
複合偏光板及び画像表示装置
7日前
KDDI株式会社
光増幅器
19日前
セイコーエプソン株式会社
虚像表示装置
9日前
KDDI株式会社
光増幅器
19日前
エピフォトニクス株式会社
光導波路素子
6日前
KDDI株式会社
光増幅器
6日前
KDDI株式会社
光増幅器
6日前
東レ株式会社
黒色樹脂組成物
5日前
遠視界科技股分有限公司
高視野角拡大装置
21日前
株式会社フォトニックラティス
透過型光学顕微鏡
13日前
レーザーテック株式会社
波長変換装置及び波長変換方法
13日前
住友ベークライト株式会社
電子調光デバイス
5日前
住友ベークライト株式会社
電子調光デバイス
5日前
住友ベークライト株式会社
電子調光デバイス
5日前
TOPPANホールディングス株式会社
調光シート
21日前
キヤノン株式会社
映像表示装置
9日前
TOPPANホールディングス株式会社
調光シート
21日前
続きを見る
他の特許を見る