TOP
|
特許
|
意匠
|
商標
特許ウォッチ
Twitter
他の特許を見る
10個以上の画像は省略されています。
公開番号
2025139986
公報種別
公開特許公報(A)
公開日
2025-09-29
出願番号
2024039104
出願日
2024-03-13
発明の名称
振動子製造装置および振動子の製造方法
出願人
株式会社デンソー
,
トヨタ自動車株式会社
,
株式会社ミライズテクノロジーズ
,
株式会社豊田中央研究所
代理人
弁理士法人ゆうあい特許事務所
主分類
C03B
23/035 20060101AFI20250919BHJP(ガラス;鉱物またはスラグウール)
要約
【課題】三次元曲面形状を有する曲面部を有し、当該曲面部への表面凹凸転写を抑制しつつ、高対称な形状の振動子を製造可能な振動子製造装置および該振動子の製造方法を提供する。
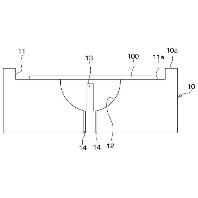
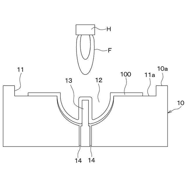
【解決手段】三次元曲面を有する曲面部を備える振動子の製造装置は、熱源に面する上面10aに形成される凹部であるザグリ部11と、ザグリ部11の底面11aに形成される凹部であるキャビティ12と、を有する型10を備える。ザグリ部11は、振動子を構成するリフロー材料によりなる板材100が配置される部位である。キャビティ12の最大径は、ザグリ部11の底面11aの最大径よりも小さい。振動子の製造方法では、ザグリ部11を有する型10に板材100をセットし、熱源により板材100を軟化させつつ、キャビティ12を負圧にし、差圧変形により三次元曲面を形成する。
【選択図】図4
特許請求の範囲
【請求項1】
三次元曲面を有する曲面部(21)を備える振動子(2)を製造するための振動子製造装置であって、
リフロー材料によりなる板材(100)を軟化させる熱源に面する上面(10a)に形成され、前記板材が配置される凹部であるザグリ部(11)と、前記ザグリ部の底面(11a)に形成される凹部であるキャビティ(12)と、前記キャビティに形成され、前記板材と前記キャビティにより閉塞される空間を負圧にする負圧源に接続される通気孔(14)とを備える型(10)を有し、
前記ザグリ部は、前記板材よりも最大径が大きく、
前記キャビティは、前記ザグリ部の底面よりも最大径が小さい、振動子製造装置。
続きを表示(約 710 文字)
【請求項2】
前記ザグリ部は、前記上面に対する法線方向から見たときの外形が点対称である、請求項1に記載の振動子製造装置。
【請求項3】
前記ザグリ部は、前記上面に対する法線方向から見たときの外形が円形である、請求項2に記載の振動子製造装置。
【請求項4】
前記ザグリ部は、前記上面に対する法線方向から見たときの外形が線対称である、請求項1に記載の振動子製造装置。
【請求項5】
前記ザグリ部は、前記板材を配置したとき、前記板材の外郭の一部または全部と嵌合する位置決め部(111)を有する、請求項1に記載の振動子製造装置。
【請求項6】
前記ザグリ部の深さは、前記板材の厚みよりも大きい、請求項1ないし5のいずれか1つに記載の振動子製造装置。
【請求項7】
三次元曲面を有する曲面部(21)を備える振動子(2)の製造方法であって、
熱源に面する上面(10a)に形成される凹部であるザグリ部(11)と、前記ザグリ部の底面(11a)に形成され、前記底面よりも最大径が小さい凹部であるキャビティ(12)と、前記キャビティに形成され、負圧源に接続される通気孔(14)とを備える型(10)を用意することと、
板材(100)を用意し、前記ザグリ部に配置することと、
前記通気孔に接続された負圧源により、前記板材および前記キャビティによりなる閉塞空間を負圧にすることと、
前記板材を前記熱源により軟化させ、前記閉塞空間の内外における差圧により前記板材を変形させ、前記曲面部を形成することと、を含む振動子の製造方法。
発明の詳細な説明
【技術分野】
【0001】
本開示は、三次元曲面を有する振動子についての振動子製造装置および振動子の製造方法に関する。
続きを表示(約 1,900 文字)
【背景技術】
【0002】
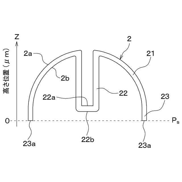
従来、三次元曲面を有し、ワイングラスモードで振動する振動子を用いる慣性センサとしてBRGが知られている。BRGとは、Bird-bath Resonator Gyroscopeの略称である。このような形態の振動子は、振動の状態を表すQ値が10
6
以上に達するため、従来よりも高精度が見込まれる。この種の振動子の製造方法としては、例えば特許文献1に記載のものが挙げられる。
【0003】
特許文献1に記載の振動子の製造方法は、凹部および凹部の底面中心から突出する支柱部を有し、凹部内の真空減圧が可能な型と、石英ガラスなどのリフロー材料とを用意し、リフロー材料を凹部上にセットして火炎などで加熱しつつ、凹部内を減圧する。これにより、加熱により軟化したリフロー材料の一部が凹部内に引っ張られつつ、軟化部分の中心が支柱部に支えられた状態となり、三次元曲面を有する曲面部と、曲面部のなす半球部分の中心に向かって凹む有底筒状の接続部とを備える振動子を製造できる。
【先行技術文献】
【特許文献】
【0004】
米国特許出願公開第2018/0079129号明細書
【発明の概要】
【発明が解決しようとする課題】
【0005】
例えば、BRGにおいては、更なる高精度化のためには、n=2のワイングラスモードでの共振周波数差Δfを小さくすることが重要である。BRGでの共振周波数差Δfを小さくするためには、振動子を高対称な形状に加工する必要がある。高対称な形状の振動子を製造するには、リフロー材料を加熱する際のリフロー材料への入熱を可能な限り均等に制御し、ムラなく変形させなければならない。
【0006】
ここで、石英ガラスなどのリフロー材料を加工する際の熱源としては、色々と提案されているが、ガラスの溶融変形に必要な温度とその温度上昇の速度を達成するためには、ガスバーナの火炎が有力である。しかしながら、ガスバーナの火炎形状を完全に制御することは困難であるため、火炎制御によってリフロー材料への入熱を均等化することはできない。
【0007】
そこで、振動子を製造するための型の凹部を曲面部の三次元曲面形状に沿った湾曲面とし、リフロー材料を溶融変形させつつ、凹部の湾曲面に接触させることで振動子の形状を制御する方法が考えられる。しかしながら、この製造方法は、得られる振動子の曲面部の表面に型の凹部の湾曲面に存在する表面凹凸が転写されるため、振動子のQ値が低下してしまう。
【0008】
本開示は、上記の点に鑑み、三次元曲面形状を有する曲面部を有し、当該曲面部における表面凹凸形状の形成を抑制しつつ、高対称な形状の振動子を製造することが可能な振動子製造装置および当該振動子の製造方法を提供することを目的とする。
【課題を解決するための手段】
【0009】
本開示の1つの観点によれば、振動子製造装置は、
三次元曲面を有する曲面部(21)を備える振動子(2)を製造するための振動子製造装置であって、
リフロー材料によりなる板材(100)を軟化させる熱源に面する上面(10a)に形成され、板材が配置される凹部であるザグリ部(11)と、ザグリ部の底面(11a)に形成される凹部であるキャビティ(12)と、キャビティに形成され、板材とキャビティにより閉塞される空間を負圧にする負圧源に接続される通気孔(14)とを備える型(10)を有し、
ザグリ部は、板材よりも最大径が大きく、
キャビティは、ザグリ部の底面よりも最大径が小さい。
【0010】
この振動子製造装置は、熱源に面する上面に形成される凹部であるザグリ部と、ザグリ部の底面に形成され、当該底面よりも最大径が小さい凹部であるキャビティと、キャビティに形成され、負圧源に接続される通気孔とを備える型を有する。この振動子製造装置は、ザグリ部に配置されるリフロー材料によりなる板材が熱源により加熱され、板材とキャビティとによりなる閉塞空間を負圧源により減圧することで、板材の一部を溶融させつつ、閉塞空間の内外の差圧により板材を変形させる。型がザグリ部を有することで、熱源により生じる熱気流がザグリ部に滞留する構造となり、板材への入熱がザグリ部を有しない型に比べて均等化され、キャビティの壁面に板材の溶融部分の全域を接触させずとも、対称性が高い振動子を製造することが可能となる。
(【0011】以降は省略されています)
この特許をJ-PlatPat(特許庁公式サイト)で参照する
関連特許
株式会社デンソー
接合体
19日前
株式会社デンソー
車載器
5日前
株式会社デンソー
電子装置
今日
株式会社デンソー
ステータ
5日前
株式会社デンソー
ねじ部材
5日前
株式会社デンソー
電子装置
9日前
株式会社デンソーエレクトロニクス
発音装置
9日前
株式会社デンソー
ステータ
20日前
株式会社デンソー
ステータ
20日前
株式会社デンソー
太陽電池
21日前
株式会社デンソーエレクトロニクス
発音装置
27日前
株式会社デンソー
平滑回路
29日前
株式会社デンソー
光学部材
1か月前
株式会社デンソー
通信装置
1か月前
株式会社デンソー
ステータ
5日前
株式会社デンソー
レーダ装置
9日前
株式会社デンソー
回転体装置
1か月前
株式会社デンソー
半導体装置
5日前
株式会社デンソー
センサ素子
1か月前
株式会社デンソー
農業用装置
1日前
株式会社デンソー
ステータコア
12日前
株式会社デンソー
フィルタ回路
13日前
株式会社デンソーエアクール
換気空調装置
6日前
株式会社デンソー
電圧検出回路
1日前
株式会社デンソー
電圧変換回路
20日前
株式会社デンソー
電子制御装置
9日前
株式会社デンソー
通信システム
9日前
株式会社デンソー
装置及び方法
28日前
株式会社デンソーウェーブ
光学読取装置
21日前
株式会社デンソー
小型電動車両
21日前
株式会社デンソー
電気化学セル
9日前
株式会社デンソー
電力変換装置
1日前
株式会社デンソー
電力変換装置
5日前
株式会社デンソー
電波吸収装置
9日前
株式会社デンソー
制御システム
12日前
株式会社デンソー
衝突予測装置
今日
続きを見る
他の特許を見る