TOP
|
特許
|
意匠
|
商標
特許ウォッチ
Twitter
他の特許を見る
公開番号
2025140008
公報種別
公開特許公報(A)
公開日
2025-09-29
出願番号
2024039141
出願日
2024-03-13
発明の名称
制御装置、飛行体及び制御方法
出願人
本田技研工業株式会社
代理人
弁理士法人桐朋
主分類
B64D
27/357 20240101AFI20250919BHJP(航空機;飛行;宇宙工学)
要約
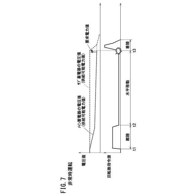
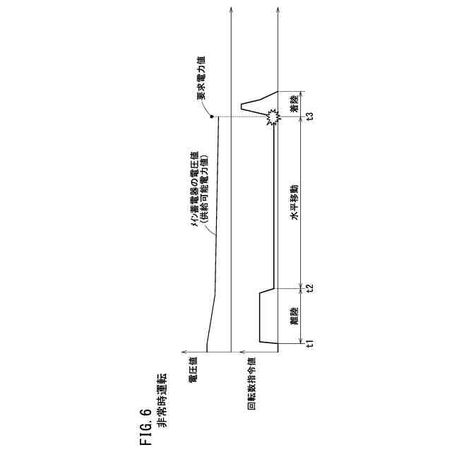
【課題】飛行体の負荷装置に電力を好適に供給する制御装置を提供する。
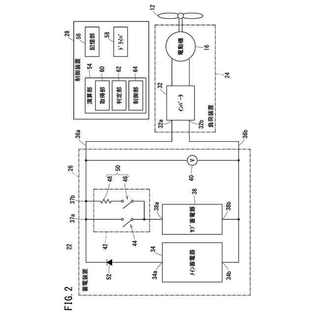
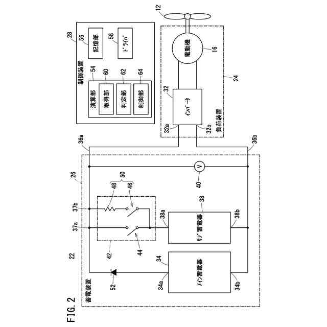
【解決手段】飛行体には、メイン蓄電器34と、メイン蓄電器34よりも質量が小さいサブ蓄電器38と、が備えられ、制御装置28は、メイン蓄電器34から供給することが可能な電力である供給可能電力が、負荷装置24に対して供給することが要求される電力である要求電力に対して不足するか否かを判定する判定部62と、前記供給可能電力が前記要求電力に対して不足していることが判定部62によって判定された場合に、サブ蓄電器38から負荷装置24への電力の供給を開始する制御を行う制御部64と、を備える。
【選択図】図2
特許請求の範囲
【請求項1】
飛行体に備えられた負荷装置への電力の供給を制御する制御装置であって、
前記飛行体には、前記負荷装置に電力を供給可能なメイン蓄電器と、前記負荷装置に電力を供給可能であるとともに前記メイン蓄電器よりも質量が小さいサブ蓄電器と、が備えられ、
前記メイン蓄電器から供給することが可能な電力である供給可能電力が、前記負荷装置に対して供給することが要求される電力である要求電力に対して不足するか否かを判定する判定部と、
前記供給可能電力が前記要求電力に対して不足していることが前記判定部によって判定された場合に、前記サブ蓄電器から前記負荷装置への電力の供給を開始する制御を行う制御部と、
を備える、制御装置。
続きを表示(約 710 文字)
【請求項2】
請求項1に記載の制御装置において、
前記サブ蓄電器のエネルギー密度は、前記メイン蓄電器のエネルギー密度よりも高い、制御装置。
【請求項3】
請求項1に記載の制御装置において、
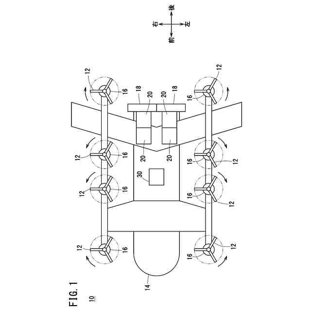
前記負荷装置は、前記飛行体に備えられた回転翼を回転させる電動機である、制御装置。
【請求項4】
請求項3に記載の制御装置において、
前記回転翼は、前記飛行体の垂直方向の推力を発生させる、制御装置。
【請求項5】
請求項1に記載の制御装置において、
前記サブ蓄電器と前記負荷装置との間に、前記サブ蓄電器から前記負荷装置への突入電流を抑制する突入電流抑制装置を備える、制御装置。
【請求項6】
請求項1~5のいずれか1項に記載の制御装置を備える飛行体。
【請求項7】
飛行体に備えられた負荷装置への電力の供給を制御する制御方法であって、
前記飛行体には、前記負荷装置に電力を供給可能なメイン蓄電器と、前記負荷装置に電力を供給可能であるとともに前記メイン蓄電器よりも質量が小さいサブ蓄電器と、が備えられ、
前記メイン蓄電器から供給することが可能な電力である供給可能電力が、前記負荷装置に対して供給することが要求される電力である要求電力に対して不足するか否かを判定する判定ステップと、
前記供給可能電力が前記要求電力に対して不足していることが前記判定ステップにおいて判定された場合に、前記サブ蓄電器から前記負荷装置への電力の供給を開始する制御を行う制御ステップと、
を備える、制御方法。
発明の詳細な説明
【技術分野】
【0001】
本開示は、制御装置、飛行体及び制御方法に関する。
続きを表示(約 1,100 文字)
【背景技術】
【0002】
近年、より多くの人々が手ごろで信頼でき、持続可能且つ先進的なエネルギーへのアクセスを確保するため、エネルギーの効率化に貢献する電動化技術に関する研究開発が行われている。
【0003】
特許文献1には、胴体内に装置したバッテリから、主翼に設けたモータに電力を供給する電動航空機が開示されている。
【先行技術文献】
【特許文献】
【0004】
特開2021-123322号公報
【発明の概要】
【発明が解決しようとする課題】
【0005】
負荷装置に電力を好適に供給し得る制御装置、制御方法及び、そのような制御装置を備える飛行体が待望されている。
【0006】
本発明は上述した課題を解決することを目的とする。
【課題を解決するための手段】
【0007】
本開示の第1の態様は、飛行体に備えられた負荷装置への電力の供給を制御する制御装置であって、前記飛行体には、前記負荷装置に電力を供給可能なメイン蓄電器と、前記負荷装置に電力を供給可能であるとともに前記メイン蓄電器よりも質量が小さいサブ蓄電器と、が備えられ、前記メイン蓄電器から供給することが可能な電力である供給可能電力が、前記負荷装置に対して供給することが要求される電力である要求電力に対して不足するか否かを判定する判定部と、前記供給可能電力が前記要求電力に対して不足していることが前記判定部によって判定された場合に、前記サブ蓄電器から前記負荷装置への電力の供給を開始する制御を行う制御部と、を備える、制御装置である。
【0008】
本開示の第2の態様は、第1の態様による制御装置を備える飛行体である。
【0009】
本開示の第3の態様は、飛行体に備えられた負荷装置への電力の供給を制御する制御方法であって、前記飛行体には、前記負荷装置に電力を供給可能なメイン蓄電器と、前記負荷装置に電力を供給可能であるとともに前記メイン蓄電器よりも質量が小さいサブ蓄電器と、が備えられ、前記メイン蓄電器から供給することが可能な電力である供給可能電力が、前記負荷装置に対して供給することが要求される電力である要求電力に対して不足するか否かを判定する判定ステップと、前記供給可能電力が前記要求電力に対して不足していることが前記判定ステップにおいて判定された場合に、前記サブ蓄電器から前記負荷装置への電力の供給を開始する制御を行う制御ステップと、を備える、制御方法である。
【発明の効果】
【0010】
本発明によれば、負荷装置に電力を好適に供給し得る。
【図面の簡単な説明】
(【0011】以降は省略されています)
この特許をJ-PlatPat(特許庁公式サイト)で参照する
関連特許
本田技研工業株式会社
車両
2日前
本田技研工業株式会社
車両
2日前
本田技研工業株式会社
排気装置
2日前
本田技研工業株式会社
固体電池
2日前
本田技研工業株式会社
排気装置
2日前
本田技研工業株式会社
内燃機関
2日前
本田技研工業株式会社
排気装置
2日前
本田技研工業株式会社
発電セル
2日前
本田技研工業株式会社
除草装置
2日前
本田技研工業株式会社
リアクトル
2日前
本田技研工業株式会社
鞍乗型車両
2日前
本田技研工業株式会社
鞍乗型車両
2日前
本田技研工業株式会社
鞍乗型車両
2日前
本田技研工業株式会社
電極積層体
2日前
本田技研工業株式会社
始動制御装置
2日前
本田技研工業株式会社
鞍乗り型車両
2日前
本田技研工業株式会社
電池製造装置
2日前
本田技研工業株式会社
車両制御装置
2日前
本田技研工業株式会社
燃料電池装置
2日前
本田技研工業株式会社
始動制御装置
2日前
本田技研工業株式会社
作業システム
2日前
本田技研工業株式会社
燃料電池構造
2日前
本田技研工業株式会社
電池の処理方法
2日前
本田技研工業株式会社
燃料電池スタック
2日前
本田技研工業株式会社
電気部品冷却構造
2日前
本田技研工業株式会社
燃料電池スタック
2日前
本田技研工業株式会社
バッテリモジュール
2日前
本田技研工業株式会社
再生正極の製造方法
2日前
本田技研工業株式会社
固体電池の製造方法
2日前
本田技研工業株式会社
可変ファンネル装置
2日前
本田技研工業株式会社
固体電池の製造方法
2日前
本田技研工業株式会社
固体電池の制御方法
2日前
本田技研工業株式会社
コンデンサユニット
2日前
本田技研工業株式会社
蓄電装置及び制御方法
2日前
本田技研工業株式会社
交通安全支援システム
2日前
本田技研工業株式会社
全固体電池の製造方法
2日前
続きを見る
他の特許を見る