TOP
|
特許
|
意匠
|
商標
特許ウォッチ
Twitter
他の特許を見る
10個以上の画像は省略されています。
公開番号
2025153643
公報種別
公開特許公報(A)
公開日
2025-10-10
出願番号
2024056221
出願日
2024-03-29
発明の名称
固体電池の製造方法
出願人
本田技研工業株式会社
代理人
個人
,
個人
主分類
H01M
10/0585 20100101AFI20251002BHJP(基本的電気素子)
要約
【課題】異常な電析の発生を抑制でき、好ましい電池性能を有する固体電池の製造方法を提供すること。
【解決手段】負極層と、中間層と、固体電解質層と、正極層とがこの順で積層された電極積層体を有する固体電池の製造方法であって、固体電解質層は、負極層側に配置される第1の固体電解質層と、第1の固体電解質層に隣接して配置される第2の固体電解質層と、正極層側に配置される第3の固体電解質層と、を有し、第1工程と、第2A工程と、第3工程と、第4A工程と、を有する、固体電池の製造方法。
【選択図】図2B
特許請求の範囲
【請求項1】
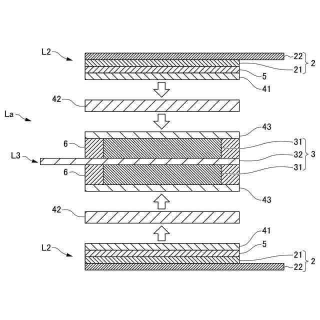
負極層と、中間層と、固体電解質層と、正極層とがこの順で積層された電極積層体を有する固体電池の製造方法であって、
前記固体電解質層は、前記負極層側に配置される第1の固体電解質層と、前記第1の固体電解質層に隣接して配置される第2の固体電解質層と、前記正極層側に配置される第3の固体電解質層と、を有し、
前記負極層と前記中間層とをプレス接合して中間層-負極層積層体を得る第1工程と、
前記中間層-負極層積層体における前記中間層の積層面に前記第1の固体電解質層を構成する物質を配置してプレス接合し、固体電解質層-中間層-負極層積層体を得る第2A工程と、
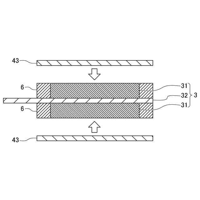
前記正極層の積層面に前記第3の固体電解質層を構成する物質を配置してプレス接合して固体電解質層-正極層積層体を得る第3工程と、
前記固体電解質層-中間層-負極層積層体と、前記固体電解質層-正極層積層体との間に、各固体電解質層と対向するように前記第2の固体電解質層を配置してプレス接合して電極積層体を得る第4A工程と、を有する、固体電池の製造方法。
続きを表示(約 290 文字)
【請求項2】
前記第2A工程におけるプレス圧力は、前記第4A工程におけるプレス圧力よりも高い、請求項1に記載の固体電池の製造方法。
【請求項3】
前記第2A工程におけるプレス圧力は、500MPa超、700MPa以下である、請求項2に記載の固体電池の製造方法。
【請求項4】
前記第4A工程におけるプレス圧力は、300MPa以上、500MPa以下である、請求項2又は3に記載の固体電池の製造方法。
【請求項5】
前記第3工程におけるプレス圧力は、前記第4A工程におけるプレス圧力よりも高い、請求項1に記載の固体電池の製造方法。
発明の詳細な説明
【技術分野】
【0001】
本発明は、固体電池の製造方法に関する。
続きを表示(約 1,500 文字)
【背景技術】
【0002】
近年、より多くの人々が手ごろで信頼でき、持続可能かつ先進的なエネルギーへのアクセスを確保できるようにするため、エネルギーの効率化に貢献する二次電池に関する研究開発が行われている。
【0003】
このような二次電池としては、正極層と負極層との間に固体電解質層が配置された、リチウム金属電池、リチウムイオン二次電池等の固体電池が知られている。
【0004】
固体電池に関する技術としては、負極に隣接した第1固体電解質層と、第1固体電解質層と正極との間に位置する第2固体電解質層とを有し、第1固体電解質層は、第2固体電解質層よりもヤング率が小さい全固体電池に関する技術が知られている(例えば、特許文献1参照)。
【先行技術文献】
【特許文献】
【0005】
特開2022-108202号公報
【発明の概要】
【発明が解決しようとする課題】
【0006】
特許文献1に開示された技術は、固体電解質層と正負極層との界面接触性の劣化を抑制し、自己放電時の電圧低下を抑制することを課題とする。第1固体電解質層のヤング率を小さくする手段としては、第1固体電解質層のバインダの含有量を比較的多くする手段が挙げられている。しかし、バインダは固体電池が動作する上では抵抗体となるため、固体電解質層のバインダの含有量を多くすることは好ましくない。
【0007】
上記のような固体電池を作製する方法としては、正極層、負極層を個別にプレスした後、固体電解質層を正極層、及び負極層で挟み込こんでプレスし一体化する方法が挙げられる。しかし、一体化する際のプレス圧力が高すぎると、各層が破損する恐れがあることから、一体化する際のプレス圧力には実質的な上限がある。このため、負極層と固体電解質層との界面において、固体電解質層が十分に高密度化されない場合がある。また、負極層と固体電解質層とが十分に密着しない場合がある。上記高密度化、及び密着の度合いが不十分である場合、異常な電析が発生し、要求される電池性能が得られないという課題がある。
【0008】
本発明は、上記の課題に鑑みてなされたものであり、異常な電析の発生を抑制でき、好ましい電池性能を有する固体電池の製造方法を提供することを目的とする。
【課題を解決するための手段】
【0009】
(1) 本発明は、負極層と、中間層と、固体電解質層と、正極層とがこの順で積層された電極積層体を有する固体電池の製造方法であって、前記固体電解質層は、前記負極層側に配置される第1の固体電解質層と、前記第1の固体電解質層に隣接して配置される第2の固体電解質層と、前記正極層側に配置される第3の固体電解質層と、を有し、前記負極層と前記中間層とをプレス接合して中間層-負極層積層体を得る第1工程と、前記中間層-負極層積層体における前記中間層の積層面に前記第1の固体電解質層を構成する物質を配置してプレス接合し、固体電解質層-中間層-負極層積層体を得る第2A工程と、前記正極層の積層面に前記第3の固体電解質層を構成する物質を配置してプレス接合して固体電解質層-正極層積層体を得る第3工程と、前記固体電解質層-中間層-負極層積層体と、前記固体電解質層-正極層積層体との間に、各固体電解質層と対向するように前記第2の固体電解質層を配置してプレス接合して電極積層体を得る第4A工程と、を有する、固体電池の製造方法に関する。
【0010】
(1)の発明によれば、異常な電析の発生を抑制でき、好ましい電池性能を有する固体電池の製造方法を提供できる。
(【0011】以降は省略されています)
この特許をJ-PlatPat(特許庁公式サイト)で参照する
関連特許
個人
フレキシブル電気化学素子
5日前
ローム株式会社
半導体装置
7日前
日新イオン機器株式会社
イオン源
1日前
株式会社ユーシン
操作装置
5日前
ローム株式会社
半導体装置
12日前
太陽誘電株式会社
コイル部品
5日前
太陽誘電株式会社
全固体電池
12日前
株式会社GSユアサ
蓄電装置
12日前
株式会社GSユアサ
蓄電設備
5日前
オムロン株式会社
電磁継電器
6日前
株式会社GSユアサ
蓄電設備
5日前
株式会社ホロン
冷陰極電子源
12日前
トヨタ自動車株式会社
蓄電装置
5日前
日本特殊陶業株式会社
保持装置
12日前
日本特殊陶業株式会社
保持装置
12日前
TDK株式会社
電子部品
12日前
サクサ株式会社
電池の固定構造
5日前
ノリタケ株式会社
熱伝導シート
5日前
トヨタ自動車株式会社
バッテリ
6日前
日東電工株式会社
積層体
6日前
日東電工株式会社
電子装置
8日前
ローム株式会社
半導体装置
6日前
TDK株式会社
コイル部品
12日前
ベストテック株式会社
装置支持具
5日前
日本特殊陶業株式会社
電極
12日前
日本特殊陶業株式会社
電極
12日前
ローム株式会社
半導体装置
7日前
東レエンジニアリング株式会社
実装装置
6日前
ローム株式会社
半導体装置
7日前
日本製紙株式会社
導電性フィルム
6日前
日本製紙株式会社
導電性フィルム
6日前
古河電気工業株式会社
端子
5日前
日本特殊陶業株式会社
電極
12日前
日本特殊陶業株式会社
電極
12日前
東レエンジニアリング株式会社
実装装置
12日前
SMK株式会社
キートップ及びスイッチ
7日前
続きを見る
他の特許を見る