TOP
|
特許
|
意匠
|
商標
特許ウォッチ
Twitter
他の特許を見る
公開番号
2025140244
公報種別
公開特許公報(A)
公開日
2025-09-29
出願番号
2024039507
出願日
2024-03-13
発明の名称
穿刺装置
出願人
学校法人関西医科大学
代理人
個人
主分類
A61B
17/42 20060101AFI20250919BHJP(医学または獣医学;衛生学)
要約
【課題】人工破膜おいて卵膜に僅かな大きさの穴を安定的に穿刺可能な穿刺装置を提供する。
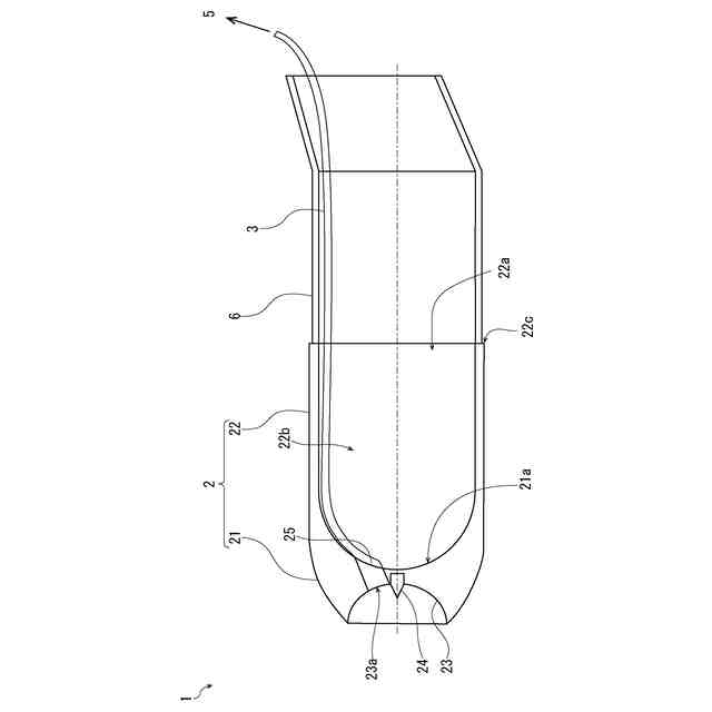
【解決手段】経膣的に卵膜VLに穿刺を行うための穿刺装置1であって、基端が開口22aしたキャップ状の筒体であって、先端部21に凹陥部23を有し当該凹陥部23の内面に穿刺針24を有するとともに吸気孔23aが開設されてなるカップ2と、カップ2の吸気孔23aと一端が接続され、他端が吸引手段5に接続可能に構成されてなる吸引管3とを備えた。
【選択図】図2
特許請求の範囲
【請求項1】
経膣的に卵膜に穿刺を行うための穿刺装置であって、
基端が開口したキャップ状の筒体であって、先端部に凹陥部を有し当該凹陥部の内面に穿刺針を有するとともに吸気孔が開設されてなるカップと、
前記カップの前記吸気孔と一端が接続され、他端が吸引手段に接続可能に構成されてなる吸引管とを備えた
穿刺装置。
続きを表示(約 440 文字)
【請求項2】
前記カップの先端部を経膣的に卵膜に近接させた状態で、前記吸引手段による陰圧により卵膜を前記穿刺針を含む前記凹陥部の内面に吸引可能に構成されている
請求項1に記載の穿刺装置。
【請求項3】
前記カップは、前記カップは、可撓性を有し超音波を通過可能な材料からなる管状の軟性部材であり、管内腔を通して経膣超音波プローブが前記凹陥部の裏面まで進入可能に構成されている
請求項1に記載の穿刺装置。
【請求項4】
前記穿刺針は、針状の金属又は硬質の樹脂部材が前記凹陥部の内面に基端を埋め込まれて形成されてなる
請求項1に記載の穿刺装置。
【請求項5】
前記吸引管は、羊水の吸引を管外部から視認可能に構成されている
請求項1に記載の穿刺装置。
【請求項6】
前記カップの前記基端から、弾性部材からなるスリーブが所定長さ延出されている
請求項1に記載の穿刺装置。
発明の詳細な説明
【技術分野】
【0001】
本開示は、経膣的に卵膜に穿刺を行うための穿刺装置に関し、特に、経膣超音波プローブにより状態を視認しながら使用可能な穿刺装置に関する。
続きを表示(約 1,700 文字)
【背景技術】
【0002】
医療分野において、分娩が遷延している妊婦に対して計画的に陣痛を発生させるために、経腟的に挿入した手指または鉗子により羊水と胎児を包む卵膜を盲目的に破損させる人工破膜という手技が従来より行われている。人工破膜により卵膜に僅かな大きさの穴を開けることにより、穴を経由した膣内細菌の局所感染が生じ、これを契機として子宮頸管の熟化と陣痛の発来が期待することができる。そのため、従来から経腟的に卵膜を破損させるための各種の手術用器具が提案されている(例えば、特許文献1~3)。
【0003】
さらに、近年、無痛分娩等の手技の登場に伴い、陣痛のタイミングを人為的にコントロールする計画分娩という分娩形態が普及し、これに伴い人工破膜が使用される頻度は増加傾向にある。
【先行技術文献】
【特許文献】
【0004】
特開昭48-62294号公報
特開昭60-210249号公報
国際公開第2021/224961号
【発明の概要】
【発明が解決しようとする課題】
【0005】
ところが、人工破膜の有害事象として、卵膜欠損に伴う急激な羊水の流出に伴う胎児機能不全、特に重篤な合併症として、羊水と共に臍帯が脱出して陥頓し胎児が永続的な虚血に陥る臍帯脱出が生じることがある。未だ分娩の進行が乏しく胎児の降下が乏しい状態での人工破膜の場合、これらの有害事象が生じる可能性が指摘されている。また、計画分娩の普及に伴い、これらの問題が増加することが懸念される。
【0006】
本開示は、上記課題に鑑みてなされたものであり、人工破膜おいて卵膜に僅かな大きさの穴を安定的に穿孔可能な穿刺装置を提供することを目的とする。
【課題を解決するための手段】
【0007】
上記目的を達成するため本開示の一態様に係る穿刺装置は、経膣的に卵膜に穿刺を行うための穿刺装置であって、基端が開口したキャップ状の筒体であって、先端部に凹陥部を有し当該凹陥部の内面に穿刺針を有するとともに吸気孔が開設されてなるカップと、前記カップの前記吸気孔と一端が接続され、他端が吸引手段に接続可能に構成されてなる吸引管とを備えたことを特徴とする。
【発明の効果】
【0008】
本開示の一態様に係る穿刺装置によれば、人工破膜おいて卵膜に僅かな大きさの穴を安定的に穿孔可能な穿刺装置を提供することができる。これにより、人工破膜おける卵膜欠損に伴う急激な羊水流出を抑制することができる。
【図面の簡単な説明】
【0009】
実施の形態に係る穿刺装置1の術中の使用状態を説明する模式図である。
穿刺装置1の構成を示す斜視図である。
穿刺装置1の構成を示す側断面図である。
図1におけるA部を拡大した図であり、穿刺装置1の体中に挿入される部分の術中の動作状態を説明する側断面図である。
(a)~(c)は、穿刺装置1の実施例に係るカップの写真である。
(a)~(c)は、穿刺装置1の実施例を用いた穿刺動作の評価試験の結果を示す写真である。
穿刺装置1の実施例を用いた穿刺動作の評価試験の結果を示す写真である。
【発明を実施するための形態】
【0010】
≪本発明を実施するための形態の概要≫
本開示の実施の形態に係る穿刺装置は、経膣的に卵膜に穿刺を行うための穿刺装置であって、基端が開口したキャップ状の筒体であって、先端部に凹陥部を有し当該凹陥部の内面に穿刺針を有するとともに吸気孔が開設されてなるカップと、前記カップの前記吸気孔と一端が接続され、他端が吸引手段に接続可能に構成されてなる吸引管とを備えたことを特徴とする。また、前記カップの先端部を経膣的に卵膜に近接させた状態で、前記吸引手段による陰圧により卵膜を前記穿刺針を含む前記凹陥部の内面に吸引可能に構成されている構成としてもよい。
(【0011】以降は省略されています)
この特許をJ-PlatPat(特許庁公式サイト)で参照する
関連特許
学校法人関西医科大学
穿刺装置
21日前
学校法人関西医科大学
腹腔鏡手術訓練装置
1か月前
学校法人関西医科大学
肝実質細胞の精製方法
3か月前
学校法人関西医科大学
アジュバント組成物
19日前
学校法人関西医科大学
TA細胞の検出試薬、がんTA細胞の増殖性の検出試薬、TA細胞の検出方法、増殖性のがんTA細胞の検出方法、TA細胞の精製方法、増殖性のがんTA細胞の精製方法、細胞集団、および非ヒト動物
6日前
個人
健康器具
8か月前
個人
短下肢装具
3か月前
個人
鼾防止用具
8か月前
個人
排尿補助器具
6日前
個人
脈波測定方法
8か月前
個人
前腕誘導装置
3か月前
個人
洗井間専家。
6か月前
個人
脈波測定方法
8か月前
個人
嚥下鍛錬装置
3か月前
個人
白内障治療法
7か月前
個人
矯正椅子
4か月前
個人
汚れ防止シート
21日前
個人
ウォート指圧法
4日前
個人
ホバーアイロン
6か月前
個人
バッグ式オムツ
4か月前
個人
胸骨圧迫補助具
1か月前
個人
アイマスク装置
1か月前
個人
歯の修復用材料
3か月前
個人
湿布連続貼り機。
2か月前
個人
口内洗浄具
8か月前
個人
シャンプー
5か月前
三生医薬株式会社
錠剤
7か月前
個人
哺乳瓶冷まし容器
2か月前
個人
陣痛緩和具
3か月前
個人
車椅子持ち上げ器
7か月前
個人
歯の保護用シール
4か月前
株式会社結心
手袋
7か月前
株式会社八光
剥離吸引管
4か月前
株式会社コーセー
化粧料
3日前
個人
エア誘導コルセット
1か月前
個人
服薬支援装置
7か月前
続きを見る
他の特許を見る