TOP
|
特許
|
意匠
|
商標
特許ウォッチ
Twitter
他の特許を見る
公開番号
2025120547
公報種別
公開特許公報(A)
公開日
2025-08-18
出願番号
2024015394
出願日
2024-02-05
発明の名称
圧力調整弁
出願人
株式会社アイシン
代理人
弁理士法人R&C
主分類
F16K
17/06 20060101AFI20250808BHJP(機械要素または単位;機械または装置の効果的機能を生じ維持するための一般的手段)
要約
【課題】圧力調整を簡便に行うことのできる圧力調整弁を提供する。
【解決手段】圧力調整弁Cは、流体の圧力を受けて軸芯X方向に沿った移動が可能な弁体と、圧力に対抗する方向に弁体を付勢する付勢部材と、弁体及び付勢部材を密封状態で収容するハウジング11と、付勢部材を押圧することにより付勢部材の付勢力を調整する調整部材19と、調整部材19を所定位置で係止可能な係止機構と、を備える。
【選択図】図4
特許請求の範囲
【請求項1】
流体の圧力を受けて軸芯方向に沿った移動が可能な弁体と、
前記圧力に対抗する方向に前記弁体を付勢する付勢部材と、
前記弁体及び前記付勢部材を密封状態で収容するハウジングと、
前記付勢部材を押圧することにより前記付勢部材の付勢力を調整する調整部材と、
前記調整部材を所定位置で係止可能な係止機構と、を備える圧力調整弁。
続きを表示(約 520 文字)
【請求項2】
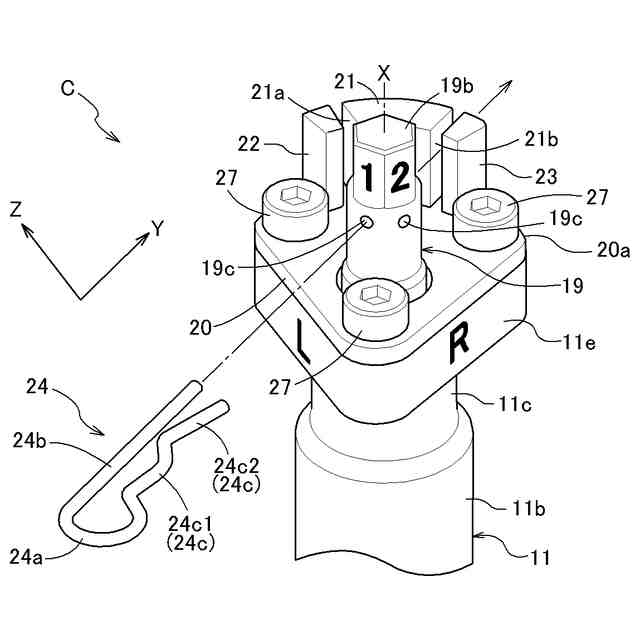
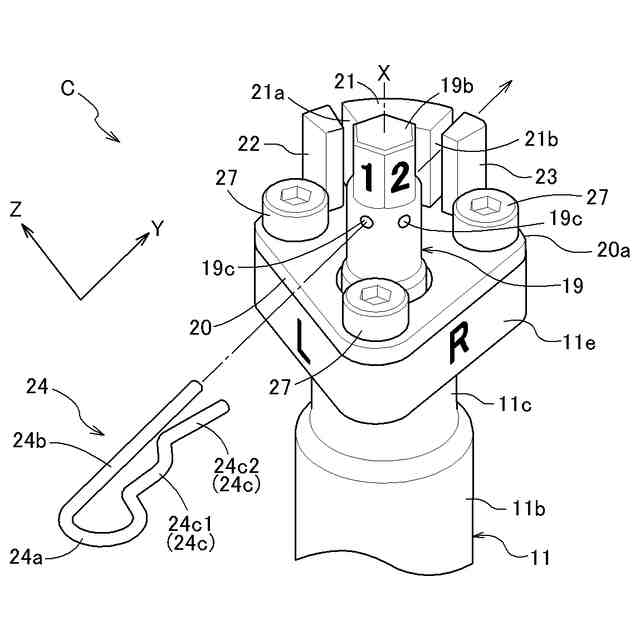
前記調整部材は、前記軸芯方向を中心に回転可能な回転部を有しており、
当該回転部には、前記所定位置を調節するための複数の貫通孔が形成されており、
前記係止機構は、前記複数の貫通孔のうちの一つに挿通される係止部材と、前記ハウジング側に一体になり、当該係止部材の回転を規制する規制面を含む支持部材と、を有しており、
前記回転部及び前記支持部材は、前記ハウジングから突出して設けられている請求項1に記載の圧力調整弁。
【請求項3】
前記支持部材は、前記係止部材が当接可能な複数の前記規制面を含んでおり、
前記係止部材は、互いに交差する複数方向のうちの何れか一方向から前記貫通孔に挿通したときのみ、複数の前記規制面のうちの一つに当接可能に構成されている請求項2に記載の圧力調整弁。
【請求項4】
前記回転部には、前記貫通孔の設けられる夫々の面を区別する第一の指標が付されており、
前記ハウジングには、前記複数方向を区別する第二の指標が付されており、
前記第一の指標と前記第二の指標との組み合わせに応じて前記付勢力が調整される請求項3に記載の圧力調整弁。
発明の詳細な説明
【技術分野】
【0001】
本発明は、圧力調整弁に関する。
続きを表示(約 1,400 文字)
【背景技術】
【0002】
圧力調整弁は、タンク等に封止された流体の圧力が所定値以上となったときに開弁し、流体を二次タンク又は大気中へ放出させて、タンク内の流体の圧力を一定に保つものである。流体の圧力が所定値以上となった場合には、流体の圧力を受けた弁体が弁座から離れることにより、流体がタンクから放出される(例えば、特許文献1参照)。
【0003】
特許文献1には、弁体と、弁座と、弁体を付勢する付勢部材と、付勢部材の一端に連結される調整スリーブと、調整スリーブを押圧して付勢部材の付勢力を調整可能な調整ねじ部材と、を備える圧力調整弁が記載されている。この圧力調整弁においては、調整スリーブと調整ねじ部材との間にガスを供給して、調整スリーブを付勢部材の側に押し下げることにより調整スリーブと調整ねじ部材との間に隙間をあけ、付勢部材の付勢力が作用していない状態で調整ねじ部材を回転させて位置調整を行う。これにより、付勢部材の付勢力を増減させて、圧力調整弁が開弁する圧力を調整するものである。
【先行技術文献】
【特許文献】
【0004】
特開2006-29474号公報
【発明の概要】
【発明が解決しようとする課題】
【0005】
特許文献1に記載の圧力調整弁にあっては、圧力調整を行う際に、圧力調整弁をタンクから取り外して、圧力確認をしながら調整ねじ部材の位置調整を行う必要があった。このため、タンク内の流体を一度排出する必要があり手間がかかっていた。
【0006】
また、特許文献1に記載の圧力調整は、調整スリーブと調整ねじ部材との間に外部からガスを導入して行うものであるため、作業量及び作業コストの増加にもつながっていた。
【0007】
そこで、圧力調整を簡便に行うことのできる圧力調整弁が望まれている。
【課題を解決するための手段】
【0008】
本発明に係る圧力調整弁の特徴構成は、流体の圧力を受けて軸芯方向に沿った移動が可能な弁体と、前記圧力に対抗する方向に前記弁体を付勢する付勢部材と、前記弁体及び前記付勢部材を密封状態で収容するハウジングと、前記付勢部材を押圧することにより前記付勢部材の付勢力を調整する調整部材と、前記調整部材を所定位置で係止可能な係止機構と、を備える点にある。
【0009】
圧力調整弁は、付勢部材が弁体を付勢する付勢力と、付勢力とは反対方向に向かって弁体を押圧する流体の圧力とのバランスによって開閉し、タンク内の流体の圧力を一定に保つ。タンク内の流体の圧力は、付勢力の大きさを変更することにより設定可能である。本構成における圧力調整弁は、付勢力を調整する調整部材を所定位置で係止可能な係止機構を備えるので、所望の付勢力が得られる位置で調整部材を係止することにより、圧力開閉弁の開弁する圧力を調整することができる。このため、タンクから圧力調整弁を取り外さずに調整作業を行うことができるので、作業量や作業コストを低減することが可能である。
【0010】
このように、圧力調整を簡便に行うことのできる圧力調整弁となっている。
【図面の簡単な説明】
(【0011】以降は省略されています)
この特許をJ-PlatPat(特許庁公式サイト)で参照する
関連特許
株式会社アイシン
ロータ
1日前
株式会社アイシン
ロータ
3日前
株式会社アイシン
ステータ
1日前
株式会社アイシン
回転電機
4日前
株式会社アイシン
回転電機
4日前
株式会社アイシン
電子機器
2日前
株式会社アイシン
保護装置
2日前
株式会社アイシン
検知装置
2日前
株式会社アイシン
制御装置
2日前
株式会社アイシン
制御装置
2日前
株式会社アイシン
制御装置
2日前
株式会社アイシン
ステータ
1日前
株式会社アイシン
ステータ
1日前
株式会社アイシン
ステータ
1日前
株式会社アイシン
駆動装置
2日前
株式会社アイシン
レーダ装置
2日前
株式会社アイシン
ドア支持装置
1日前
株式会社アイシン
環境認識装置
1日前
株式会社アイシン
電解システム
3日前
株式会社アイシン
折り畳み装置
1日前
株式会社アイシン
出庫支援装置
2日前
株式会社アイシン
センサ固定具
3日前
株式会社アイシン
電解システム
2日前
株式会社アイシン
乗員検知装置
2日前
株式会社アイシン
折り畳み装置
1日前
株式会社アイシン
車両制御装置
2日前
株式会社アイシン
運転支援装置
2日前
株式会社アイシン
運転支援装置
2日前
株式会社アイシン
超音波センサ
3日前
株式会社アイシン
衝撃吸収部材
2日前
株式会社アイシン
折り畳み装置
1日前
株式会社アイシン
案内システム
2日前
株式会社アイシン
運転支援装置
1日前
株式会社アイシン
ガス検出装置
1日前
株式会社アイシン
牽引支援装置
1日前
株式会社アイシン
牽引支援装置
1日前
続きを見る
他の特許を見る