TOP
|
特許
|
意匠
|
商標
特許ウォッチ
Twitter
他の特許を見る
10個以上の画像は省略されています。
公開番号
2025142858
公報種別
公開特許公報(A)
公開日
2025-10-01
出願番号
2024042449
出願日
2024-03-18
発明の名称
コンソールボックス
出願人
豊田合成株式会社
,
株式会社豊田自動織機
代理人
個人
,
個人
主分類
B60R
7/04 20060101AFI20250924BHJP(車両一般)
要約
【課題】リッド本体の過開きが生じる場面において、リッドがボックス本体から取り外されることを抑制できるコンソールボックスを提供する。
【解決手段】コンソールボックスは、ボックス本体と、リッドと、操作部とを備えている。リッドは、リッド本体と、回動軸とを有している。ボックス本体には、支持凹部と、許容凹部とを備えるシム30と、シムベゼル20とが回動軸の両端にそれぞれ対応して一対設けられている。一対のシムベゼル20の外面には、規制凸部21が形成されている。ボックス本体には、リッド本体の開度が全開位置よりも開き側に変化する際、規制凸部21と当接することでシムベゼル20の回転を規制する一方、規制凸部21を介して所定値以上の荷重が印加される際には、弾性変形することによってシムベゼル20が回転することを許容する板ばね16が設けられている。
【選択図】図6
特許請求の範囲
【請求項1】
上部開口を有するボックス本体と、前記ボックス本体に対して回動可能に連結されるとともに前記上部開口を開閉するリッドと、操作部とを備え、
前記リッドは、リッド本体と、前記リッド本体の幅方向の一側に設けられ、前記リッド本体を前記ボックス本体に連結する回動軸と、を有しており、
前記ボックス本体には、前記回動軸の端を回転可能に支持する支持凹部と、前記回動軸の軸線方向における前記リッド本体の端面に設けられるリッド側規制部と嵌合するとともに、前記リッド側規制部に当接することで前記リッド本体の開度が全開位置よりも大きくなることを規制する規制面を有する嵌合部と、を備えるシムと、前記シムを回転不能且つ前記軸線方向において移動可能に収容するとともに、前記ボックス本体に対して前記軸線方向において移動不能に取り付けられるシムベゼルと、が前記回動軸の両端にそれぞれ対応して一対設けられており、
前記操作部は、前記回動軸に対して操作力を付与するものであり、
一対の前記シムが、前記操作部の操作に伴って前記軸線方向の外側に移動することで、前記支持凹部から前記回動軸が抜け出して前記回動軸と前記ボックス本体との連結状態が解除されるように構成されたコンソールボックスであって、
一対の前記シムベゼルの外面には、規制凸部が形成されており、
前記ボックス本体には、前記リッド本体の開度が前記全開位置よりも開き側に変化する際、前記規制凸部と当接することで前記シムベゼルの回転を規制する一方、前記規制凸部を介して所定値以上の荷重が印加される際には、弾性変形することによって前記シムベゼルが回転することを許容する弾性部材が設けられている、
コンソールボックス。
続きを表示(約 830 文字)
【請求項2】
前記規制凸部は、前記シムベゼルの外周面から突出している、
請求項1に記載のコンソールボックス。
【請求項3】
前記弾性部材は、金属製の板ばねである、
請求項1または請求項2に記載のコンソールボックス。
【請求項4】
上部開口を有するボックス本体と、前記ボックス本体に対して回動可能に連結されるとともに前記上部開口を開閉するリッドと、操作部と、を備え、
前記リッドは、リッド本体と、前記リッド本体の幅方向の一側に設けられ、前記リッド本体を前記ボックス本体に連結する回動軸、を有しており、
前記ボックス本体には、前記回動軸の端を回転可能に支持する支持凹部と、前記回動軸の軸線方向における前記リッド本体の端面に設けられるリッド側規制部と嵌合するとともに、前記リッド側規制部に当接することで前記リッド本体の開度が全開位置よりも大きくなることを規制する規制面を有する嵌合部と、を備えるシムと、前記シムを回転可能且つ前記軸線方向において移動可能に収容する収容凹部と、が前記回動軸の両端にそれぞれ対応して一対設けられており、
前記操作部は、前記回動軸に対して操作力を付与するものであり、
一対の前記シムが、前記操作部の操作に伴って前記軸線方向の外側に移動することで、前記支持凹部から前記回動軸が抜け出して前記回動軸と前記ボックス本体との連結状態が解除されるように構成されたコンソールボックスであって、
一対の前記シムの外面には、規制凸部が形成されており、
前記ボックス本体には、前記リッド本体の開度が前記全開位置よりも開き側に変化する際、前記規制凸部と当接することで前記シムの回転を規制する一方、前記規制凸部を介して所定値以上の荷重が印加される際には、弾性変形することによって前記シムが回転することを許容する弾性部材が設けられている、
コンソールボックス。
発明の詳細な説明
【技術分野】
【0001】
本発明は、コンソールボックスに関する。
続きを表示(約 2,000 文字)
【背景技術】
【0002】
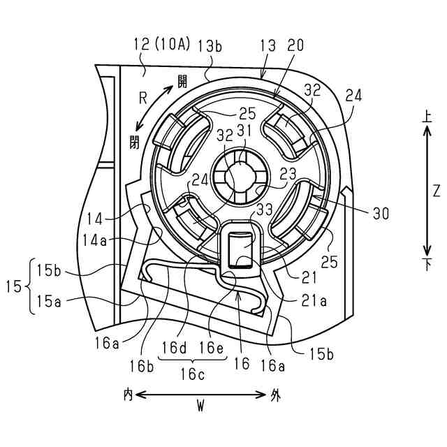
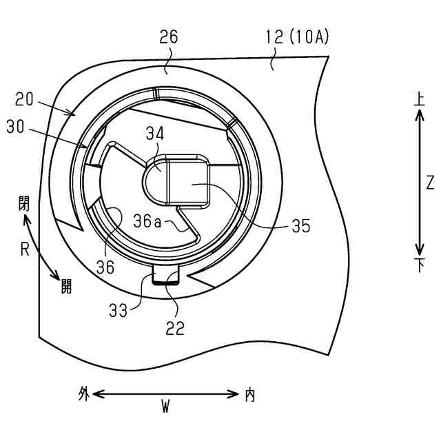
特許文献1には、車室内に設けられるコンソールボックスが記載されている。このコンソールボックスは、上部開口を有するボックス本体と、ボックス本体に回動可能に連結されるとともに上部開口を開閉するリッドとを備えている。
【0003】
リッドは、リッド本体と、リッド本体の幅方向の一側に設けられ、リッド本体をボックス本体に連結する回動軸と、回動軸に対応して設けられた操作部とを有している。操作部は、当該操作部が操作されることで回動軸を上記幅方向の内側に移動させるように構成されている。
【0004】
ボックス本体には、ボックス本体に対して回転不能に組み付けられるとともに、回動軸の両端を回転可能に支持する一対のシムが設けられている。
一対のシムには、回動軸の軸線方向におけるリッド本体の端面に設けられた規制突起を収容するとともに、リッド本体の全閉位置から全開位置までの回動に伴う規制突起の移動を許容する許容凹部が形成されている。
【0005】
コンソールボックスは、操作部の操作によって、回動軸が上記幅方向の内側に移動することに伴って、上記軸線方向において一対のシムが回動軸から離れる側に向けて移動することで、回動軸とボックス本体との連結状態が解除されるように構成されている。
【0006】
こうしたコンソールボックスでは、リッド本体が全閉位置にあるとき、操作部が操作されることでリッドがボックス本体から取り外される。また、リッド本体が全開位置にあるとき、規制突起と許容凹部の側面とが当接することでリッド本体の開度が全開位置よりも大きくなることが規制される。
【先行技術文献】
【特許文献】
【0007】
特開2023-70037号公報
【発明の概要】
【発明が解決しようとする課題】
【0008】
ところで、こうしたコンソールボックスにおいては、リッド本体の開度が全開位置にあるとき、当該開度が全開位置よりも開き側に変化する、所謂リッド本体の過開きが生じると、規制突起が許容凹部の側面を乗り越える場合がある。この場合、操作部の操作を伴わずに、一対のシムが上記軸線方向において回動軸から離れる側に移動することになるため、乗員の意に反してリッドがボックス本体から取り外されるおそれがある。こうしたことから、コンソールボックスにおいては、リッド本体の過開きが生じる場面において、リッドをボックス本体から取り外しにくくすることが望まれる。
【課題を解決するための手段】
【0009】
上記課題を解決するためのコンソールボックスの各態様を記載する。
[態様1]上部開口を有するボックス本体と、前記ボックス本体に対して回動可能に連結されるとともに前記上部開口を開閉するリッドと、操作部とを備え、前記リッドは、リッド本体と、前記リッド本体の幅方向の一側に設けられ、前記リッド本体を前記ボックス本体に連結する回動軸と、を有しており、前記ボックス本体には、前記回動軸の端を回転可能に支持する支持凹部と、前記回動軸の軸線方向における前記リッド本体の端面に設けられるリッド側規制部と嵌合するとともに、前記リッド側規制部に当接することで前記リッド本体の開度が全開位置よりも大きくなることを規制する規制面を有する嵌合部と、を備えるシムと、前記シムを回転不能且つ前記軸線方向において移動可能に収容するとともに、前記ボックス本体に対して前記軸線方向において移動不能に取り付けられるシムベゼルと、が前記回動軸の両端にそれぞれ対応して一対設けられており、前記操作部は、前記回動軸に対して操作力を付与するものであり、一対の前記シムが、前記操作部の操作に伴って前記軸線方向の外側に移動することで、前記支持凹部から前記回動軸が抜け出して前記回動軸と前記ボックス本体との連結状態が解除されるように構成されたコンソールボックスであって、一対の前記シムベゼルの外面には、規制凸部が形成されており、前記ボックス本体には、前記リッド本体の開度が前記全開位置よりも開き側に変化する際、前記規制凸部と当接することで前記シムベゼルの回転を規制する一方、前記規制凸部を介して所定値以上の荷重が印加される際には、弾性変形することによって前記シムベゼルが回転することを許容する弾性部材が設けられている、コンソールボックス。
【0010】
上記構成によれば、リッド本体の開度が全開位置にあるとき、当該開度が全開位置よりも開き側に変化する、所謂リッド本体の過開きが生じると、リッド側規制部により嵌合部の規制面が押圧されることで、シム及びシムベゼルがボックス本体に対して回転する。
(【0011】以降は省略されています)
特許ウォッチbot のツイートを見る
この特許をJ-PlatPat(特許庁公式サイト)で参照する
関連特許
豊田合成株式会社
殺菌装置
21日前
豊田合成株式会社
発光素子
1か月前
豊田合成株式会社
表示装置
1か月前
豊田合成株式会社
操作装置
1か月前
豊田合成株式会社
着座装置
23日前
豊田合成株式会社
ガラスラン
7日前
豊田合成株式会社
半導体素子
29日前
豊田合成株式会社
ガラスラン
14日前
豊田合成株式会社
ガラスラン
7日前
豊田合成株式会社
車両用内装品
9日前
豊田合成株式会社
車両用内装品
9日前
豊田合成株式会社
乗員保護装置
7日前
豊田合成株式会社
樹脂成形装置
15日前
豊田合成株式会社
流体殺菌装置
21日前
豊田合成株式会社
流体殺菌装置
21日前
豊田合成株式会社
車両用外装品
1か月前
豊田合成株式会社
車両用外装品
1か月前
豊田合成株式会社
車両用外装品
7日前
豊田合成株式会社
車載照明装置
1か月前
豊田合成株式会社
機器制御装置
7日前
豊田合成株式会社
流体殺菌装置
1か月前
豊田合成株式会社
乗員保護装置
1日前
豊田合成株式会社
流体殺菌装置
1か月前
豊田合成株式会社
流体殺菌装置
1か月前
豊田合成株式会社
電動液体ポンプ
7日前
豊田合成株式会社
空調用レジスタ
8日前
豊田合成株式会社
エアバッグ装置
1日前
豊田合成株式会社
空調用レジスタ
8日前
豊田合成株式会社
空調用レジスタ
8日前
豊田合成株式会社
電動液体ポンプ
7日前
豊田合成株式会社
立体エアバッグ
22日前
豊田合成株式会社
車両の前部構造
1か月前
豊田合成株式会社
ミスト噴射装置
1か月前
豊田合成株式会社
電動液体ポンプ
7日前
豊田合成株式会社
電動液体ポンプ
7日前
豊田合成株式会社
電動液体ポンプ
7日前
続きを見る
他の特許を見る