TOP
|
特許
|
意匠
|
商標
特許ウォッチ
Twitter
他の特許を見る
公開番号
2025140514
公報種別
公開特許公報(A)
公開日
2025-09-29
出願番号
2024039957
出願日
2024-03-14
発明の名称
ガス漏洩検知システム
出願人
岩谷産業株式会社
代理人
個人
,
個人
,
個人
主分類
G01M
3/00 20060101AFI20250919BHJP(測定;試験)
要約
【課題】被検ガスを吸引する吸引チューブ内に水が溜まっても除去できるように、また水が溜まって吸引チューブを塞がないようにして、速やかで確実なガス漏洩検知が行えるようにする。
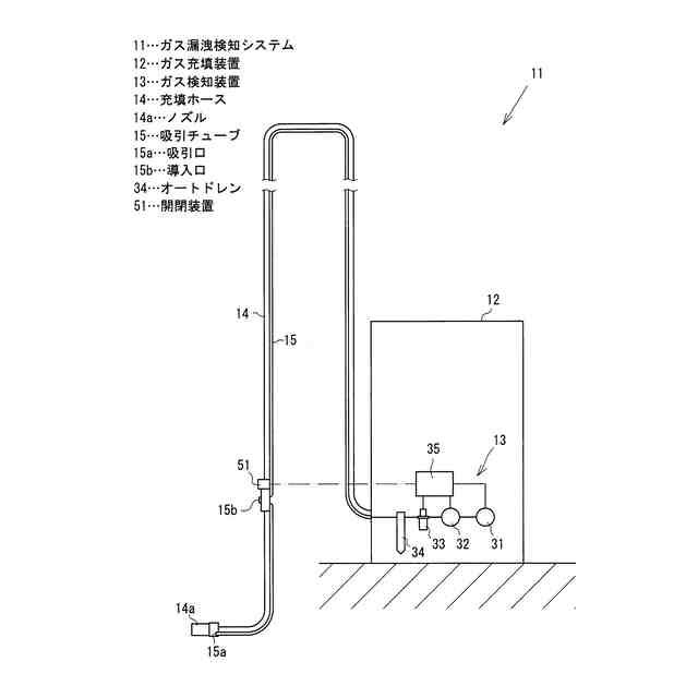
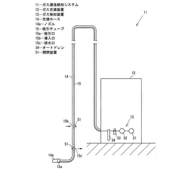
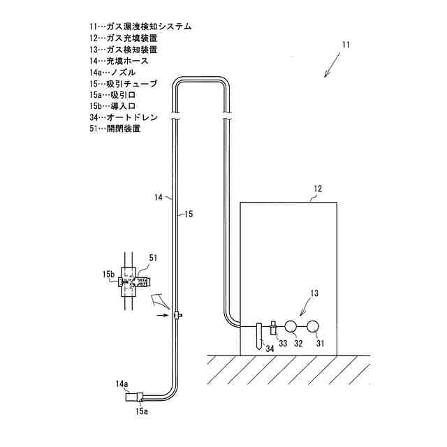
【解決手段】ガス充填装置12に備えられた吸引式のガス検知装置13と、ガス充填装置12の充填ホース14に従属されて被検ガスを導入しガス検知装置13に送る吸引チューブ15を備える。吸引チューブ15の先端の吸引口15aを、充填ホース14の先端のノズル14a部分に保持して、ノズル14a接続部分でのガス漏洩を検知するシステムとする。そして、吸引チューブ15の管壁の少なくとも一部に、吸引口15aから吸引した被検ガスを吸引チューブ15内に通す一方で、外気を導入可能とする導入口15bを形成する。導入口15bからの外気で、吸引チューブ15に浸入して溜まった水を排出する。
【選択図】図1
特許請求の範囲
【請求項1】
ガス充填装置に備えられた吸引式のガス検知装置と、前記ガス充填装置の充填ホースに従属されて被検ガスを導入し前記ガス検知装置に送る吸引チューブを備え、前記吸引チューブの先端の吸引口が前記充填ホースの先端のノズル部分に保持されたガス漏洩検知システムであって、
前記吸引チューブの管壁の少なくとも一部に、前記吸引口から吸引した被検ガスを吸引チューブ内に通す一方で、外気を導入可能とする導入口が形成された
ガス漏洩検知システム。
続きを表示(約 480 文字)
【請求項2】
前記ガス検知装置における前記吸引チューブの後段にオートドレンが設けられた
請求項1に記載のガス漏洩検知システム。
【請求項3】
前記導入口に開閉装置が設けられた
請求項1または請求項2に記載のガス漏洩検知システム。
【請求項4】
前記導入口に補助チューブが設けられ、補助チューブの先端が前記充填ホースの先端のノズル部分に保持された
請求項1または請求項2に記載のガス漏洩検知システム。
【請求項5】
前記吸引チューブにおける前記導入口とは異なる位置に、常態で閉じている排水口が形成された
請求項1または請求項2に記載のガス漏洩検知システム。
【請求項6】
前記ガス検知装置が流量低下検出機能を有するものであり、
前記開閉装置が3ポート電磁弁で構成され、
前記ガス検知装置の制御部において、あらかじめ定められた流量以下となった流量低下が検出されたときに、3ポート電磁弁を開く制御動作を行う
請求項3に記載のガス漏洩検知システム。
発明の詳細な説明
【技術分野】
【0001】
この発明は、たとえば水素ガスなどの燃料ガスを充填するための設備に備えられて充填ノズルの接続部分でのガス漏洩を検知するシステムに関するものである。
続きを表示(約 1,500 文字)
【背景技術】
【0002】
燃料電池自動車に対して水素ガスを充填する水素ステーションでは、ガスの漏洩をいち早く検知するためのガス検知装置が様々な箇所に備えられている。その一つに、ガス充填装置(ディスペンサ)から延びる充填ホースの先端の充填ノズルを充填対象である自動車の充填口に接続した部分での漏洩を検知するものがある。
【0003】
この漏洩検知には、被検ガスをポンプで吸引する吸引式のガス検知装置が使用される。すなわち、この種のガス検知装置は、被検ガスを吸引するための吸引チューブを有しており、吸引チューブ自体は充填ホースに沿わせて保持され、吸引チューブの先端の吸引口が充填ノズル部分に保持されている。充填中などにおいて吸引チューブを通して吸引された被検ガス中の検知対象ガスが所定濃度以上であれば、警報を発することになる。
【0004】
吸引式ガス検知装置は、被検ガスを積極的に吸引するが、ガス検知素子に水滴が付着すると、故障その他の不調の原因になりやすい。このため、吸引された被検ガスから水滴を除去するフィルタが備えられている(下記特許文献1参照)。水蒸気を多量に含んだ被検ガス中の水分を除去するドレン除去装置を備えたものも提案されている(下記特許文献2参照)。
【0005】
このように正確な検知のための対策がなされている。しかし、燃料電池自動車用の水素ステーションとは異なり、たとえば港湾や工事現場などのように水と接しやすい屋外であって、さらにガス充填装置と充填先との間に高低差のある場所で充填する場合には、吸引チューブに水が浸入して溜まってしまう可能性が考えられる。溜まった水の量が多く、まとまってしまうと、水が吸引チューブ内で柱状になって、ガス検知装置の吸引ポンプでは吸引されない栓となってしまう事態が発生する。この場合には、警報を発するべき状態にあったとしても、検知できないことになる。
【先行技術文献】
【特許文献】
【0006】
特開2002-52306号公報
特公平8-7118号公報
【発明の概要】
【発明が解決しようとする課題】
【0007】
この発明は、吸引チューブ内に水が溜まっても除去できるように、また水が溜まって吸引チューブを塞がないようにして、速やかで確実なガス漏洩検知が行えるようにすることを主な課題とする。
【課題を解決するための手段】
【0008】
そのために、この発明は、ガス充填装置に備えられた吸引式のガス検知装置と、ガス充填装置の充填ホースに従属されて被検ガスをガス検知装置に送る吸引チューブを備えて、吸引チューブの吸引口を充填ホース先端のノズル部分に保持したガス漏洩検知システムにおいて、次の構成を採用する。
【0009】
すなわち、吸引チューブの管壁の少なくとも一部に、吸引口から吸引した被検ガスを吸引チューブ内に通す一方で、外気を導入可能とする導入口を形成する。導入口には、導入口を開閉させて必要時にのみ外気を導入する構成とするものと、導入口を延ばして外気のうちの被検ガスを常時導入する構成とするものがある。
【0010】
この構成では、導入口を開いて外気を導入する場合には、吸引チューブ内に溜まった水のまとまりを分断して、吸引され、また流下して排出されることを促す。導入口から常時外気を導入する場合には、導入口近傍の被検ガスの流れを維持し、吸引不可能な量の水が溜まることを防止する。
【発明の効果】
(【0011】以降は省略されています)
この特許をJ-PlatPat(特許庁公式サイト)で参照する
関連特許
岩谷産業株式会社
炎観賞装置
1か月前
岩谷産業株式会社
燃料ガス充填設備
2日前
岩谷産業株式会社
重水素の製造設備
4か月前
岩谷産業株式会社
ガス漏洩検知システム
2日前
岩谷産業株式会社
銅触媒による立体特異的シアノ化反応
14日前
三菱重工業株式会社
水素供給システムおよび方法
2日前
岩谷産業株式会社
管状細胞構造体の凍結保存方法、凍結保存具および凍結体
2日前
岩谷産業株式会社
空気分離装置、ならびに、液化酸素および液化窒素の製造方法
1か月前
国立大学法人大阪大学
メタネーションのための触媒およびメタンを製造する方法
5か月前
個人
計量スプーン
22日前
個人
微小振動検出装置
1か月前
株式会社イシダ
X線検査装置
1か月前
日本精機株式会社
位置検出装置
今日
日本精機株式会社
位置検出装置
今日
日本精機株式会社
位置検出装置
今日
大和製衡株式会社
組合せ秤
5日前
大和製衡株式会社
組合せ秤
5日前
株式会社辰巳菱機
システム
1か月前
アンリツ株式会社
分光器
28日前
株式会社東芝
センサ
5日前
株式会社東芝
センサ
5日前
株式会社東芝
センサ
1か月前
アンリツ株式会社
分光器
28日前
株式会社ユーシン
操作検出装置
2日前
ダイハツ工業株式会社
測定用具
26日前
トヨタ自動車株式会社
表示装置
14日前
トヨタ自動車株式会社
検査装置
2日前
TDK株式会社
ガスセンサ
1か月前
株式会社カワタ
サンプリング装置
1か月前
学校法人立命館
液面レベルセンサ
1か月前
日本精工株式会社
分注装置
1か月前
TDK株式会社
磁気センサ
29日前
株式会社精工技研
光電圧プローブ
1か月前
株式会社ヨコオ
コンタクタ
26日前
個人
粘塑性を用いた有限要素法の定式化
14日前
株式会社ナリス化粧品
角層細胞採取用具
12日前
続きを見る
他の特許を見る