TOP
|
特許
|
意匠
|
商標
特許ウォッチ
Twitter
他の特許を見る
10個以上の画像は省略されています。
公開番号
2025140565
公報種別
公開特許公報(A)
公開日
2025-09-29
出願番号
2024040045
出願日
2024-03-14
発明の名称
印刷制御装置、印刷制御方法およびプログラム
出願人
キヤノン株式会社
代理人
個人
,
個人
,
個人
,
個人
,
個人
主分類
G06F
3/12 20060101AFI20250919BHJP(計算;計数)
要約
【課題】 ユーザーにより好適なお気に入り設定を提供する。
【解決手段】 本発明の一態様のアプリケーションのプログラムは、複数のメーカーが提供する印刷装置で印刷可能な印刷データを生成するソフトウェアの機能をサポートするアプリケーションのプログラムであって、コンピュータに、印刷設定項目の設定値の組を保存させ、前記組を選択可能な印刷設定画面を表示させ、ユーザーから前記組の選択を受け付けさせ、前記印刷設定画面において、前記選択された前記組に含まれる印刷設定項目の設定値を選択された状態にさせ、前記組は、前記組に含まれる印刷設定項目の設定値に前記印刷設定画面に関連付けられた印刷装置で実行できない設定値を含む場合と含まない場合とで異なる表示方法で前記印刷設定画面に表示されることを特徴とする。
【選択図】 図11
特許請求の範囲
【請求項1】
複数のメーカーが提供する印刷装置で印刷可能な印刷データを生成するソフトウェアの機能をサポートするアプリケーションのプログラムであって、
コンピュータに、
印刷設定項目の設定値の組を保存させ、
前記組を選択可能な印刷設定画面を表示させ、
ユーザーから前記組の選択を受け付けさせ、
前記印刷設定画面において、前記選択された前記組に含まれる印刷設定項目の設定値を選択された状態にさせ、
前記組は、前記組に含まれる印刷設定項目の設定値に前記印刷設定画面に関連付けられた印刷装置で実行できない設定値を含む場合と含まない場合とで異なる表示方法で前記印刷設定画面に表示されることを特徴とするプログラム。
続きを表示(約 1,000 文字)
【請求項2】
前記印刷設定画面に前記組の名称を表示させ、
前記組に含まれる印刷設定項目の設定値に前記印刷設定画面に関連付けられた印刷装置で実行できない設定値を含むことを通知するオブジェクトを、前記組の名称に付与することで、前記印刷設定画面における前記組の表示方法を異ならせることを特徴とする請求項1に記載のプログラム。
【請求項3】
前記印刷設定画面に前記組の名称を表示させ、
前記組の名称の背景色を異ならせることで前記印刷設定画面における前記組の表示方法を異ならせることを特徴とする請求項1に記載のプログラム。
【請求項4】
前記印刷設定画面における設定内容を、前記組として前記保存させることを特徴とする請求項1に記載のプログラム。
【請求項5】
前記印刷設定画面に関連付けられた印刷装置の種別と対応付けて、前記組を前記保存させることを特徴とする請求項1に記載のプログラム。
【請求項6】
前記印刷設定画面に関連付けられた印刷装置の種別と、前記組に対応付けられた種別とがと異なる場合、前記印刷設定画面における前記組の表示方法を異ならせることを特徴とする請求項5に記載のプログラム。
【請求項7】
前記印刷設定画面に関連付けられた印刷装置の名称と対応付けて、前記組を前記保存させることを特徴とする請求項1に記載のプログラム。
【請求項8】
前記組を前記保存させる指示を受け付けるボタンを前記印刷設定画面に表示させ、
前記ボタンが押下されたことに応じて、前記組の名称を受け付けさせる画面を表示させ、
前記ボタンが押下されたときの前記印刷設定画面における設定値の内容を、前記名称と対応付けて前記組として前記保存させることを特徴とする請求項1に記載のプログラム。
【請求項9】
前記印刷設定画面に関連付けられた印刷装置で実行できない設定値を前記選択された前記組が含むとき、当該実行できない設定値が属する設定項目の初期値を選択された状態にさせることを特徴とする請求項1に記載のプログラム。
【請求項10】
印刷装置ごとに利用可能とする前記組の情報を保存させ、
前記印刷設定画面に関連付けられた印刷装置で利用可能とされている前記組を選択可能に前記印刷設定画面に表示することを特徴とする請求項1に記載のプログラム。
(【請求項11】以降は省略されています)
発明の詳細な説明
【技術分野】
【0001】
本発明は、印刷制御装置、その印刷制御方法、及びプログラムに関する。
続きを表示(約 1,600 文字)
【背景技術】
【0002】
印刷装置の制御用ソフトウェアとしてホストコンピュータにインストールされたプリンタドライバを利用し、ホストコンピュータに接続された印刷装置に対して印刷指示を行う構成が知られている。ホストコンピュータには、基本ソフトウェアであるオペレーティングシステム(OS)がインストールされており、プリンタドライバはそのOSの規定する仕様に従って構成され、OSから呼び出されて動作する。印刷装置を提供するベンダは、OSの仕様に適合するプリンタドライバを提供することにより、そのOSを用いて印刷装置に印刷を指示する手段を提供することができる。
【0003】
近年、Windows(登録商標)において、複数のベンダの提供する印刷装置で共通して利用可能な標準的なクラスドライバ(以下、「標準ドライバ」とも呼ぶ)が提供されている。このような標準ドライバは、OSのパッケージの中に同梱されており、ホストコンピュータに任意の印刷装置を接続することにより簡易に利用可能となる。よって、印刷装置に適した機種固有のプリンタドライバを別途インストールする必要が無く、利便性が高い。
【0004】
また、標準ドライバは、接続した印刷装置から取得した情報に基づき生成されたPrintCapabilitiesに応じて印刷機能を指定可能に構成される。これにより、標準ドライバを利用するユーザーは、1つの標準ドライバを利用しているにも関わらず、接続した印刷装置の能力に応じた印刷機能を指定することができる。
【0005】
標準ドライバには機能を拡張ないしサポートするアプリケーション(以下、「拡張アプリケーション」とも呼ぶ)を関連付けることができる。拡張アプリケーションは、印刷装置を提供するベンダが提供することができる。ベンダ(メーカー)はこの拡張アプリケーションを提供することにより、標準ドライバのみでは実現できない機能(拡張機能)を提供することができる。
【0006】
特許文献1には、複数の印刷設定画面にて印刷設定の組み合わせを保存したお気に入り設定を共有する技術が開示されている。ここで、特許文献1に記載された共有手法は同一の印刷装置における共有手法であり、異なる印刷装置間でお気に入り設定を共有できるものではない。
【先行技術文献】
【特許文献】
【0007】
特開2015-176354号公報
【発明の概要】
【発明が解決しようとする課題】
【0008】
本発明は、複数の印刷装置で印刷可能な印刷データを生成する標準ドライバの機能を拡張・サポートするアプリケーションにより、ユーザーにより好適なお気に入り設定を提供することを目的とする。
【課題を解決するための手段】
【0009】
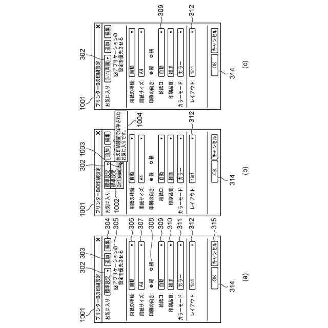
本発明の一態様のアプリケーションのプログラムは、複数のメーカーが提供する印刷装置で印刷可能な印刷データを生成するソフトウェアの機能をサポートするアプリケーションのプログラムであって、コンピュータに、印刷設定項目の設定値の組を保存させ、前記組を選択可能な印刷設定画面を表示させ、ユーザーから前記組の選択を受け付けさせ、前記印刷設定画面において、前記選択された前記組に含まれる印刷設定項目の設定値を選択された状態にさせ、前記組は、前記組に含まれる印刷設定項目の設定値に前記印刷設定画面に関連付けられた印刷装置で実行できない設定値を含む場合と含まない場合とで異なる表示方法で前記印刷設定画面に表示されることを特徴とする。
【発明の効果】
【0010】
本発明の一態様により、拡張アプリケーションにてお気に入り設定を提供し、ユーザビリティを向上することができる。
【図面の簡単な説明】
(【0011】以降は省略されています)
この特許をJ-PlatPat(特許庁公式サイト)で参照する
関連特許
キヤノン株式会社
トナー
6日前
キヤノン株式会社
トナー
6日前
キヤノン株式会社
トナー
6日前
キヤノン株式会社
トナー
11日前
キヤノン株式会社
撮像装置
11日前
キヤノン株式会社
定着装置
5日前
キヤノン株式会社
記録装置
4日前
キヤノン株式会社
撮像装置
7日前
キヤノン株式会社
現像装置
4日前
キヤノン株式会社
現像容器
4日前
キヤノン株式会社
撮影装置
4日前
キヤノン株式会社
現像装置
4日前
キヤノン株式会社
記録装置
11日前
キヤノン株式会社
現像容器
4日前
キヤノン株式会社
現像剤容器
12日前
キヤノン株式会社
モジュール
6日前
キヤノン株式会社
光学センサ
6日前
キヤノン株式会社
情報処理装置
4日前
キヤノン株式会社
カートリッジ
4日前
キヤノン株式会社
画像形成装置
5日前
キヤノン株式会社
画像形成装置
今日
キヤノン株式会社
画像処理装置
4日前
キヤノン株式会社
画像形成装置
5日前
キヤノン株式会社
画像形成装置
5日前
キヤノン株式会社
画像処理装置
12日前
キヤノン株式会社
画像形成装置
4日前
キヤノン株式会社
画像形成装置
4日前
キヤノン株式会社
画像形成装置
4日前
キヤノン株式会社
画像形成装置
4日前
キヤノン株式会社
カートリッジ
4日前
キヤノン株式会社
画像形成装置
12日前
キヤノン株式会社
映像表示装置
6日前
キヤノン株式会社
画像形成装置
7日前
キヤノン株式会社
画像形成装置
12日前
キヤノン株式会社
画像表示装置
11日前
キヤノン株式会社
吐出素子基板
11日前
続きを見る
他の特許を見る