TOP
|
特許
|
意匠
|
商標
特許ウォッチ
Twitter
他の特許を見る
10個以上の画像は省略されています。
公開番号
2025140678
公報種別
公開特許公報(A)
公開日
2025-09-29
出願番号
2024040212
出願日
2024-03-14
発明の名称
伝送線路の交差構造とそれを備えるバトラーマトリクス
出願人
アンリツ株式会社
代理人
弁理士法人有我国際特許事務所
主分類
H01P
5/12 20060101AFI20250919BHJP(基本的電気素子)
要約
【課題】多層基板全体の厚さを抑えるとともに、アイソレーションを良好に保った状態で交差部を構成できる伝送線路の交差構造とそれを備えるバトラーマトリクスを提供する。
【解決手段】伝送線路の交差構造は、第1のストリップ導体と第2のストリップ導体とが交差する交差部23において、第2の接地導体部15、第3の接地導体部17、及び貫通スルーホール部25により形成された空間に第3の誘電体層16が充填されてなる4つの方形導波管29が形成され、各方形導波管29の遮断周波数が使用周波数帯域の最大周波数よりも高いことを特徴とする。
【選択図】図3
特許請求の範囲
【請求項1】
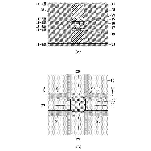
第1の接地導体部(11)と、
第1の誘電体層(12)を介して前記第1の接地導体部の少なくとも一部の下方の層(L1-2,L2-1)に設けられた第1のストリップ導体(13)と、
第2の誘電体層(14)を介して前記第1のストリップ導体の下方に設けられた第2の接地導体部(15)と、
第3の誘電体層(16)を介して前記第2の接地導体部の下方に設けられた第3の接地導体部(17)と、
第4の誘電体層(18)を介して前記第3の接地導体部の下方の層(L1-5,L2-4)に設けられた第2のストリップ導体(19)と、
第5の誘電体層(20)を介して少なくとも一部が前記第2のストリップ導体の下方に設けられた第4の接地導体部(21)と、
前記第1の接地導体部、前記第2の接地導体部、前記第3の接地導体部、及び、前記第4の接地導体部を、少なくとも前記第3の誘電体層を貫通して導電接続する導電接続部(25)と、を備え、
前記第1のストリップ導体及び前記第2のストリップ導体により、所定の使用周波数帯域の信号を伝送する伝送線路(1,2)の交差構造であって、
前記第1のストリップ導体と前記第2のストリップ導体とが交差する交差部(23)において、前記第2の接地導体部、前記第3の接地導体部、及び前記導電接続部により形成された空間に前記第3の誘電体層が充填されてなる4つの導波管(29)が形成され、
各前記導波管の遮断周波数が前記使用周波数帯域の最大周波数よりも高いことを特徴とする伝送線路の交差構造。
続きを表示(約 720 文字)
【請求項2】
前記交差部における前記第1のストリップ導体及び前記第2のストリップ導体の幅は、前記第1のストリップ導体及び前記第2のストリップ導体の前記交差部以外の箇所の幅よりも狭く、
前記交差部における前記第1の誘電体層の前記第1のストリップ導体に対向する箇所の厚さは、前記交差部以外における前記第1の誘電体層の前記第1のストリップ導体に対向する箇所以外の厚さよりも薄く、
前記交差部における前記第5の誘電体層の前記第2のストリップ導体に対向する箇所の厚さは、前記交差部以外における前記第5の誘電体層の前記第2のストリップ導体に対向する箇所以外の厚さよりも薄いことを特徴とする請求項1に記載の伝送線路の交差構造。
【請求項3】
前記第1の誘電体層及び前記第5の誘電体層が空気層であることを特徴とする請求項1又は請求項2に記載の伝送線路の交差構造。
【請求項4】
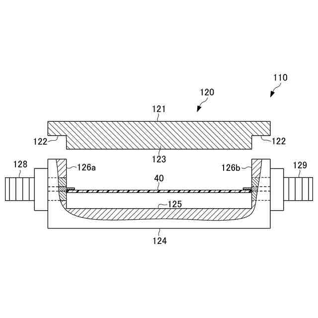
前記第1のストリップ導体、前記第2の誘電体層、前記第2の接地導体部、前記第3の誘電体層、前記第3の接地導体部、前記第4の誘電体層、及び前記第2のストリップ導体からなる多層基板(40)を収容する金属筐体(120)を更に備え、
前記第1の接地導体部及び前記第4の接地導体部は、前記金属筐体の一部からなることを特徴とする請求項3に記載の伝送線路の交差構造。
【請求項5】
前記使用周波数帯域は、600MHz~7.125GHzであることを特徴とする請求項1又は請求項2に記載の伝送線路の交差構造。
【請求項6】
請求項1又は請求項2の伝送線路の交差構造を備えるバトラーマトリクス。
発明の詳細な説明
【技術分野】
【0001】
本発明は、伝送線路の交差構造とそれを備えるバトラーマトリクスに関し、特に、5G無線通信システムの周波数帯域用の伝送線路の交差構造とそれを備えるバトラーマトリクスに関する。
続きを表示(約 1,500 文字)
【背景技術】
【0002】
5G無線通信システムに用いられる無線通信端末(User Equipment:UE)は、複数のアンテナが装荷されており、それらの複数のアンテナを同時に用いたMIMO(Multiple Input Multiple Output)と呼ばれる通信技術を使用している。さらに、上記のUEは、複数の周波数の信号を同時に送受信することで最大伝送容量を増加させる技術も使用している。このようなUEを試験する際には、測定システムから複数のアンテナに任意の信号を入力する必要があるため、試験のたびに各アンテナへの接続ケーブルを接続しなおす必要がある。このような接続の作業を省いて試験を簡易に行うために、バトラーマトリクス(Butler matrix)を用いた分配回路を用いる方法が知られている。
【0003】
バトラーマトリクスの実現法は複数存在する。特許文献1には、2つの4×4バトラーマトリクスをグランド層を挟んだ両側の層に形成し、一方の層の4×4バトラーマトリクスのハイブリッド回路と、他方の層の4×4バトラーマトリクスのハイブリッド回路とをスルーホールで接続した構造が開示されている。
【0004】
非特許文献1には、ストリップ線路を用いたハイブリッド回路が開示されている。非特許文献1に開示されたハイブリッド回路は、1つの入力信号を互いに90度の位相差を有する2つの出力信号に分配する3dB直交ハイブリッドカプラである。
【先行技術文献】
【特許文献】
【0005】
特開2020-92377号公報
【非特許文献】
【0006】
F. FARZANEH, et al., "Broadside Coupler Channels 1 To 10 GHz", Microwaves&RF magazine, pp.68-77, Jan. 2012
【発明の概要】
【発明が解決しようとする課題】
【0007】
バトラーマトリクスの実現には、特許文献1の課題でも示されるように、クロスオーバーをいかに作製するかという課題がある。特許文献1では、基板を多層化しスルーホールによって層間を接続することでその課題を解決している。
【0008】
しかしながら、特許文献1では、ハイブリッド回路の作製法が示されていないため、例えば非特許文献1のようなハイブリッド回路の構成を採用する場合、どのような層構成を取ってバトラーマトリクスのクロスオーバーを構成するべきかが明確ではない。
【0009】
例えば、非特許文献1に開示されたような層の異なる2本のストリップ導体を用いた構造でクロスオーバーを作製する方法としては、図10のような構成が一般的である。L3層及びL4層がストリップ線路のストリップ導体であり、L2層及びL5層がストリップ線路のグランド層である。
【0010】
L3層のストリップ導体は、L4層のストリップ導体と交差する部分でL1層のマイクロストリップ線路のストリップ導体までスルーホールを通して接続され、L1層のストリップ導体は、L4層のストリップ導体を通過した部分で、先と同様にスルーホールを通してL3層に接続される。このようにすることで、L3層のストリップ導体とL4層のストリップ導体とのアイソレーションを保った状態でクロスオーバーを作製できる。
(【0011】以降は省略されています)
この特許をJ-PlatPat(特許庁公式サイト)で参照する
関連特許
アンリツ株式会社
計量装置
13日前
アンリツ株式会社
物品検査装置
5日前
アンリツ株式会社
測定システム
12日前
アンリツ株式会社
測定装置および測定方法
8日前
アンリツ株式会社
測定装置および測定方法
8日前
アンリツ株式会社
X線管及びX線検査装置
14日前
アンリツ株式会社
分光器の校正装置及び校正方法
5日前
アンリツ株式会社
信号発生装置及び信号発生方法
6日前
アンリツ株式会社
予知保全装置及び予知保全方法
12日前
アンリツ株式会社
物品検査装置およびその校正方法
5日前
アンリツ株式会社
真空管、X線管及びX線検査装置
14日前
アンリツ株式会社
誤り率測定装置及び誤り率測定方法
6日前
アンリツ株式会社
測定装置と測定システムとその測定方法
8日前
アンリツ株式会社
ネットワーク測定装置とその遅延時間補正方法
5日前
アンリツ株式会社
信号発生装置および信号発生装置が実行する信号発生方法
6日前
日本発條株式会社
積層体
16日前
個人
フレキシブル電気化学素子
5日前
日新イオン機器株式会社
イオン源
1日前
株式会社ユーシン
操作装置
5日前
ローム株式会社
半導体装置
7日前
ローム株式会社
半導体装置
14日前
ローム株式会社
半導体装置
14日前
ローム株式会社
半導体装置
14日前
ローム株式会社
半導体装置
12日前
株式会社GSユアサ
蓄電設備
5日前
太陽誘電株式会社
コイル部品
5日前
個人
半導体パッケージ用ガラス基板
15日前
オムロン株式会社
電磁継電器
6日前
株式会社GSユアサ
蓄電装置
12日前
株式会社GSユアサ
蓄電設備
5日前
株式会社ホロン
冷陰極電子源
12日前
太陽誘電株式会社
全固体電池
12日前
株式会社GSユアサ
蓄電装置
16日前
日本特殊陶業株式会社
保持装置
16日前
TDK株式会社
電子部品
12日前
トヨタ自動車株式会社
蓄電装置
5日前
続きを見る
他の特許を見る